Вернуться на главную
Поиск
Каталоги запчастей к технике
Спецтехника
Shantui
Каток SR18
BATTERY BOX RIGHT
Каталог запасных частей к технике: Shantui Каток SR18. BATTERY BOX RIGHT
zoom-in
zoom-out
enlarge
shrink
circle-right
circle-left
file-text2
info
cart
Тип техники
Не выбрано
Легковые автомобили
Грузовые автомобили и прицепы
Автобусы
Сельхозтехника
Спецтехника
Двигатели
Мототехника
Марка
Не выбрано
Ammann
BOMAG
CARMIX
CASE IH
Changlin
ChengGong
Dimex
Doosan
DYNAPAC
Foton
HAMM
Hidromek
Hitachi
Hyundai
JCB
JLG
John Deere
Komatsu
LIEBHERR
LiuGong
Lonking (LongGong)
Luneng
MANITOU
Mitsuber
New Holland
PENGPU
RM-Terex
SANY
SDLG
SEM
Shantui
Shehwa HBXG
Soosan
TIGARBO
VOGELE
Volvo
WAY
WIRTGEN
XCMG
XGMA
Xiamen
YTO
Yuchai
Zoomlion
Автокран
АЗСМ
Алтайлесмаш
Амкодор
АОМЗ
Атек
АТЗ
Балканкар Рекорд
БелАЗ
Беловеж
Борекс
Брянский Арсенал
Булат
ВЭКС
ГАЗ
Геомаш
Гидромаш
Донекс
Дормаш
Дормашина
Дорэлектромаш
ДЭЗ
ЕлАЗ
ЗЗГТ
Ижнефтемаш
Канаш-электрокар
КЗКТ
ККЗ
Клевер
Клинцовский автокрановый завод
КМЗ
КМЗ 1 Мая
Ковровец
Коммаш
Кранэкс
КЭЗ
КЭМЗ
ЛЗА
МАЗ
МЗИК
МЗКМ
МЗКТ
Михневский РМЗ
МоАЗ
Мозырский МЗ
МТЗ
ОЗП
Онежец
ПАО "ТЗА"
ППС Детва
Промтрактор
ПТЗ
Раскат
СпецАгрегат
ТВЭКС
ТТМ
УВЗ
Угличмаш
УЗТМ
ХТЗ
ЧЗКМ
ЧСДМ
ЧТЗ
ЭКСКО
ЭКСМАШ
ЮрМаш
Модель
Не выбрано
SD16 (2010)
SD16 (вариант) (2014)
SD16E (2010)
SD16L (2010)
SD22 (вариант) (2013)
SD32 (вариант) (2011)
Shantui SD10YE (2015)
Shantui SD16 (2008)
Shantui SD22 (2008)
Shantui SD23 (2003)
Shantui SD23 (вариант) (2013)
Shantui SD32 (2005)
Shantui SD42-3 (2008)
Shantui SG16-3 (2014)
Shantui SG18-3 (2014)
SL-30W (2010)
SL-50W (2013)
Каток SR12-5 (2013)
Каток SR14M-2 (2012)
Каток SR16 (2014)
Каток SR18 (2011)
Каток SR18M (2010)
Каток SR20M (2014)
Погрузчик SF15, SF18 (2010)
Погрузчик SF30 (2013)
Погрузчик SF45T (2013)
Погрузчик SF50/SF60/SF70 (2013)
Погрузчик вил. 2-2.5t (2010)
Схема
>
Не выбрано
ENGINE MOUNTING AND ATTACHMENT
COOLING SYSTEM
FUEL TANK AND PIPING
ACCELEROGRAPH CONTROLS
DRIVING AXLE ASSY
GEAR SHIFT CONTROL ASSY
DRUM WHEEL
MAIN FRAME
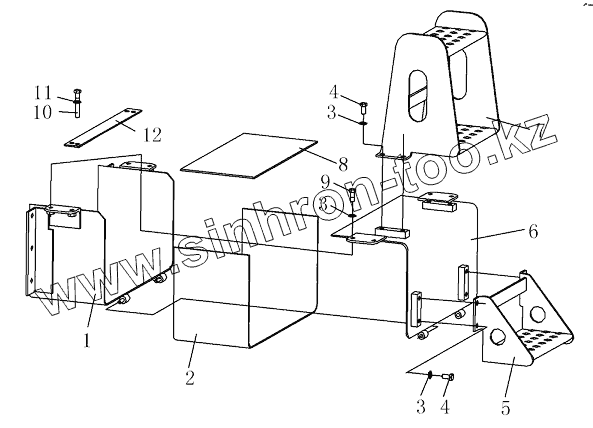
BATTERY BOX RIGHT
BATTERY BOX LEFT
FRAME
VIBRATION WHEEL
VIBRATION WHEEL
CRISSCROSS STRAP JOINT ASSEMBLY
OPERATORS SEAT
CAB ASSY
OPERATORS SEAT
HOOD ASSY
FRAME, FLOOR PLATE ASSY
CAB SHED ASSEMBLY
HOLDER
HYDRAUMATIC SYSTEM OF SHIFT GEARS
HYDRAUMATIC SYSTEM OF VIBRATION
HYDRAUMATIC SYSTEM OF TRACTION
PRESSTURE TEST
HYDRAUMATIC SYSTEM OF TURNING
STEERING CYLINDER
ELECTRICAL SYSTEM
ELECTRICAL SYSTEM
ELECTRICAL SYSTEM
METER BOX ASSY
METER BOX ASSY
CAB ELECTRICAL
AIR CONDITIONER ASSY
PROJECTION WHEEL
LABEL PLATE LAYOUT AND COATING
LABEL PLATE LAYOUT AND COATING (FOR EXPORT)
1
2
3
3
3
4
4
5
6
7
8
9
10
11
12
Позиция на иллюстрации
Заводской номер детали
Название детали
1
263-30-03200
Ark
2
263-30-02001
Rubber
3
01643-31232
Шайба
4
01010-51225
Болт
5
263-30-02400
Ladder
6
263-30-03100
Ark cover
7
263-30-02300
Ladder
8
263-30-02003
Rubber
9
01010-51230
Болт
10
263-20-02500
Connecting rod
11
01643-31032
Шайба
12
263-30-02600
Plate
Содержащиеся в справочниках-каталогах запасные части и детали не предлагаются к продаже, а носят исключительно информационный характер
Дополнительная информация
×
Название:
Номер:
Примечание: