Каталог запасных частей к технике: Shantui Каток SR14M-2. HYDRAUMATIC SYSTEM OF VIBRATION
1
2
3
4
4
4
5
5
5
6
6
6
7
7
7
8
8
9
9
10
10
11
11
12
13
14
15
16
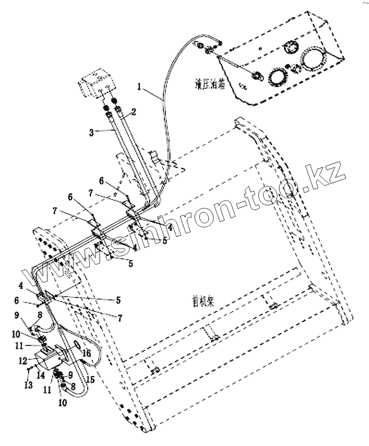
| Позиция на иллюстрации | Заводской номер детали | Название детали | |
|---|---|---|---|
| 1 | 243-65-03000 | Hose assy | |
| 2 | 243-65-04000 | Hose assy | |
| 3 | 243-65-05000 | Hose assy | |
| 4 | 244-65-00009 | Plate | |
| 5 | 01580-11008 | Гайка | |
| 6 | 01010-51085 | Болт | |
| 7 | 244-64-00005 | Plate | |
| 8 | 01010-51035 | Болт | |
| 9 | 01643-31032 | Шайба | |
| 10 | 253-65-00004 | Flange | |
| 11 | 07000-13038 | Кольцо | |
| 12 | 253-65-10000 | Motor | |
| 13 | 01010-51240 | Болт | |
| 14 | 01643-31232 | Шайба | |
| 15 | 253-65-00005 | Adapter | |
| 16 | 07000-12125 | O-ring |
Содержащиеся в справочниках-каталогах запасные части и детали не предлагаются к продаже, а носят исключительно информационный характер