Каталог запасных частей к технике: Shantui Каток SR14M-2. FUEL TANK AND PIPING
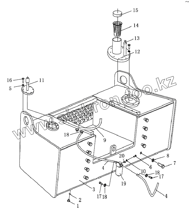
1
2
3
4
4
5
6
7
8
9
10
11
12
13
14
15
16
17
17
18
18
18
19
20
| Позиция на иллюстрации | Заводской номер детали | Название детали | |
|---|---|---|---|
| 1 | 07044-12412 | Заглушка | |
| 2 | 07002-02434 | Кольцо | |
| 3 | 243-04-02000 | Fuel tank | |
| 4 | 243-04-04000 | Seat | |
| 5 | 01643-30823 | Шайба | |
| 6 | 01010-51235 | Болт | |
| 7 | 01010-52470 | Bolt | |
| 8 | 01643-32460 | Уплотнительная шайба | |
| 9 | 263-04-10000 | Oil tube | |
| 10 | 01643-31232 | Шайба | |
| 11 | 243-04-03000 | Air breather | |
| 12 | 263-04-03000 | Bracket | |
| 13 | 263-04-00001 | Dipstick | |
| 14 | 07056-18416 | Фильтровальная сетка | |
| 15 | 16Y-04C-02000 | Cap fuel tank | |
| 16 | 01010-50825 | Болт | |
| 17 | 07005-01412 | Герметичная шайба | |
| 18 | 07206-31014 | Bolt | |
| 19 | 263-04-12000 | Filter | |
| 20 | 01580-01210 | Гайка |
Содержащиеся в справочниках-каталогах запасные части и детали не предлагаются к продаже, а носят исключительно информационный характер