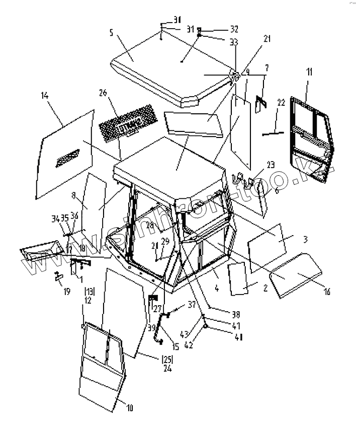
Каталог запасных частей к технике: Shantui Каток SR14M-2. CAB ASSY
1
2
3
4
5
6
7
8
9
10
11
12
13
14
15
16
17
18
19
20
21
21
22
23
24
25
26
27
28
29
30
31
32
33
34
35
36
37
38
39
41
41
42
43
| Позиция на иллюстрации | Заводской номер детали | Название детали | |
|---|---|---|---|
| 1 | 273-56-01000 | Rearview mirror | |
| 2 | 273-56-00001 | Glass | |
| 3 | 273-56-00002 | Glass | |
| 4 | 243-56-01000 | Cab frame | |
| 5 | 273-56-03000 | Up-cover | |
| 6 | 273-56-00003 | Glass | |
| 7 | 273-56-04000 | Rearview mirror | |
| 8 | 273-56-00004 | Seal strip | |
| 9 | 273-56-00005 | Seal strip | |
| 10 | 273-56-05000 | Door | |
| 11 | 273-56-06000 | Door | |
| 12 | 273-56-07000 | HINGE | |
| 13 | 274-56-08000 | Plate | |
| 14 | 273-56-00006 | Glass | |
| 15 | 273-56-09000 | Armrest | |
| 16 | 243-56-00001 | Heat-insulation course | |
| 17 | 273-56-00009 | Nylon base | |
| 18 | 273-56-00010 | Nylon base | |
| 19 | 16Y-56C-14000 | Mirror | |
| 20 | 01370-00614 | Bolt | |
| 21 | 273-56-00011 | Heat-insulation course | |
| 22 | 273-56-11000 | Spring | |
| 23 | 222-56-25000 | Pothook | |
| 24 | 273-56-00012 | Seal strip | |
| 25 | 273-56-00013 | Seal strip | |
| 26 | 273-56-12000 | Abat vent | |
| 27 | 273-56-00014 | Limit switch | |
| 28 | 01010-50620 | Bolt | |
| 29 | 01643-30623 | Прокладка | |
| 30 | 01010-51030 | Болт | |
| 31 | 01643-31032 | Шайба | |
| 32 | 04530-01628 | bolt eye | |
| 33 | 01643-31645 | Шайба | |
| 34 | GB67-85M8X25 | Nut | |
| 35 | 01643-30823 | Шайба | |
| 36 | 01546-00812 | Nut | |
| 37 | 01010-50825 | Болт | |
| 38 | 01235-40520 | Bolt | |
| 39 | 01010-50890 | Bolt | |
| 40 | 222-85-00003 | Plug | |
| 41 | 01643-31232 | Шайба | |
| 42 | 01010-51230 | Болт | |
| 43 | 243-56-00002 | Plate |
Содержащиеся в справочниках-каталогах запасные части и детали не предлагаются к продаже, а носят исключительно информационный характер