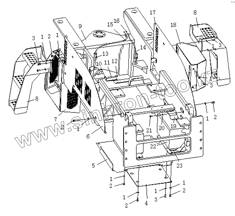
Каталог запасных частей к технике: Shantui Каток SR12-5. MAIN FRAME
1
1
1
1
1
1
1
1
1
1
2
2
2
2
2
2
3
3
3
3
4
5
6
7
8
9
9
10
11
12
13
14
15
16
17
18
19
20
21
22
23
| Позиция на иллюстрации | Заводской номер детали | Название детали | |
|---|---|---|---|
| 1 | 01643-31232 | Шайба | |
| 2 | 01010-51216 | Bolt | |
| 3 | 01010-51230 | Болт | |
| 4 | 242-30-00007 | Guard plate | |
| 5 | 242-30-00001 | Guard plate | |
| 6 | 242-30-00004 | Guard plate | |
| 7 | 242-30-03000 | Box | |
| 8 | 242-30-02000 | Footplate | |
| 9 | 242-30-01000 | Main frame | |
| 10 | 242-30-00003 | Plate | |
| 11 | 01643-31032 | Шайба | |
| 12 | 01010-51016 | Болт | |
| 13 | GB304.1-GE30ES-2RS | Joint bearing | |
| 14 | 263-30-06000 | Tube | |
| 15 | 263-30-05000 | Tube | |
| 16 | 07020-01021 | Масленка | |
| 17 | 242-30-00005 | Guard plate | |
| 18 | 242-30-04000 | Tool box | |
| 19 | 242-30-00006 | Guard | |
| 20 | 01643-30823 | Шайба | |
| 21 | 01010-50812 | Bolt | |
| 22 | 242-30-05000 | Accumulator box | |
| 23 | 242-30-00002 | Rubber washer |
Содержащиеся в справочниках-каталогах запасные части и детали не предлагаются к продаже, а носят исключительно информационный характер