Вернуться на главную
Поиск
Каталоги запчастей к технике
Спецтехника
SEM
SEM656D
E&E System
Каталог запасных частей к технике: SEM656D. E&E System
zoom-in
zoom-out
enlarge
shrink
circle-right
circle-left
file-text2
info
cart
Тип техники
Не выбрано
Легковые автомобили
Грузовые автомобили и прицепы
Автобусы
Сельхозтехника
Спецтехника
Двигатели
Мототехника
Марка
Не выбрано
Ammann
BOMAG
CARMIX
CASE IH
Changlin
ChengGong
Dimex
Doosan
DYNAPAC
Foton
HAMM
Hidromek
Hitachi
Hyundai
JCB
JLG
John Deere
Komatsu
LIEBHERR
LiuGong
Lonking (LongGong)
Luneng
MANITOU
Mitsuber
New Holland
PENGPU
RM-Terex
SANY
SDLG
SEM
Shantui
Shehwa HBXG
Soosan
TIGARBO
VOGELE
Volvo
WAY
WIRTGEN
XCMG
XGMA
Xiamen
YTO
Yuchai
Zoomlion
Автокран
АЗСМ
Алтайлесмаш
Амкодор
АОМЗ
Атек
АТЗ
Балканкар Рекорд
БелАЗ
Беловеж
Борекс
Брянский Арсенал
Булат
ВЭКС
ГАЗ
Геомаш
Гидромаш
Донекс
Дормаш
Дормашина
Дорэлектромаш
ДЭЗ
ЕлАЗ
ЗЗГТ
Ижнефтемаш
Канаш-электрокар
КЗКТ
ККЗ
Клевер
Клинцовский автокрановый завод
КМЗ
КМЗ 1 Мая
Ковровец
Коммаш
Кранэкс
КЭЗ
КЭМЗ
ЛЗА
МАЗ
МЗИК
МЗКМ
МЗКТ
Михневский РМЗ
МоАЗ
Мозырский МЗ
МТЗ
ОЗП
Онежец
ПАО "ТЗА"
ППС Детва
Промтрактор
ПТЗ
Раскат
СпецАгрегат
ТВЭКС
ТТМ
УВЗ
Угличмаш
УЗТМ
ХТЗ
ЧЗКМ
ЧСДМ
ЧТЗ
ЭКСКО
ЭКСМАШ
ЮрМаш
Модель
Не выбрано
SEM616B (2013)
SEM616B (2014)
SEM636D (2013)
SEM636D (2016)
SEM639B (2013)
SEM639C (2011)
SEM650B (2009)
SEM652B (2009)
SEM655D (2015)
SEM656D (2019)
SEM669C
SEM919 (2019)
SEM921 (2019)
Схема
>
Не выбрано
3M3 Standart Bucket As.
3M3 Standart Bucket As.
Powertrain System
Front Axle
Front Axle Reducer And Differential
Differential As.
Front Axle Wheel-end Reducer As.
Rear Axle As.
Rear Axle Main Reducer As.
Differential As.
Rear Axle Wheel-end Reducer As.
Brake Plier As.
Gearbox As.
Gearbox As.
F-R Clutch As.
2-4 Clutch As.
1-3 Clutch As.
Oil Filter Assembly
Block Oil Plate
Torque Converter As.
Tire and Rim
Hydrulic System
Steering Hydraulic System
Steering Cylinder
Pilot Hydrulic System Assembly
Implement Device Hydraulic System Assembly
Tilt Cylinder
Lift Cylinder
Coolng Device Hydraulic System
Coolng Device Hydraulic System
Braking System
Cab Assembly
Cab Assembly
Cab Assembly
Engine Hood As.
Engine Hood As.
Fuel Tank As
Hydraulic Oil Tank
Oil Tank Assembly
Right Operation Seat As.
Speed Shift Operation As.
Left Side Plateform As.
Right Side Plateform As.
Front Mud Guard Assembly
Front Lamp Support
Engine System
Neef Assembly
EEF Assembly
Lift Arm Assembly
Oscilating Assembly
E&E System
E&E System
Washer Assembly
A-C System Assembly
A-C System Assembly
A-C System Assembly
A-C System Assembly
Counterweight As.
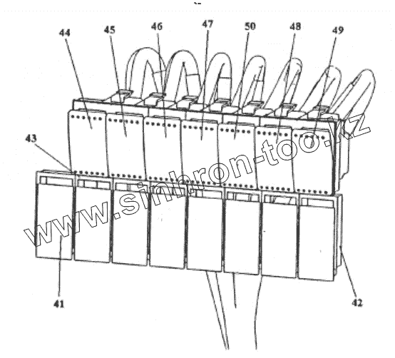
41
42
43
44
45
46
47
49
50
Позиция на иллюстрации
Заводской номер детали
Название детали
41
5190901
Cover
42
5190902
Side bracket
43
5190903
Middle frame
44
5549767
High-low beam sw
45
5252586
Front lamp sw
46
5252587
Rear lamp sw
47
5386556
Meter sw
49
5386557
Turn signal sw
50
5252589
Front wiper sw
Содержащиеся в справочниках-каталогах запасные части и детали не предлагаются к продаже, а носят исключительно информационный характер
Дополнительная информация
×
Название:
Номер:
Примечание: