Вернуться на главную
Поиск
Каталоги запчастей к технике
Спецтехника
SEM
SEM655D
Left floor handrails & ladders
Каталог запасных частей к технике: SEM655D. Left floor handrails & ladders
zoom-in
zoom-out
enlarge
shrink
circle-right
circle-left
file-text2
info
cart
Тип техники
Не выбрано
Легковые автомобили
Грузовые автомобили и прицепы
Автобусы
Сельхозтехника
Спецтехника
Двигатели
Мототехника
Марка
Не выбрано
Ammann
BOMAG
CARMIX
CASE IH
Changlin
ChengGong
Dimex
Doosan
DYNAPAC
Foton
HAMM
Hidromek
Hitachi
Hyundai
JCB
JLG
John Deere
Komatsu
LIEBHERR
LiuGong
Lonking (LongGong)
Luneng
MANITOU
Mitsuber
New Holland
PENGPU
RM-Terex
SANY
SDLG
SEM
Shantui
Shehwa HBXG
Soosan
TIGARBO
VOGELE
Volvo
WAY
WIRTGEN
XCMG
XGMA
Xiamen
YTO
Yuchai
Zoomlion
Автокран
АЗСМ
Алтайлесмаш
Амкодор
АОМЗ
Атек
АТЗ
Балканкар Рекорд
БелАЗ
Беловеж
Борекс
Брянский Арсенал
Булат
ВЭКС
ГАЗ
Геомаш
Гидромаш
Донекс
Дормаш
Дормашина
Дорэлектромаш
ДЭЗ
ЕлАЗ
ЗЗГТ
Ижнефтемаш
Канаш-электрокар
КЗКТ
ККЗ
Клевер
Клинцовский автокрановый завод
КМЗ
КМЗ 1 Мая
Ковровец
Коммаш
Кранэкс
КЭЗ
КЭМЗ
ЛЗА
МАЗ
МЗИК
МЗКМ
МЗКТ
Михневский РМЗ
МоАЗ
Мозырский МЗ
МТЗ
ОЗП
Онежец
ПАО "ТЗА"
ППС Детва
Промтрактор
ПТЗ
Раскат
СпецАгрегат
ТВЭКС
ТТМ
УВЗ
Угличмаш
УЗТМ
ХТЗ
ЧЗКМ
ЧСДМ
ЧТЗ
ЭКСКО
ЭКСМАШ
ЮрМаш
Модель
Не выбрано
SEM616B (2013)
SEM616B (2014)
SEM636D (2013)
SEM636D (2016)
SEM639B (2013)
SEM639C (2011)
SEM650B (2009)
SEM652B (2009)
SEM655D (2015)
SEM656D (2019)
SEM669C
SEM919 (2019)
SEM921 (2019)
Схема
>
Не выбрано
Standard bucket ASM
Standard bucket ASM
Lift arm device assembly
Bucket leveling gage
Rear frame assembly
Front frame AS
Oscillation assembly
Counter weight assembly
The tire and rim assembly
The tire and rim assembly
Fuel tank assembly Z52533000
Fuel tank assembly
Engine hood assembly Z52542000
Engine hood assembly NZ5254200300
Engine hood assembly NZ5254200200
Front mud guard assembly
Right floor handrails & ladder
Left floor handrails & ladders
Hydraulic tank assembly
Hydraulic tank assembly
E & E System
Front light mount assembly
Gauge panel
Gauge panel
Air Condition System (WDEC)
Cab AssembIСѓ
Cab AssembIСѓ
Cab AssembIСѓ
Washer assy
Engine device (WDEC)
Throttle governor
Cooling system assembI Сѓ (WDEC high temperature)
Implement hydraulic system assembly
Transmission hydraulic system
Implement hydraulic system
Tipping bucket cylinder
Tilt cylinder
Working distribution valve
Cooling device hydrauliСЃ system
Pilot hydraulic system
Braking system
Brake assembly (xuzhou meichi)
Transmission System Assembly
Drive Axle Assembly (Xuzhou Meichi)
Final drive assembly (xu zhou mei chi)
Differential assembly
Wheel & final drive group (xuzhou meichi)
Torque convertor assembly
Z520450000 Gear box hood
Speed Control As
Torque convertor assembly
The pilot valve bracket and the high speed of assembly
Steering control mechanism
Gear box assembly
Gear box assembly
II, IV clutch
I, III clutch
F, R clutch
Identification plate
China II emission electric attachment
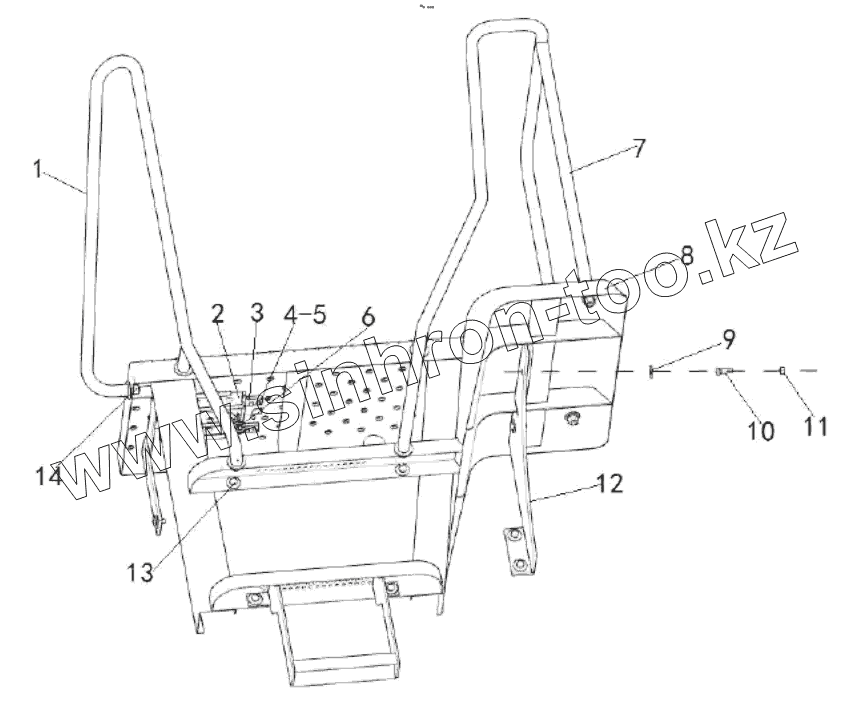
1
2
3
4
5
6
7
8
9
10
11
12
13
14
Позиция на иллюстрации
Заводской номер детали
Название детали
1
Z52535015
Handle
2
Z52535020
Cover
3
Z52535017
Hinge plate
4
B040910612
Bolt
5
B060410602
Washer
6
Z5A02502600
Spring
7
Z52535002
Handle
8
NZ5253500100
Left platform assembly
9
B060331203
Washer
10
B040911235
Bolt
11
B050331211
Nut
12
Z52535008
Bracket
13
B040911225
Bolt
14
B050331614
Nut
Содержащиеся в справочниках-каталогах запасные части и детали не предлагаются к продаже, а носят исключительно информационный характер
Дополнительная информация
×
Название:
Номер:
Примечание: