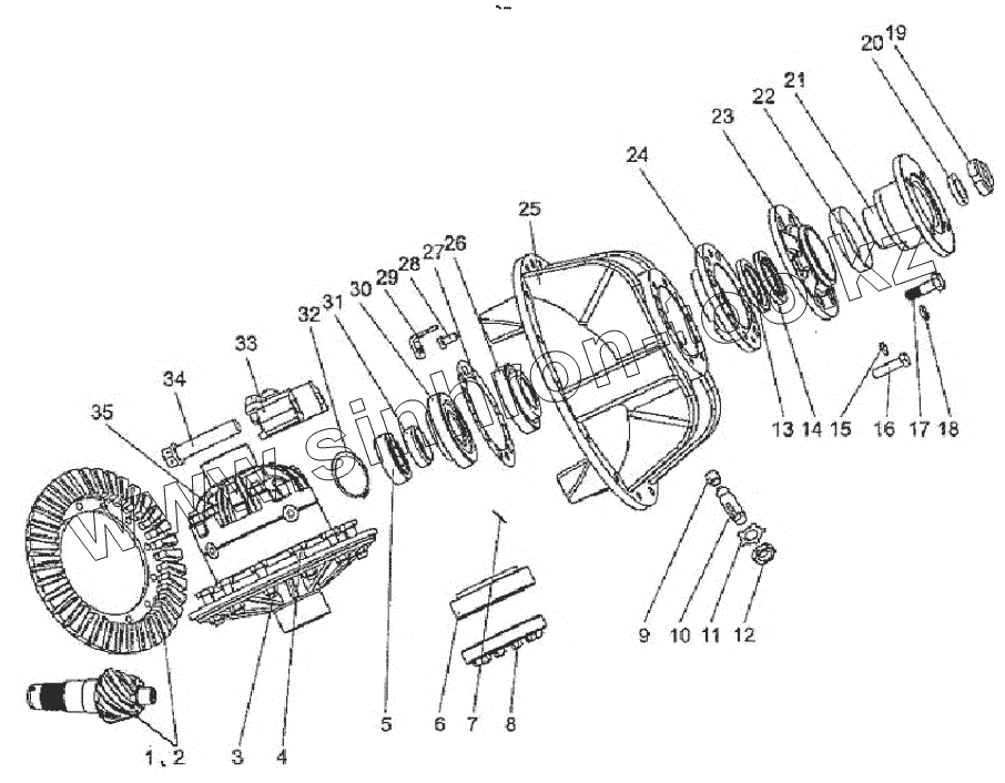
Каталог запасных частей к технике: SEM652B. Main reducer assembly
1
2
3
4
5
6
7
8
9
10
11
12
13
14
15
16
17
18
19
20
21
22
23
24
25
26
27
28
29
30
31
32
35
| Позиция на иллюстрации | Заводской номер детали | Название детали | |
|---|---|---|---|
| 1 | W041400771 | Pinion | |
| 2 | W041400781 | Pinion | |
| 3 | B050411412 | Nut | |
| 4 | W041401361 | Blot | |
| 5 | W110010110 | Bearing | |
| 6 | W110010100 | Bearing | |
| 7 | W041401171 | Wire | |
| 8 | W041401161 | Adjust nut | |
| 9 | Bolt | Bolt | |
| 10 | Copper coppy | Copper coppy | |
| 11 | Lock plate | Lock plate | |
| 12 | W041401191 | Nut | |
| 13 | B160210004 | Oil seal | |
| 14 | B160210004 | Oil seal | |
| 15 | B060111203 | Lock washer | |
| 16 | B041011255 | Bolt | |
| 17 | B041011445 | Bolt | |
| 18 | B060111404 | Washer | |
| 19 | W041401091 | Lock nut | |
| 20 | Washer | Washer | |
| 21 | W041400441 | Flange | |
| 22 | W041400441 | Flange | |
| 23 | W041400091 | Cover | |
| 24 | W041400871 | Bearing cage | |
| 25 | W041400271 | Carrier cage | |
| 26 | B120400017 | Bearing | |
| 27 | W041401141 | Adjusting washers | |
| 28 | B040911020 | Bolt | |
| 29 | W041401141 | Lock plate | |
| 30 | B120400016 | Bearing | |
| 31 | W041400501 | Adjusting sleeves | |
| 32 | B070159003 | Snap ring | |
| 35 | W041400201 | Differential asy |
Содержащиеся в справочниках-каталогах запасные части и детали не предлагаются к продаже, а носят исключительно информационный характер