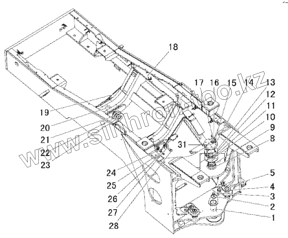
Каталог запасных частей к технике: SEM639C. Rear frame
1
2
3
4
5
8
9
10
11
12
13
14
15
16
17
18
19
20
21
22
23
24
25
26
27
28
31
| Позиция на иллюстрации | Заводской номер детали | Название детали | |
|---|---|---|---|
| 1 | Z320030650 | Hinged pin assembly | |
| 2 | B060411603 | Washer | |
| 3 | B040911630 | Bolt | |
| 4 | Z3B00302800 | Pin assembly | |
| 5 | B150101000 | Oil cup | |
| 8 | Z3B00303000 | Lower spacer | |
| 9 | Z3B00303100 | Hinged pin assembly | |
| 10 | Z3B00303200 | Upper spacer | |
| 11 | Z3B00303400 | Adjustment shim | |
| 12 | Z3B00303500 | Adjustment shim | |
| 13 | Z3B00303600 | Adjustment shim | |
| 14 | B060411002 | Washer | |
| 15 | B040911045 | Bolt | |
| 16 | B060412404 | Washer | |
| 17 | B040862490 | Bolt | |
| 18 | Z3B00300100 | Rear frame assembly | |
| 19 | Z320030700 | Lubricating line | |
| 20 | Z320030790 | Oscillate frame pin | |
| 21 | Z310210030 | Adjustment shim | |
| 22 | Z310210040 | Trimmed gasket | |
| 23 | Z310210050 | Trimmed gasket | |
| 24 | Z320030750 | Lubricating lineII | |
| 25 | B060811002 | Washer | |
| 26 | B041200002 | Bolt | |
| 27 | B060411203 | Washer | |
| 28 | B040911230 | Bolt | |
| 31 | Z3B00303300 | Pin mandrelPlate |
Содержащиеся в справочниках-каталогах запасные части и детали не предлагаются к продаже, а носят исключительно информационный характер