Каталог запасных частей к технике: SEM639C. Gauge panel
W370000590
W110023950
W46000145
W370200050A
W370000570A
W370000480
W370200100A
W370200090A
W370200080A
W370200070A
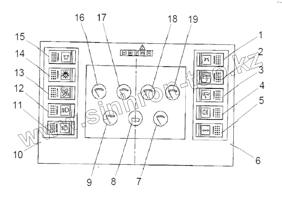
1
2
3
4
5
6
7
8
9
10
11
12
13
14
15
16
17
18
19
| Позиция на иллюстрации | Заводской номер детали | Название детали | |
|---|---|---|---|
| W370000590 | W370000590 | Buzzer | |
| W110023950 | W110023950 | Oil pressure hose | |
| W46000145 | W46000145 | Gauge panelcasing | |
| W370200050A | W370200050A | Start relay | |
| W370000570A | W370000570A | Lock relay | |
| W370000480 | W370000480 | Steering flasher | |
| W370200100A | W370200100A | Fuse | |
| W370200090A | W370200090A | Fuse | |
| W370200080A | W370200080A | Fuse | |
| W370200070A | W370200070A | Fuse | |
| 1 | W110019990 | Pre-heater switch | |
| 2 | W46000143 | Syringe switch | |
| 3 | W46000142 | Windshield wiper switch | |
| 4 | W46000141 | Rear lamp switch | |
| 5 | W46000140 | Turn light switch | |
| 6 | W370200040A | Electric lock | |
| 7 | W370000500 | Oil temperature gauge | |
| 8 | W46000134 | Service hours meter | |
| 9 | W370000490 | Water temperature gauge | |
| 10 | W370200010A | Fuse box | |
| 11 | W46000139 | Head lamp switch | |
| 12 | W46000138 | Anti-fog lamp switch | |
| 13 | W46000137 | Fan switch | |
| 14 | W46000136 | Panel lamp switch | |
| 15 | W46000135 | Warn light switch | |
| 16 | W370000540 | Voltmeter | |
| 17 | W46000163 | Oil gauge | |
| 18 | W370000520 | Gearbox oil pressure guage | |
| 19 | W370000550 | Barometer |
Содержащиеся в справочниках-каталогах запасные части и детали не предлагаются к продаже, а носят исключительно информационный характер