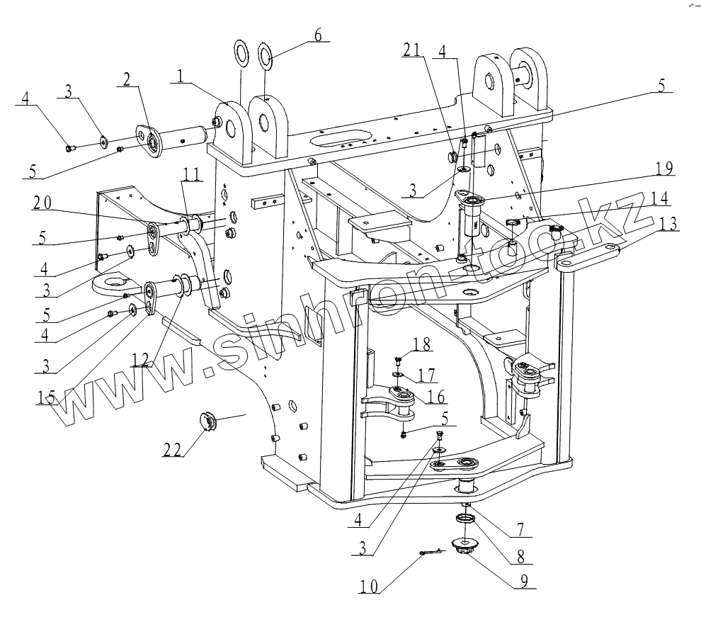
Каталог запасных частей к технике: SDLG LGB680. FRONT FRAME MODULE
1
2
3
3
3
3
3
4
4
4
4
4
5
5
5
5
5
6
7
8
9
10
11
12
13
14
15
16
17
18
19
20
21
22
| Позиция на иллюстрации | Заводской номер детали | Название детали | |
|---|---|---|---|
| 1 | 2624000310 | FRONT FRAME | |
| 2 | 4043000299 | PIN LGB301-60X105X205-40Cr | |
| 3 | 4040000001 | WASHER | |
| 4 | 4011000087 | BOLT | |
| 5 | 4030000065 | GREASE NIPPLE | |
| 6 | 4043000125 | SPACER | |
| 7 | 2624000312 | DOWN ARTICULATE PIN | |
| 8 | 2624000313 | BUSH | |
| 9 | 2925000106 | SLOTTED NUT | |
| 10 | 4016000113 | SPLIT PIN | |
| 11 | 4043000064 | SPACER | |
| 12 | 4190000682 | SPACER LGB303-50X80X1 | |
| 13 | 2624000316 | SECURING ROD | |
| 14 | 2716000024 | SPACER RING | |
| 15 | 4043000301 | PIN LGB301-50X95X195-40Cr | |
| 16 | 4043000282 | PIN LGB301-35X55RX95-40Cr | |
| 17 | 4040000008 | WASHER LGB001-10 | |
| 18 | 4011000081 | BOLT | |
| 19 | 2624000311 | UP ARTICULATE PIN | |
| 20 | 4043000300 | PIN LGB301-40X95X195-40Cr | |
| 21 | 2925000135 | RUBBER SLEEVE | |
| 22 | 2927000322 | RUBBER BUSH |
Содержащиеся в справочниках-каталогах запасные части и детали не предлагаются к продаже, а носят исключительно информационный характер