Каталог запасных частей к технике: SDLG LG969. HYDRAULICALLY CONTROLLED ASSEMBLY
1
2
3
4
5
5
6
7
8
9
9
10
11
12
13
13
14
14
14
14
14
14
14
15
16
17
18
19
19
19
19
19
19
19
19
19
19
19
19
20
20
20
20
20
20
20
21
21
21
22
22
22
22
23
23
24
24
24
25
26
27
27
27
27
27
28
28
28
28
28
29
30
31
31
31
31
32
33
33
33
33
34
35
36
37
38
39
39
39
39
40
41
41
42
43
44
45
45
46
46
47
47
48
48
49
49
49
50
51
52
53
54
55
56
56
57
58
59
59
60
60
61
61
62
63
64
64
65
66
67
68
69
70
71
72
73
74
75
76
77
77
78
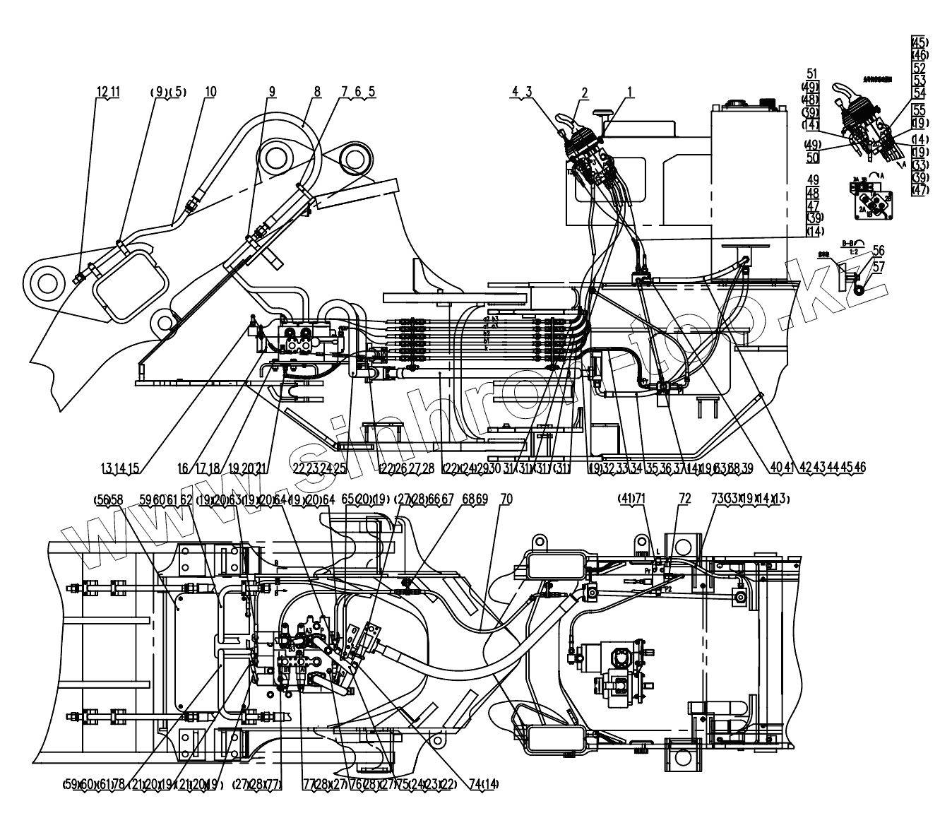
| Позиция на иллюстрации | Заводской номер детали | Название детали | |
|---|---|---|---|
| 1 | 4011000447 | BOLT | |
| 2 | 4120000370 | MONOLEVER PILOT VALVE DXS-OO | |
| 3 | 4120001074 | PILOT VALVE | |
| 4 | 4011000458 | BOLT | |
| 5 | 4011000230 | BOLT GB16674-M10x65EpZn-8.8 | |
| 6 | 2912001461 | RUBBER PLATE | |
| 7 | 2912001462 | PRESS PLATE | |
| 8 | 4041001121 | PIPE LGB127-414170 | |
| 9 | 2912001464 | PRESS PLATE | |
| 10 | 2912001465 | OIL TUBE TO CHAMBER OF LIFTING CYLINDER | |
| 11 | 4030000504 | O-RING GB3452.1-25.8x1.80G | |
| 12 | 4041000708 | BLOCKING | |
| 13 | 4041000150 | STAIGHT JOINT | |
| 14 | 4041000767 | O-RING | |
| 15 | 4041000506 | PIPE LGB128-005126 | |
| 16 | 4030000182 | CONTROL VALVE D32A-18 | |
| 17 | 4011000149 | BOLT GB16674-M16x50EpZn-8.8 | |
| 18 | 2912000754 | SET PLATE OF OIL INLET TUBE | |
| 19 | 2912001493 | WASHER | |
| 20 | 2912000766 | JOINT | |
| 21 | 4041000505 | PIPE LGB125-005138 | |
| 22 | 4011000477 | BOLT | |
| 23 | 4041000010 | FLANGE | |
| 24 | 4030000130 | O-RING | |
| 25 | 2912000003 | OIL RETURN TUBE OF THE CONTROL VALVE | |
| 26 | 2912001212 | FTEADY REST | |
| 27 | 4013000011 | NUT | |
| 28 | 4015000168 | WASHER | |
| 29 | 4041000011 | FLANGE | |
| 30 | 4041000894 | PIPE LGB161-014135 | |
| 31 | 2912000763 | PIPE OF PILOT | |
| 32 | 2912000762 | PIPE OF PILOT VALVE 2C | |
| 33 | 4011000344 | BOLT | |
| 34 | 2912001100 | REAR PIPE FROM LIFTING CYLINDER TO SELECTION VALVE | |
| 35 | 4041001011 | PIPE LGB165-014160 | |
| 36 | 4041000577 | STAIGHT JOINT LGB120-03633 | |
| 37 | 4041000765 | O-RING | |
| 38 | 2912001220 | PIPE SELECTION VALVE TO BLOCK | |
| 39 | 4041000604 | JOINT | |
| 40 | 2912001211 | BLOCK | |
| 41 | 4011000279 | BOLT GB16674-M10x60EpZn-8.8 | |
| 42 | 2912001224 | PIPE BLOCK TO HYDRAULIC TANK ASSEMBLY | |
| 43 | 4041000095 | CONNECTER | |
| 44 | 4041000768 | O-RING LGB168-11524 | |
| 45 | 4041000143 | STAIGHT JOINT LGB120-02222 | |
| 46 | 4041000771 | O-RING | |
| 47 | 2912001085 | FRONT PILOT PIPE | |
| 48 | 2912001032 | BOLT | |
| 49 | 2912001338 | WASHER | |
| 50 | 2912001034 | STRAIGHT COUPLING | |
| 51 | 2912001033 | OIL RETURN PIPE OF PILOT VALVE | |
| 52 | 2912001226 | OIL RETURN PIPE OF PILOT VALVE | |
| 53 | 2912001522 | WASHER | |
| 54 | 4011000366 | BOLT | |
| 55 | 2912000765 | JOINT | |
| 56 | 4011000461 | BOLT | |
| 57 | 2912000767 | PIPE CLIP | |
| 58 | 2912001479 | FRONT CAP | |
| 59 | 4011000475 | BOLT | |
| 60 | 4030000029 | O-RING | |
| 61 | 4041000027 | FLANGE | |
| 62 | 2912001481 | OIL TUBE OF CONTROL VALVE | |
| 63 | 4041000503 | PIPE LGB161-005126 | |
| 64 | 4041000502 | PIPE LGB161-005075 | |
| 65 | 4041000210 | PIPE LGB161-005091 | |
| 66 | 4041000954 | U-BOLT LGB159-14254 | |
| 67 | 4041000955 | BOTTOM SHEET LGB160-4254 | |
| 68 | 2912001119 | TWO-WAY PILOT OIL PIPE GROUP 2 | |
| 69 | 4011000479 | BOLT | |
| 70 | 4041000652 | PIPE LGB129-005090 | |
| 71 | 4120000448 | PRESSURE SELECTION VALVE | |
| 72 | 2912000755 | OIL INLET PIPE OF SELECTION VALVE | |
| 73 | 2912000756 | OIL RETURN PIPE FOR SELECTION VALVE | |
| 74 | 4041000774 | PLUG | |
| 75 | 2912001215 | OIL INLET TUBE OF OIL INLET TUBE | |
| 76 | 4011000056 | BOLT | |
| 77 | 4011000057 | BOLT | |
| 78 | 2912001483 | OIL TUBE OF CONTROL VALVE |
Содержащиеся в справочниках-каталогах запасные части и детали не предлагаются к продаже, а носят исключительно информационный характер