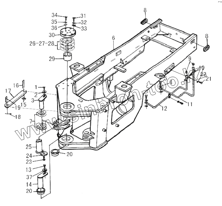
Каталог запасных частей к технике: SDLG LG969. REAR FRAME ASSEMBLY
1
2
3
4
5
6
7
8
8
9
10
11
12
13
14
15
16
17
18
19
20
20
21
22
23
24
25
26
27
28
29
30
31
32
33
34
35
36
37
| Позиция на иллюстрации | Заводской номер детали | Название детали | |
|---|---|---|---|
| 1 | 4011000197 | BOLT | |
| 2 | 4040000001 | WASHER | |
| 3 | 4043000009 | PIN LGB301-50d9x78Rx140 | |
| 4 | 29250000291 | BOLT | |
| 5 | 29250000301 | WASHER | |
| 6 | 29260013981 | REAR FRAME | |
| 7 | 4043000032 | SPACER GB303-50x90x1 | |
| 8 | 29270000031 | RUBBER SLEEVE | |
| 9 | 4030000065 | GREASE NIPPLE | |
| 10 | 29250000311 | PLATE | |
| 11 | 29270000041 | OIL TUBE | |
| 12 | 29270000051 | OIL TUBE | |
| 13 | 4011000093 | BOLT | |
| 14 | 29250000161 | DOWN ARTICULATION PIN | |
| 15 | 29270000081 | HOLDING RING | |
| 16 | 29270000091 | REAR PIN OF MOUNT BAR | |
| 17 | 29270008911 | MOUNT BAR | |
| 18 | 4016000043 | SPLIT PIN GB91-8x80EpZn | |
| 19 | 29270000121 | FRONT PIN OF MOUNT BAR | |
| 20 | 29250000171 | BUSH | |
| 21 | 4014000024 | SCREW | |
| 22 | 4015000035 | WASHER | |
| 23 | 4011000197 | BOLT | |
| 24 | 29250000021 | DISC | |
| 25 | 29250000031 | UP ARTICULATION PIN | |
| 26 | 29250000101 | SPACER | |
| 27 | 29250000111 | SPACER | |
| 28 | 29250000121 | SPACER | |
| 29 | 29250000131 | BUSH | |
| 30 | 29250000141 | DISC | |
| 31 | 4011000064 | BOLT GB5782-M12x50EpZn-8.8 | |
| 32 | 4015000026 | WASHER | |
| 33 | 4015000168 | WASHER | |
| 34 | 4011000069 | BOLT GB5782-M16x90EpZn-8.8 | |
| 35 | 4015000098 | WASHER GB93-16-65Mn | |
| 36 | 4015000181 | WASHER | |
| 37 | 4040000002 | WASHER |
Содержащиеся в справочниках-каталогах запасные части и детали не предлагаются к продаже, а носят исключительно информационный характер