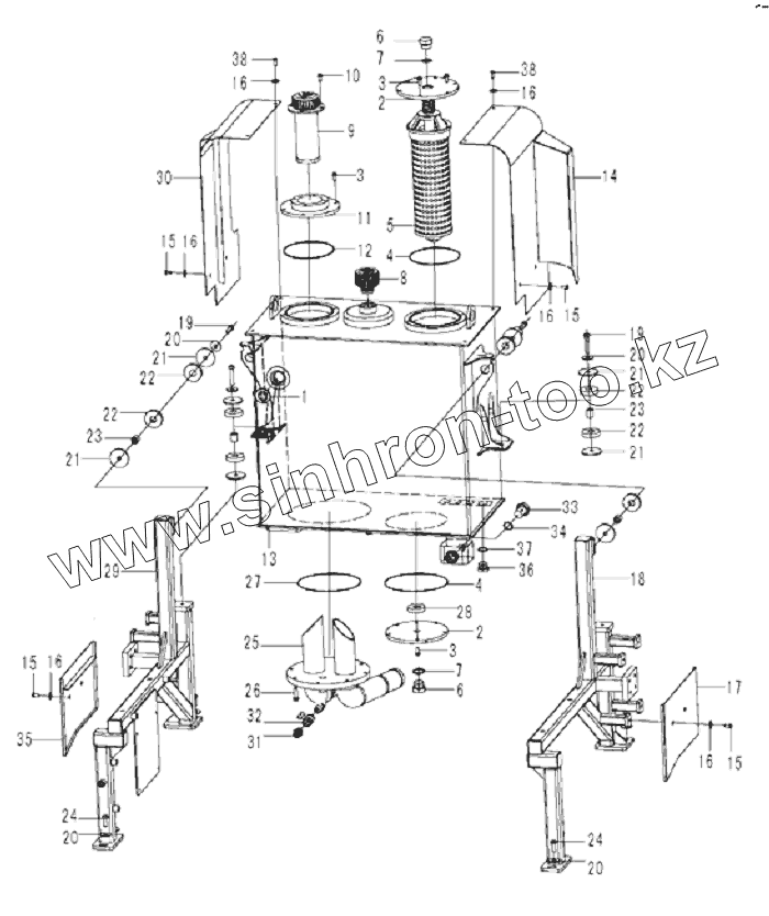
Каталог запасных частей к технике: SDLG LG958N. Hydraulic tank assembly F3-2910002040
1
2
2
3
3
3
4
4
5
6
6
7
7
8
9
10
11
12
13
14
15
15
15
15
16
16
16
16
16
16
17
18
19
19
20
20
20
20
21
21
21
21
22
22
22
22
23
23
24
24
25
26
27
28
29
30
31
32
33
34
35
36
37
38
38
| Позиция на иллюстрации | Заводской номер детали | Название детали | |
|---|---|---|---|
| 1 | 4110000807 | Level gauge | |
| 2 | 29100019821 | Flange | |
| 3 | 4011000458 | BOLT | |
| 4 | 4030000232 | O-RING | |
| 5 | 4120003296 | Filter insert | |
| 6 | 4041000192 | PLUG | |
| 7 | 4041000765 | O-RING | |
| 8 | 4120001088 | GAS-EXCHANGE FILTER | |
| 9 | 4120002671 | Filter insert | |
| 10 | 4011000461 | BOLT | |
| 11 | 29100008361 | Flange | |
| 12 | 4030000452 | O-ring | |
| 13 | 29100020792 | Hydraulic tank body | |
| 14 | 29100019592 | Protecting plate | |
| 15 | 4011000102 | BOLT | |
| 16 | 4015000256 | WASHER | |
| 17 | 29100017921 | Protecting plate | |
| 18 | 29100020452 | Support frame | |
| 19 | 4011001040 | Screw | |
| 20 | 4015000186 | WASHER | |
| 21 | 29100020541 | Washer | |
| 22 | 29100020531 | Rubber mat | |
| 23 | 29100100541 | Sleeve | |
| 24 | 4011000747 | Screw | |
| 25 | 29100020821 | Intaking oil flange assembly | |
| 26 | 4030000598 | O-ring | |
| 27 | 4011000164 | BOLT | |
| 28 | 4190000008 | RING MAGNET | |
| 29 | 29100020832 | Support frame | |
| 30 | 29100019562 | Protecting plate | |
| 31 | 29100009061 | FITTING | |
| 32 | 4120000099 | BALL VALVE | |
| 33 | 4041000777 | THREAD PLUG LGB135-02227 | |
| 34 | 4041000771 | O-RING | |
| 35 | 29100017931 | Protecting plate | |
| 36 | 4041001057 | Plug | |
| 37 | 4041000779 | O-RING | |
| 38 | 4011000106 | BOLT |
Содержащиеся в справочниках-каталогах запасные части и детали не предлагаются к продаже, а носят исключительно информационный характер