Каталог запасных частей к технике: SDLG LG958N. Gearshift hydraulic control section 2 C16-4110000042
2
3
3
4
5
6
6
7
8
9
10
11
11
12
13
14
15
15
15
16
17
18
19
20
21
22
23
24
24
24
24
24
25
25
26
27
28
29
30
31
32
33
34
34
35
35
36
37
38
39
40
41
42
43
44
45
46
47
48
49
50
51
52
53
54
55
56
57
58
59
60
61
62
63
64
65
66
67
68
69
70
71
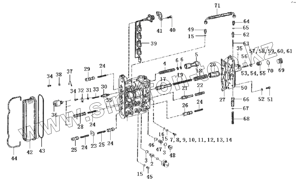
| Позиция на иллюстрации | Заводской номер детали | Название детали | |
|---|---|---|---|
| 1 | 7200001707 | VALVE BODY 4644306558 | |
| 2 | 4110000042117 | SCREW-IN SLEEVE 4644 306 566 | |
| 3 | 7200001709 | O-RING 0634306524 | |
| 4 | 7200001710 | PRESSURE SPRING 0732042314 | |
| 5 | 7200001711 | VALVE ROD 4644306597 | |
| 6 | 7200001712 | AJUSTING SHIM 0630004037 | |
| 7 | 7200001713 | PERMEABILITY PLUG 4644306401 | |
| 8 | 4110000042100 | ORIFICE 4644 306 402 | |
| 9 | 4110000042102 | ORIFICE 4644 306 403 | |
| 10 | 4110000042099 | ORIFICE 4644 306 521 | |
| 11 | 4110000042101 | ORIFICE 4644 306 522 | |
| 12 | 4110000042103 | ORIFICE 4644 306 404 | |
| 13 | 4110000042104 | ORIFICE 4644 306 531 | |
| 14 | 4110000042105 | ORIFICE 4644 306 554 | |
| 15 | 7200001705 | O-RING 0634303280 | |
| 16 | 7200001715 | O-RING 0634306170 | |
| 17 | 7200001716 | VALVE ROD 4644306376 | |
| 18 | 7200001717 | PRESSURE SPRING 0732042315 | |
| 19 | 7200001718 | PRESSURE SPRING 0732042316 | |
| 20 | 7200001719 | VALVE ROD 4644306377 | |
| 21 | 7200001720 | VALVE ROD 4644306509 | |
| 22 | 7200001721 | PRESSURE SPRING 0732042317 | |
| 23 | 7200001722 | BALE 4644306379 | |
| 24 | 7200001723 | PRESSURE SPRING 0770060648 | |
| 25 | 7200001725 | VALVE ROD 4644306381 | |
| 26 | 7200001726 | VALVE ROD 4644306380 | |
| 27 | 7200001727 | SEAL PLATE 4644306584 | |
| 28 | 7200001731 | VALVE ROD 4644306383 | |
| 29 | 7200001733 | VALVE ROD 4644306384 | |
| 30 | 4110000042098 | REDUCTION VALVE 4644 306 578 | |
| 31 | 7200001735 | RING 0730007565 | |
| 32 | 7200001736 | BALE 4644306580 | |
| 33 | 7200001737 | PRESSURE SPRING 0732042024 | |
| 34 | 7200001743 | SCREW 0636101129 | |
| 35 | 7200001739 | STEEL BALL 0635460005 | |
| 36 | 7200001740 | SOLENOID VALVE 0501313375 | |
| 37 | 7200001741 | BALE 1043326045 | |
| 38 | 7200001742 | WASHER 0730064292 | |
| 39 | 7200001744 | CABLE POLE 4644206035 | |
| 40 | 7200001745 | SCREW 0636101478 | |
| 41 | 7200001746 | BALE 4644306399 | |
| 42 | 7200001747 | COVER PLATE 4644206039 | |
| 43 | 4110000042006 | O-RING 0634 349 606 | |
| 44 | 7200001749 | CLAMP 4644306388 | |
| 45 | 7200001750 | PLUG 0636302031 | |
| 46 | 7200001752 | STEEL BALL 0635460027 | |
| 47 | 4110000042118 | COMPR. SPRING 0732 041 226 | |
| 48 | 7200001664 | PLUG 0636302014 | |
| 49 | 7200001757 | JOINT NUT 0637842525 | |
| 50 | 7200001759 | VALVE COVER 0644306511 | |
| 51 | 7200001760 | SCREW 0636101012 | |
| 52 | 7200001761 | WASHER 0630003004 | |
| 53 | 7200001763 | VALVE ROD 4644306390 | |
| 54 | 4110000042096 | PISTON 4644 306 440 | |
| 55 | 4110000042095 | PISTON 4644 306 517 | |
| 56 | 7200001724 | STAFF 0635470104 | |
| 57 | 7200001728 | RING 0730006344 | |
| 58 | 4110000042091 | RING 0730 006 345 | |
| 59 | 4110000042092 | RING 0730 006 346 | |
| 60 | 4110000042093 | RING 0730 006 347 | |
| 61 | 4110000042094 | RING 0730 006 348 | |
| 62 | 7200001729 | VALVE CORE 4644306397 | |
| 63 | 7200001730 | PRESSURE SPRING 0732042318 | |
| 64 | 7200001732 | JOINT NUT 4616306109 | |
| 65 | 7200001756 | O-RING 0634303144 | |
| 66 | 7200001758 | VALVE CORE 4644306398 | |
| 67 | 4110000042042 | SHIM RING 0630 004 252 | |
| 68 | 7200001764 | PRESSURE SPRING 0732041764 | |
| 69 | 7200001767 | PLUG 0636302005 | |
| 70 | 7200001768 | O-RING 0634306198 | |
| 71 | 7200001769 | TUBE 0750147228 |
Содержащиеся в справочниках-каталогах запасные части и детали не предлагаются к продаже, а носят исключительно информационный характер