Вернуться на главную
Поиск
Каталоги запчастей к технике
Спецтехника
SDLG
LG958N
Counter weight K3-2928001040
Каталог запасных частей к технике: SDLG LG958N. Counter weight K3-2928001040
zoom-in
zoom-out
enlarge
shrink
circle-right
circle-left
file-text2
info
cart
Тип техники
Не выбрано
Легковые автомобили
Грузовые автомобили и прицепы
Автобусы
Сельхозтехника
Спецтехника
Двигатели
Мототехника
Марка
Не выбрано
Ammann
BOMAG
CARMIX
CASE IH
Changlin
ChengGong
Dimex
Doosan
DYNAPAC
Foton
HAMM
Hidromek
Hitachi
Hyundai
JCB
JLG
John Deere
Komatsu
LIEBHERR
LiuGong
Lonking (LongGong)
Luneng
MANITOU
Mitsuber
New Holland
PENGPU
RM-Terex
SANY
SDLG
SEM
Shantui
Shehwa HBXG
Soosan
TIGARBO
VOGELE
Volvo
WAY
WIRTGEN
XCMG
XGMA
Xiamen
YTO
Yuchai
Zoomlion
Автокран
АЗСМ
Алтайлесмаш
Амкодор
АОМЗ
Атек
АТЗ
Балканкар Рекорд
БелАЗ
Беловеж
Борекс
Брянский Арсенал
Булат
ВЭКС
ГАЗ
Геомаш
Гидромаш
Донекс
Дормаш
Дормашина
Дорэлектромаш
ДЭЗ
ЕлАЗ
ЗЗГТ
Ижнефтемаш
Канаш-электрокар
КЗКТ
ККЗ
Клевер
Клинцовский автокрановый завод
КМЗ
КМЗ 1 Мая
Ковровец
Коммаш
Кранэкс
КЭЗ
КЭМЗ
ЛЗА
МАЗ
МЗИК
МЗКМ
МЗКТ
Михневский РМЗ
МоАЗ
Мозырский МЗ
МТЗ
ОЗП
Онежец
ПАО "ТЗА"
ППС Детва
Промтрактор
ПТЗ
Раскат
СпецАгрегат
ТВЭКС
ТТМ
УВЗ
Угличмаш
УЗТМ
ХТЗ
ЧЗКМ
ЧСДМ
ЧТЗ
ЭКСКО
ЭКСМАШ
ЮрМаш
Модель
Не выбрано
B877 (2013)
B877 (2017)
G9138 (2020)
G9190 (2013)
L916 (2017)
L938F (2016)
L948 (2016)
L948F (2015)
L953N (2017)
L956F (2017)
L958F (2019)
LG6150E
LG6210E (2013)
LG918 (2008)
LG918 (2009)
LG933 (2008)
LG933 (2018)
LG933L (2011)
LG936 (2007)
LG936 (2007)
LG936L (2009)
LG936L (2013)
LG936L (2017)
LG938 (2006)
LG938 (2010)
LG938F (2015)
LG938L (2010)
LG944MSK (2015)
LG946L (2010)
LG952 (2007)
LG952 (2009)
LG952H (2009)
LG952H (2012)
LG952N (2016)
LG953 (2006)
LG953 (2008)
LG953 (2009)
LG953N (2015)
LG955N (2015)
LG956 (2005)
LG956F (2016)
LG956FH (2017)
LG956L (2009)
LG956L (2015)
LG956V (2015)
LG958 (2006)
LG958L (2009)
LG958L (2012)
LG958N (2013)
LG958N (2015)
LG968 (2007)
LG968 (2009)
LG969 (2007)
LG969 (2009)
LG969N (2015)
LGB680 (2007)
Схема
>
Не выбрано
Engine system A1-2901004004
Fuel tank system A2-2902001280
Cooling system A3-2903002255
Expansion tank A3-2903002256
Water hose A3-2903002257
Cooling pipe A3-2903002258
Oil hose A3-2903002259
Cooling accessory A3-2903002260
Cooling assembly A3-4110002035
Inlet system A11-2901004030
Exhaust system A12-2901004028
Fuel supply system A13-2901004005
Valve A15-4120005302
Transmission system C1-2905002155
Engine connect assembly C2-4110000042
Torque converter C3-4110000042
Transmission input section C4-4110000042
Gearbox housing C5-4110000042
Reverse gear assembly C6-4110000042
First gear assembly C7-4110000042
Clutch C8-4110000042
Clutch C9-4110000042
Transmission output section C10-4110000042
Parking brake assembly C11-4110000042
Parking brake shoe assembly C12-4110000042
Power take-off 1 C13-4110000042
Power take-off 2 C14-4110000042
Gearshift hydraulic control section 1 C15-4110000042
Gearshift hydraulic control section 2 C16-4110000042
Transmission pressure control valve C17-4110000042
Transmission oil filter C18-4110000042
Emergency.steer.pump C19-4110000042
Transmission speed sensor C20-4110000042
Transmission dipstick C21-4110000042
Transmission oil pipes C22-4110000042
Transmission - miscellaneous items C23-4110000042
Front axle assemblky E1-2907001894
Propeller shaft E4-2908000843
Front main drive E2-2907001639
Rear axle assembly E3-2909001091
Hub reduction E4-2907001896
Hub reduction E5-2909001094
Rear final drive E6-2909001025
Tire E9-4110000006
Tire E8-4110000582
Hydraulic control assembly F1-2912002295
Working pump system F2-2911001065
Hydraulic tank assembly F3-2910002040
Lifting cylinder system F7-2913001704
Lifting cylinder F6-4120004336
Tilt cylinder system F5-2914001601
Tilt cylinder F6-4120003685
The 3rd function control F12-2912002303
Quick-change equipment G1-2918001236
Quickly equipment hydraulic system G2-2918001169
Quickly change bracket G2-2918001170
Quick-change electrical system G3-2941000033
Working equipment attachment H1-2915001615/2916000848
Bucket assembly H2-2917009034
Steering pump system I1-2919001205
Steering gear system I2-2920001023
Steering cylinder system I3-2921000950
Right steering cylinder (3713ch) I4-4120005068
Left steering cylinder (3713ch) I4-4120005067
Service brake system J1-2922001537
Parking brake assembly J4-2923000937
Front frame and accessory K1-2924002315/2925000991
Rear frame and accessory K2-2926002716/2927001296
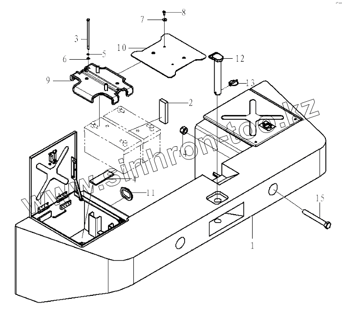
Counter weight K3-2928001040
Cab assembly L1-2929002418-1
Cab assembly L1-2929002418-2
Cab assembly L1-2929002418-3
Seat accessory L2-2930000816
Door assembly L2-2929001800
Interior L3-2929002298
Operator box assembly L5-2932000973
Air conditioner cover assembly L6-2929001630
Washer system L7-2929002157
Cab accessory L9-2931001987
Engine hood M1-2933004933
Right bench assembly M3-2934003006
Left bench assembiy M4-2934003007
Rear steering lamp hood M5-2934002645
Sign and logo M6-2936001784
Air condition unit N1-2935001098
Air conditioner system N3-2935001110
Evaporator assembly N4-4190002757
Evaporator assembly N5-4190002757
Condenser N6-4190002759
Condenser assembly N7-4190002759
Power electric assembly O1-2937002512
Front frame electric assembly O2-2941000026
Rear frame electric assembly O3-2942000031
Cab electric assembly O4-2943000037
Engine electric assembly O5-2944000015
Engine hood electric assembly O6-2945000011
1
2
3
4
5
6
7
8
9
10
11
12
13
14
15
Позиция на иллюстрации
Заводской номер детали
Название детали
1
29280010421
Counterweight
2
29280000051
MAT OF PASTERN
3
4011001008
Screw
4
29280000061
MAT OF PASTERN
5
4015000025
Washer
6
4015000162
Washer
7
4015000197
WASHER
8
4011000081
BOLT
9
29280008931
Battery retainer
10
29280010331
Protecting plate
11
29340011901
Rubber sleeve
12
29280009861
Clevis pin
13
29280000031
HOLDING RING
14
4013000064
LOCKING NUT
15
4011000122
Screw
Содержащиеся в справочниках-каталогах запасные части и детали не предлагаются к продаже, а носят исключительно информационный характер
Дополнительная информация
×
Название:
Номер:
Примечание: