Каталог запасных частей к технике: SDLG LG958. WORKING EQUIPMENT
1
2
3
4
5
6
7
7
8
9
10
10
11
11
12
13
13
15
16
17
18
19
19
19
19
19
19
20
20
20
20
20
20
21
22
23
24
25
26
26
27
27
28
28
29
30
31
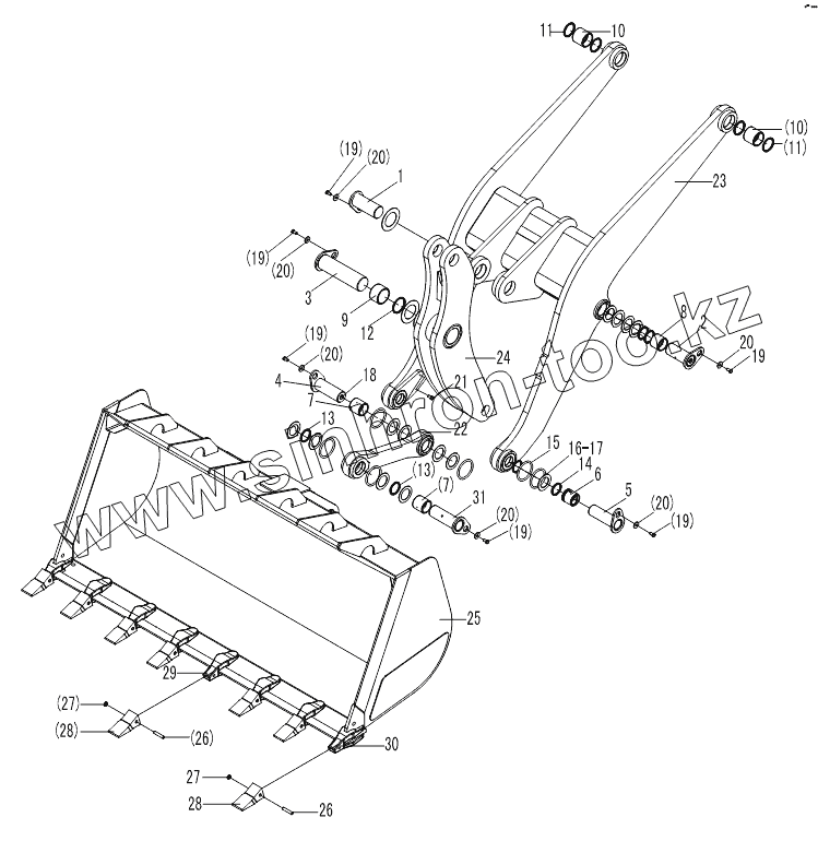
| Позиция на иллюстрации | Заводской номер детали | Название детали | |
|---|---|---|---|
| 1 | 4043000021 | PIN | |
| 2 | 4043000278 | PIN LGB301-85x115x215G-40Cr | |
| 3 | 4043000022 | PIN | |
| 4 | 4043000015 | PIN | |
| 5 | 4043000173 | PIN | |
| 6 | 2916000002 | BUSH | |
| 7 | 4043000027 | BUSH | |
| 8 | 4043000028 | BUSH | |
| 9 | 4043000031 | BUSH | |
| 10 | 4043000030 | BUSH | |
| 11 | 4043000057 | PUSTRING | |
| 12 | 4043000058 | PUSTRING | |
| 13 | 4043000056 | PUSTRING | |
| 14 | 4043000055 | PUSTRING | |
| 15 | 4043000059 | O-RING | |
| 16 | 4043000033 | SPACER | |
| 17 | 4043000034 | SPACER | |
| 18 | 4030000065 | GREASE NIPPLE | |
| 19 | 4011000094 | BOLT | |
| 20 | 4040000002 | WASHER | |
| 21 | 4011000597 | BOLT | |
| 22 | 2915000004 | LINKAGE ROD | |
| 23 | 2915000003 | ROCKER ARM | |
| 24 | 2915000027 | LIFT ARM | |
| 25 | 2917000002 | BUCKET | |
| 26 | 2917000051 | PIN | |
| 27 | 2917000052 | PIN CLIP | |
| 28 | 4043000072 | BUCKET TEETH LGB304-C1-2 | |
| 29 | 4043000073 | BUCKET TEETH LGB304-C2-2 | |
| 30 | 4043000074 | BUCKET TEETH LBG304-C3-2 | |
| 31 | 4043000060 | PIN |
Содержащиеся в справочниках-каталогах запасные части и детали не предлагаются к продаже, а носят исключительно информационный характер