Каталог запасных частей к технике: SDLG LG958. POWER OUTPUT
1
2
3
4
5
5
6
6
7
7
8
8
9
10
10
11
12
13
14
15
15
16
16
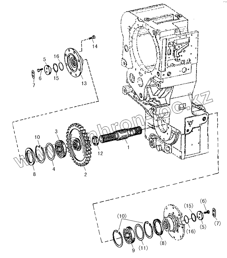
| Позиция на иллюстрации | Заводской номер детали | Название детали | |
|---|---|---|---|
| 1 | OUTPUTSHAFT | OUTPUT SHAFT | |
| 2 | OUTPUTGEAR | OUTPUT GEAR | |
| 3 | ROLLERBEARING | ROLLER BEARING | |
| 4 | SНIМ | SНIМ | |
| 5 | WАSНЕR | WАSНЕR | |
| 6 | SCREW10x30 | HEXAGON SCREW M10x30 | |
| 7 | TABWASHER | TAB WASHER | |
| 8 | SHAFTSEAL | SHAFT SEAL | |
| 9 | BALLBEARING | BALL BEARING | |
| 10 | RING120x4 | RETAINING RING 120x4 | |
| 11 | SНIМ | SНIМ | |
| 12 | PIPE | PIPE | |
| 13 | OUTPUTFLANGE | OUTPUT FLANGE | |
| 14 | SСRЕW | SСRЕW | |
| 15 | WАSНЕR | WАSНЕR | |
| 16 | O-RING | O-RING |
Содержащиеся в справочниках-каталогах запасные части и детали не предлагаются к продаже, а носят исключительно информационный характер