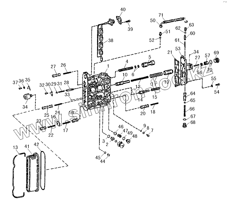
Каталог запасных частей к технике: SDLG LG958. GEARSHIFT SYSTEM (II)
1
2
3
4
5
6
7
8
9
10
11
12
13
13
14
15
16
17
18
19
20
21
22
23
24
25
26
27
27
28
29
30
31
32
33
34
34
35
36
37
38
39
40
41
42
44
45
46
47
48
49
50
51
52
53
54
55
56
57
60
61
62
63
64
65
66
67
68
69
70
71
| Позиция на иллюстрации | Заводской номер детали | Название детали | |
|---|---|---|---|
| 1 | VАLVЕВLОСК | VАLVЕ ВLОСК | |
| 2 | SCREW-INSLEEVE | SCREW-IN SLEEVE | |
| 3 | O-RING15x2 | O-RING 15x2 | |
| 4 | SРRING | SРRING | |
| 5 | PISTON | PISTON | |
| 6 | SHIMRING10x16x1 | SHIM RING 10x16x1 | |
| 7 | ORIFICE | ORIFICE OPTIONAL | |
| 8 | O-RING | O-RING | |
| 9 | O-RING6x1.5 | O-RING 6x1.5 | |
| 10 | PISTON | PISTON | |
| 11 | PISTON | PISTON | |
| 12 | SРRING | SРRING | |
| 13 | SРRING | SРRING | |
| 14 | PISTON | PISTON | |
| 15 | PISTON | PISTON | |
| 16 | SРRING | SРRING | |
| 17 | STOPPLATE | STOP PLATE | |
| 18 | SРRING | SРRING | |
| 19 | SРRING | SРRING | |
| 20 | PISTON | PISTON | |
| 21 | PISTON | PISTON | |
| 22 | GASKET | GASKET | |
| 23 | SРRING | SРRING | |
| 24 | PISTON | PISTON | |
| 25 | SРRING | SРRING | |
| 26 | PISTON | PISTON | |
| 27 | SРRING | SРRING | |
| 28 | PISTON | PISTON | |
| 29 | REDUCTIONVALVE | REDUCTION VALVE | |
| 30 | RING | RING | |
| 31 | FIXINGPLATE | FIXING PLATE | |
| 32 | SРRING | SРRING | |
| 33 | CAPSCREWM5x12 | CAP SCREW M5x12 | |
| 34 | WIRINGHARNESS | WIRING HARNESS | |
| 35 | CAPSCREWM6x14 | CAP SCREW M6x14 | |
| 36 | FIXINGPLATE | FIXING PLATE | |
| 37 | COVER | COVER | |
| 38 | O-RING159.2x5.7 | O-RING 159.2x5.7 | |
| 39 | BALL | BALL | |
| 40 | SCREWPLUG | SCREW PLUG | |
| 41 | O-RING8x1.5 | O-RING 8x1.5 | |
| 42 | BALL | BALL | |
| 43 | SРRING | SРRING | |
| 44 | SCREWPLUGM8x1.5 | SCREW PLUG M8x1.5 | |
| 45 | O-RING15x2 | O-RING 15x2 | |
| 46 | BALL | BALL | |
| 47 | SCREW-INSLEEVE | SCREW-IN SLEEVE | |
| 48 | O-RING | O-RING | |
| 49 | SHIFTHOUSING | G. SHIFT HOUSING | |
| 50 | CAPSCREW | CAP SCREW | |
| 51 | WASHER6.4 | WASHER 6.4 | |
| 52 | BALL | BALL | |
| 53 | PISTON | PISTON | |
| 54 | SHIFTHOUSING | G. SHIFT HOUSING | |
| 55 | CAPSCREW | CAP SCREW | |
| 56 | WASHER6.4 | WASHER 6.4 | |
| 57 | PISTON | PISTON | |
| 58 | ROLLER | ROLLER | |
| 59 | RING | RING | |
| 60 | PISTON | PISTON | |
| 61 | SРRING | SРRING | |
| 62 | SCREW-INSLEEVE | SCREW-IN SLEEVE | |
| 63 | O-RING | O-RING | |
| 64 | PISTON | PISTON | |
| 65 | RING4x8x1.5 | SHIM RING 4x8x1.5 | |
| 66 | SРRING | SРRING | |
| 67 | O-RING | O-RING | |
| 68 | SCREWPLUGM8x1.5 | SCREW PLUG M8x1.5 | |
| 69 | SCREWPLUGM20x1.5 | SCREW PLUG M20x1.5 | |
| 70 | O-RING | O-RING | |
| 71 | HOSEPIPE | HOSE PIPE |
Содержащиеся в справочниках-каталогах запасные части и детали не предлагаются к продаже, а носят исключительно информационный характер