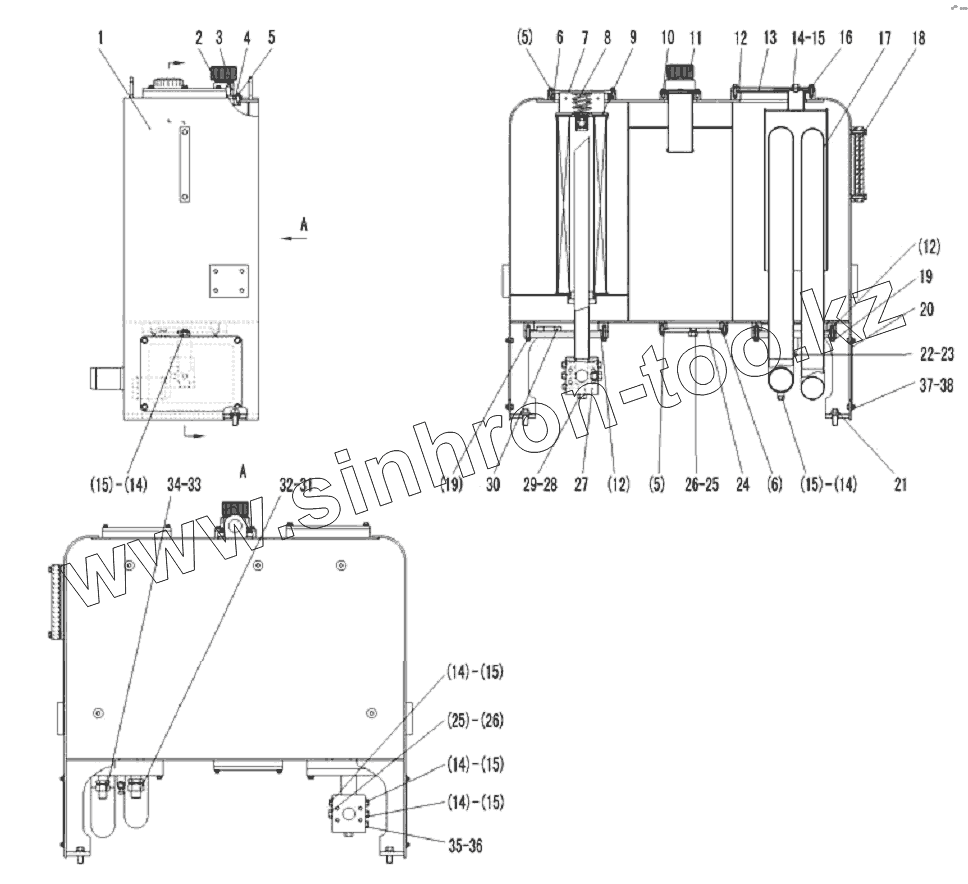
Каталог запасных частей к технике: SDLG LG956L. HYDRAULIC TANK ASSEMBLY
1
2
3
4
5
5
5
6
6
7
8
9
10
11
12
12
12
13
14
14
14
14
14
14
15
15
15
15
15
15
16
17
18
19
19
20
21
22
23
24
25
25
26
26
27
28
29
30
31
32
33
34
35
36
37
38
| Позиция на иллюстрации | Заводской номер детали | Название детали | |
|---|---|---|---|
| 1 | 29100010041 | HYDRAULIC TANK BODY | |
| 2 | 4120001088 | GAS-EXCHANGE FILTER | |
| 3 | 29100009991 | BLIND FLANGE | |
| 4 | 4030000233 | O-RING | |
| 5 | 4011000458 | BOLT | |
| 6 | 4030000232 | O-RING | |
| 7 | 29100000041 | FLANGE CAP | |
| 8 | 29100000051 | SPRING | |
| 9 | 29100000061 | STRAIN CORE | |
| 10 | 4011000461 | BOLT | |
| 11 | 4120000452 | OIL-SUPPLYING FILTER | |
| 12 | 4030000177 | O-RING GB3452.1-206x5.3G | |
| 13 | 29100000071 | OIL-SUCTION STRAIN CORE | |
| 14 | 4041000774 | PLUG | |
| 15 | 4041000767 | O-RING | |
| 16 | 4011000474 | BOLT | |
| 17 | 29100010081 | OIL-SUCTION FLANGED | |
| 18 | 4120000094 | OIL LEVEL&TEMPERATURE METER | |
| 19 | 4011000164 | BOLT | |
| 20 | 29100010111 | SIDE BROAD | |
| 21 | 4011000449 | BOLT | |
| 22 | 4120000099 | BALL VALVE | |
| 23 | 29100009061 | FITTING | |
| 24 | 29100008761 | FLANGED CAP | |
| 25 | 4041000768 | O-RING LGB168-11524 | |
| 26 | 4041000508 | THREAD PLUG | |
| 27 | 29100010121 | FLANGE OF OIL RETURNING | |
| 28 | 4041000777 | THREAD PLUG LGB135-02227 | |
| 29 | 4041000771 | O-RING | |
| 30 | 4190000008 | RING MAGNET | |
| 31 | 4030000504 | O-RING GB3452.1-25.8x1.80G | |
| 32 | 4041000708 | BLOCKING | |
| 33 | 4030000241 | O-RING | |
| 34 | 4041000680 | PLUGGING | |
| 35 | 4041001056 | THREAD PLUG LGB135-01219 | |
| 36 | 4041000784 | O-RING | |
| 37 | 4015000256 | WASHER | |
| 38 | 4011000102 | BOLT |
Содержащиеся в справочниках-каталогах запасные части и детали не предлагаются к продаже, а носят исключительно информационный характер