Вернуться на главную
Поиск
Каталоги запчастей к технике
Спецтехника
SDLG
LG956L
BATTERY CASE
Каталог запасных частей к технике: SDLG LG956L. BATTERY CASE
zoom-in
zoom-out
enlarge
shrink
circle-right
circle-left
file-text2
info
cart
Тип техники
Не выбрано
Легковые автомобили
Грузовые автомобили и прицепы
Автобусы
Сельхозтехника
Спецтехника
Двигатели
Мототехника
Марка
Не выбрано
Ammann
BOMAG
CARMIX
CASE IH
Changlin
ChengGong
Dimex
Doosan
DYNAPAC
Foton
HAMM
Hidromek
Hitachi
Hyundai
JCB
JLG
John Deere
Komatsu
LIEBHERR
LiuGong
Lonking (LongGong)
Luneng
MANITOU
Mitsuber
New Holland
PENGPU
RM-Terex
SANY
SDLG
SEM
Shantui
Shehwa HBXG
Soosan
TIGARBO
VOGELE
Volvo
WAY
WIRTGEN
XCMG
XGMA
Xiamen
YTO
Yuchai
Zoomlion
Автокран
АЗСМ
Алтайлесмаш
Амкодор
АОМЗ
Атек
АТЗ
Балканкар Рекорд
БелАЗ
Беловеж
Борекс
Брянский Арсенал
Булат
ВЭКС
ГАЗ
Геомаш
Гидромаш
Донекс
Дормаш
Дормашина
Дорэлектромаш
ДЭЗ
ЕлАЗ
ЗЗГТ
Ижнефтемаш
Канаш-электрокар
КЗКТ
ККЗ
Клевер
Клинцовский автокрановый завод
КМЗ
КМЗ 1 Мая
Ковровец
Коммаш
Кранэкс
КЭЗ
КЭМЗ
ЛЗА
МАЗ
МЗИК
МЗКМ
МЗКТ
Михневский РМЗ
МоАЗ
Мозырский МЗ
МТЗ
ОЗП
Онежец
ПАО "ТЗА"
ППС Детва
Промтрактор
ПТЗ
Раскат
СпецАгрегат
ТВЭКС
ТТМ
УВЗ
Угличмаш
УЗТМ
ХТЗ
ЧЗКМ
ЧСДМ
ЧТЗ
ЭКСКО
ЭКСМАШ
ЮрМаш
Модель
Не выбрано
B877 (2013)
B877 (2017)
G9138 (2020)
G9190 (2013)
L916 (2017)
L938F (2016)
L948 (2016)
L948F (2015)
L953N (2017)
L956F (2017)
L958F (2019)
LG6150E
LG6210E (2013)
LG918 (2008)
LG918 (2009)
LG933 (2008)
LG933 (2018)
LG933L (2011)
LG936 (2007)
LG936 (2007)
LG936L (2009)
LG936L (2013)
LG936L (2017)
LG938 (2006)
LG938 (2010)
LG938F (2015)
LG938L (2010)
LG944MSK (2015)
LG946L (2010)
LG952 (2007)
LG952 (2009)
LG952H (2009)
LG952H (2012)
LG952N (2016)
LG953 (2006)
LG953 (2008)
LG953 (2009)
LG953N (2015)
LG955N (2015)
LG956 (2005)
LG956F (2016)
LG956FH (2017)
LG956L (2009)
LG956L (2015)
LG956V (2015)
LG958 (2006)
LG958L (2009)
LG958L (2012)
LG958N (2013)
LG958N (2015)
LG968 (2007)
LG968 (2009)
LG969 (2007)
LG969 (2009)
LG969N (2015)
LGB680 (2007)
Схема
>
Не выбрано
DIESEL ENGINE ASSEMBLY
FUEL TANK ASSEMBLY
RADIATOR ASSEMBLY
GOVERNOR CONTROL SYSTEM
DIESEL ENGINE
TORQUE CONVERTER ASSEMBLY
TORQUE CONVERTER YJSW315-6C (370804)
CLEANER QF60M33G-1 (410708)
TRANSMISSION ASSEMBLE
TRANSMISSION ASSEMBLE A305
3RD SHAFT ASSY
4TH SHAFT ASSY (I)
4TH SHAFT ASSY (II)
OUTPUT SHAFT ASSY
TRANSMISSION CONTROL SYSTEM
TRANSMISSION CONTROL SHAFT LG953
TRANSMISSION CONTROL LG03-BSF VALVE (350802)
FRONT AXLE ASSEMBLY
FRONT MAIN DRIVE
FINAL DRIVE ASSEMBLY
DRIVE SHAFT GROUP
REAR AXLE ASSEMBLY
REAR AXLE MAIN DRIVE ASSY
FINAL DRIVE ASSEMBLY (REAR AXLE)
DISK BRAKE (371328)
TIRE GB2980-23.5-25 (520101)
TIRE 23.5-25-18PR-L3 (371002)
HYDRAULIC CONTROL ASSEMBLY
WORKING PUMP ASSEMBLY
LIFTING CYLINDER ASSEMBLY
DUMP CYLINDER ASSEMBLY
HYDRAULIC TANK ASSEMBLY
TILT CYLINDER (371368)
LIFT ARM CYLINDER (371368)
WORKING EQUIPMENT
BUCKET ASSEMBLY
STEERING PUMP ASSEMBLY
STEERING GEAR ASSEMBLY
STEERING CYLINDER ASSEMBLY
STEERING CYLINDER (371368)
SERVICE BRAKE SYSTEM
AIR RESERVOIR
BRAKE BOOSTER (340201)
PARKING BRAKE SYSTEM
HAND BRAKE (371322)
FRONT FRAME AND ACCESSORIES
ARTICULATION
LAMP FRAME AND FRONT FENDER
REAR FRAME AND ACCESSORIES
COUNTER WEIGHT
CAB ASSEMBLY
CAB
OPERATE BENCH
SEAT ASSEMBLY
OPERATE BOX
HOOD OF DIESEL ENGINE ASSEMBLY
LEFT BENCH GROUP
RIGHT BENCH GROUP
REAR STEERING LAMP HOOD
SIGN AND LOGO
BATTERY CASE
TOOL CASE
WARMING MACHINE
AIR CONDITIONER SYSTEM
WARMING MACHING
ELECTRIC SYSTEM
PANEL ASSEMBLY
INSTRUMENT DESK
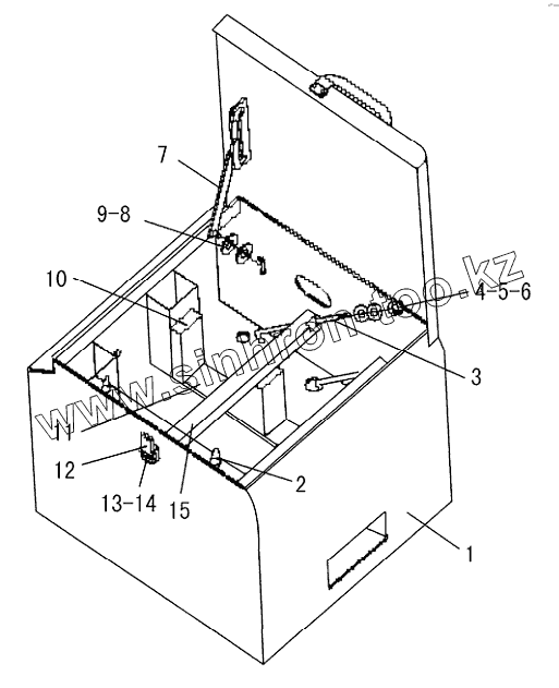
1
2
3
4
5
6
7
8
9
10
11
12
13
14
15
Позиция на иллюстрации
Заводской номер детали
Название детали
1
29340015731
BATTERY CASE
2
29340009101
RUBBER PLUG
3
29280000071
BOLT OF MOUNT BAR
4
4013000033
NUT
5
4015000036
WASHER
6
4015000072
WASHER
7
29340009091
LINK ASSEM
8
4015000168
WASHER
9
4016000035
SPLIT PIN
10
29280000051
MAT OF PASTERN
11
29280000061
MAT OF PASTERN
12
4190000025
LOCK
13
4014000023
SCREW
14
4015000110
WASHER
15
29280000081
MOUNT BAR
16
29340015871
SOFT LADDER
Содержащиеся в справочниках-каталогах запасные части и детали не предлагаются к продаже, а носят исключительно информационный характер
Дополнительная информация
×
Название:
Номер:
Примечание: