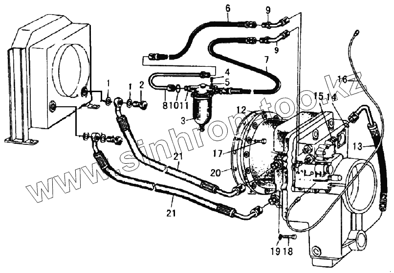
Каталог запасных частей к технике: SDLG LG956. TORQUE CONVERTER SYSTEM
1
1
2
3
4
5
6
7
8
9
9
10
11
12
13
14
15
16
17
18
19
20
21
21
| Позиция на иллюстрации | Заводской номер детали | Название детали | |
|---|---|---|---|
| 1 | 4015000203 | WASHER | |
| 2 | 4011000399 | BOLT | |
| 3 | 4120000034 | OIL FILTER | |
| 4 | 4011000107 | BOLT | |
| 5 | 4015000036 | WASHER | |
| 6 | 4120000044 | HOSE JB1886-25/28IX904 | |
| 7 | 4120000043 | HOSE JB1886-25/28IX810 | |
| 8 | 2904000006 | TUBE | |
| 9 | 2904000007 | ELBOW JOINT | |
| 10 | 4030000229 | O-RING | |
| 11 | 4120000125 | JOINT BODY | |
| 12 | 4110000011 | TORQUE CONVERTER | |
| 13 | 2905000003 | CLAMP | |
| 14 | 4030000013 | O-RING | |
| 15 | 4120000125 | JOINT BODY | |
| 16 | 2905000004 | TRANSMISSION | |
| 17 | 4011000204 | BOLT GB5783M12X35-Ep.Zn-8.8 | |
| 18 | 4011000207 | BOLT | |
| 19 | 4015000026 | WASHER | |
| 20 | 2904000004 | SEAL WASHER | |
| 21 | 2903000003 | HOSES ASSY |
Содержащиеся в справочниках-каталогах запасные части и детали не предлагаются к продаже, а носят исключительно информационный характер