Каталог запасных частей к технике: SDLG LG953. LG9530K1 FRONT FRAME
1
2
2
3
4
5
6
7
8
9
10
11
12
13
14
15
16
17
18
19
20
21
22
23
24
25
26
27
27
28
28
29
30
31
32
33
34
35
36
37
38
39
40
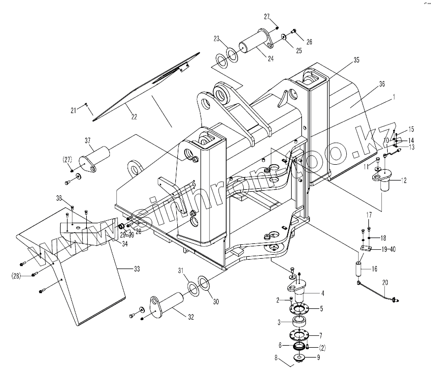
| Позиция на иллюстрации | Заводской номер детали | Название детали | |
|---|---|---|---|
| 1 | 29240001015 | FRONT FRAME | |
| 2 | 4011000089 | BOLT | |
| 3 | 4021000043 | SPHERICAL PLAIN BEARING | |
| 4 | 29250001021 | UP ARTICULATION PIN | |
| 5 | 29250001031 | FLANGE | |
| 6 | 29250001041 | BUSH | |
| 7 | 29250001051 | JOINING PLATE | |
| 8 | 4016000113 | SPLIT PIN | |
| 9 | 29250001061 | SLOTTED NUT | |
| 10 | 29250001071 | OIL TUBE | |
| 11 | 4011000093 | BOLT | |
| 12 | 29250001081 | UP ARTICULATION PIN | |
| 13 | 29250000311 | PLATE | |
| 14 | 4015000035 | WASHER | |
| 15 | 4014000024 | SCREW | |
| 16 | 29250001101 | FRONT PIN OF STEERING CYLINDER | |
| 17 | 4011000197 | BOLT | |
| 18 | 4015000026 | WASHER | |
| 19 | 29250001111 | PLATE | |
| 20 | 29250001141 | TUBE OF FRONT STEERING CYLINDER | |
| 21 | 4011000105 | BOLT | |
| 22 | 29250001131 | FRONT HOOD | |
| 23 | 4043000040 | SPACER | |
| 24 | 4043000017 | PIN | |
| 25 | 4040000002 | WASHER | |
| 26 | 4011000094 | BOLT | |
| 27 | 4030000065 | GREASE NIPPLE | |
| 28 | 4011000560 | BOLT | |
| 29 | 29250001361 | RUBBER SLOEVE | |
| 30 | 4043000037 | SPACER | |
| 31 | 4043000038 | SPACER | |
| 32 | 4043000016 | PIN | |
| 33 | 29250001152 | LEFT FRONT FENDER | |
| 34 | 29250001161 | LEFT LIGHT FRAME | |
| 35 | 29250001171 | RIGHT LIGHT FRAME | |
| 36 | 29250001182 | RIGHT FRONT FENDER | |
| 37 | 4043000020 | PIN | |
| 38 | 4011000474 | BOLT | |
| 39 | 29250001351 | RUBBER SLEEVE | |
| 40 | 29250001121 | PLATE |
Содержащиеся в справочниках-каталогах запасные части и детали не предлагаются к продаже, а носят исключительно информационный характер