Каталог запасных частей к технике: SDLG LG953. LG9530J1 SERVICE BRAKE SYSTEM
1
2
3
4
5
6
6
6
7
7
7
7
8
8
9
10
11
12
12
12
13
14
15
15
16
16
17
18
18
19
20
21
21
22
23
24
25
26
27
28
29
30
31
32
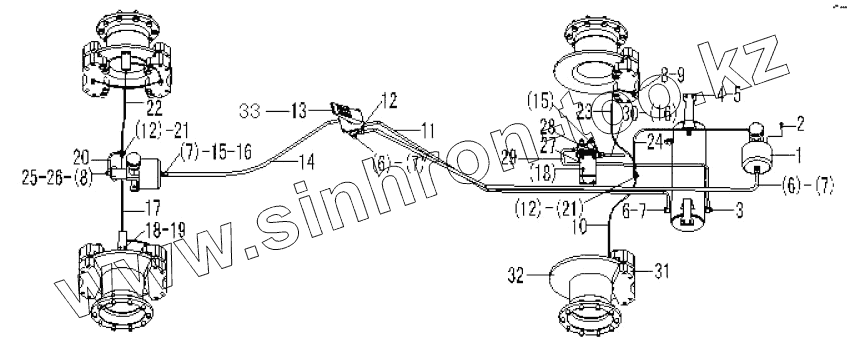
| Позиция на иллюстрации | Заводской номер детали | Название детали | |
|---|---|---|---|
| 1 | 4120000675 | BOOSTER | |
| 2 | 4011000447 | BOLT | |
| 3 | 29220001181 | TUBE FROM BRAKE VALVE TO REAR BOOSTER | |
| 4 | 4011000137 | BOLT | |
| 5 | 29220001041 | AIR RESERVIOR | |
| 6 | 29010000041 | BOLT | |
| 7 | 29010000061 | WASHER | |
| 8 | 29220000021 | WASHER | |
| 9 | 29220000031 | CONNECTER | |
| 10 | 29220008011 | OIL TUBE OF REAR AXLE | |
| 11 | 4041000077 | TUBE | |
| 12 | 4011000455 | BOLT | |
| 13 | 4120001795 | BRAKE CONTROL VALVE LY60F | |
| 14 | 4041000533 | TUBE | |
| 15 | 29010000071 | CONNECTOR | |
| 16 | 29010000051 | WASHER | |
| 17 | 29220001132 | OIL TUBE OF FRONT AXLE | |
| 18 | 4011000461 | BOLT | |
| 19 | 29220001121 | GUARD PLATE | |
| 20 | 4041000821 | PIPE | |
| 21 | 29220000131 | CONNECTOR | |
| 22 | 29220001142 | OIL TUBE OF FRONT AXLE | |
| 23 | 29220008001 | OIL TUBE OF REAR AXLE | |
| 24 | 4041000552 | TUBE | |
| 25 | 29220000161 | CONNECTER | |
| 26 | 29220000171 | WASHER | |
| 27 | 29010001031 | BRACKET OF AIR DYER | |
| 28 | 4120000084 | AIR DYER | |
| 29 | 29010001041 | TUBE TO AIR RESERVOIR | |
| 30 | 29010001051 | TUBE FROM AIR DYER TO AIR COMPRESSOR | |
| 31 | 4110000012 | DISC BRAKE | |
| 32 | 29070001071 | BRAKE DISK |
Содержащиеся в справочниках-каталогах запасные части и детали не предлагаются к продаже, а носят исключительно информационный характер