Вернуться на главную
Поиск
Каталоги запчастей к технике
Спецтехника
SDLG
LG953
LG9530A1-2 DISESEL ENGINE SYSTEM WD615G.220 (G0375)
Каталог запасных частей к технике: SDLG LG953. LG9530A1-2 DISESEL ENGINE SYSTEM WD615G.220 (G0375)
zoom-in
zoom-out
enlarge
shrink
circle-right
circle-left
file-text2
info
cart
Тип техники
Не выбрано
Легковые автомобили
Грузовые автомобили и прицепы
Автобусы
Сельхозтехника
Спецтехника
Двигатели
Мототехника
Марка
Не выбрано
Ammann
BOMAG
CARMIX
CASE IH
Changlin
ChengGong
Dimex
Doosan
DYNAPAC
Foton
HAMM
Hidromek
Hitachi
Hyundai
JCB
JLG
John Deere
Komatsu
LIEBHERR
LiuGong
Lonking (LongGong)
Luneng
MANITOU
Mitsuber
New Holland
PENGPU
RM-Terex
SANY
SDLG
SEM
Shantui
Shehwa HBXG
Soosan
TIGARBO
VOGELE
Volvo
WAY
WIRTGEN
XCMG
XGMA
Xiamen
YTO
Yuchai
Zoomlion
Автокран
АЗСМ
Алтайлесмаш
Амкодор
АОМЗ
Атек
АТЗ
Балканкар Рекорд
БелАЗ
Беловеж
Борекс
Брянский Арсенал
Булат
ВЭКС
ГАЗ
Геомаш
Гидромаш
Донекс
Дормаш
Дормашина
Дорэлектромаш
ДЭЗ
ЕлАЗ
ЗЗГТ
Ижнефтемаш
Канаш-электрокар
КЗКТ
ККЗ
Клевер
Клинцовский автокрановый завод
КМЗ
КМЗ 1 Мая
Ковровец
Коммаш
Кранэкс
КЭЗ
КЭМЗ
ЛЗА
МАЗ
МЗИК
МЗКМ
МЗКТ
Михневский РМЗ
МоАЗ
Мозырский МЗ
МТЗ
ОЗП
Онежец
ПАО "ТЗА"
ППС Детва
Промтрактор
ПТЗ
Раскат
СпецАгрегат
ТВЭКС
ТТМ
УВЗ
Угличмаш
УЗТМ
ХТЗ
ЧЗКМ
ЧСДМ
ЧТЗ
ЭКСКО
ЭКСМАШ
ЮрМаш
Модель
Не выбрано
B877 (2013)
B877 (2017)
G9138 (2020)
G9190 (2013)
L916 (2017)
L938F (2016)
L948 (2016)
L948F (2015)
L953N (2017)
L956F (2017)
L958F (2019)
LG6150E
LG6210E (2013)
LG918 (2008)
LG918 (2009)
LG933 (2008)
LG933 (2018)
LG933L (2011)
LG936 (2007)
LG936 (2007)
LG936L (2009)
LG936L (2013)
LG936L (2017)
LG938 (2006)
LG938 (2010)
LG938F (2015)
LG938L (2010)
LG944MSK (2015)
LG946L (2010)
LG952 (2007)
LG952 (2009)
LG952H (2009)
LG952H (2012)
LG952N (2016)
LG953 (2006)
LG953 (2008)
LG953 (2009)
LG953N (2015)
LG955N (2015)
LG956 (2005)
LG956F (2016)
LG956FH (2017)
LG956L (2009)
LG956L (2015)
LG956V (2015)
LG958 (2006)
LG958L (2009)
LG958L (2012)
LG958N (2013)
LG958N (2015)
LG968 (2007)
LG968 (2009)
LG969 (2007)
LG969 (2009)
LG969N (2015)
LGB680 (2007)
Схема
>
Не выбрано
LG9530A1-2 DISESEL ENGINE SYSTEM WD615G.220 (G0375)
LG9530A2 GOVERNOR CONTROL SYSTEM
LG9530A3 PARKING CONTROL SYSTEM
LG9530B1 TORQUE CONVERTER SYSTEM
LG9530C1-1 TRANSMISSION SYSTEM (I)
LG9530C2-1 TRANSMISSION SYSTEM (II)
LG9530C3 3RD SHAFT
LG9530C4 4RD SHAFT (I)
LG9530C5 4RD SHAFT (II)
LG9530C6 5RD SHAFT
LG9530D1 TRANSMISSION SYSTEM
LG9530E1-1 AXLE SYSTEM
LG9530E2-1 AXLE ASSEMBLY
LG9530E3 FRONT AXLE MAIN DRIVE ASSY
LG9530E4 REAR AXLE MAIN DRIVE ASSY
LG9530E5 FINAL DRIVE ASSEMBLY
LG9530E6 RIM AND TYRE ASSEMBLY
LG9530E7 FRONT DRIVE SHAFT
LG9530E8 REAR DRIVE SHAFT
LG9530F1-4 IMPLEMENT HYDRAULIC SYSTEM
LG9530G1 FUEL TANK ASSEMBLY
LG9530G2 HYDRAULIC TANK ASSEMBLY
LG9530H1 WORKING EQUIPMENT
LG9530I1-4 STEERING SYSTEM
LG9530J1 SERVICE BRAKE SYSTEM
LG9530J3 AIR RESERVOIR, BRAKE CONTROL VALVE, AIR DRYER
LG9530J5 PARKING BRAKE SYSTEM
LG9530K1 FRONT FRAME
LG9530K2 REAR FRAME
LG9530K3 COUNTER WEIGHT
LG9530L1-9 CAB GROUP
LG9530L2 CAB INTERIOR DECORATION
LG9530L3 SEAT ASSEMBLY
LG9530M1 HOOD OF DIESEL ENGINE ASSEMBLY
LG9530M2 LEFT BENCH GROUP
LG9530M3 RIGHT BENCH GROUP
LG9530M4 REAR STEERING LAMP HOOD
LG9530M5 LEFT BATTERY CASE
LG9530M6 RIGHT BATTERY CASE
LG9530N1 AIR CONDITIONER SYSTEM
LG9530N2 WARMING MACHING
LG9530O1 ELECTRIC SYSTEM
LG9530P1-1 WORKING EQUIPMENT
LG9530P1-2 WORKING EQUIPMENT
LG9530P2 WORKING EQUIPMENT
LG9530P3.1 WORKING EQUIPMENT
LG9530P4.1 WORKING EQUIPMENT
LG9530P5.1 WORKING EQUIPMENT
LG9530P6 WORKING EQUIPMENT
LG9530P7.1 WORKING EQUIPMENT
LG9530P7.2 WORKING EQUIPMENT
LG9530P8.1 WORKING EQUIPMENT
1
2
3
4
5
6
7
8
9
10
11
12
13
14
15
15
16
17
18
19
Позиция на иллюстрации
Заводской номер детали
Название детали
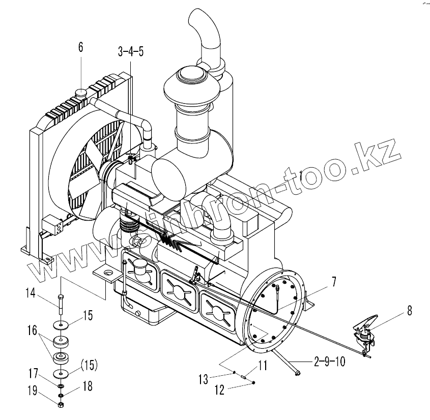
1
4110000113
DISESEL ENGINE SYSTEM
2
4120000075
CLAMP
3
4030000195
HOSE
4
4120000067
VALVE-HEATER
5
29030000041
CLAMP
6
4120000597
RADIATOR
7
29010001021
PARKING CONCTROL SYSTEM
8
29010000021
GOVERNOR CONTROL SYSTEM
9
4030000495
HOSE JB8406-B16x265
10
29010000121
CONNECTOR
11
29010000111
DOUBLE BOLT
12
4013000007
NUT
13
4015000025
Washer
14
4011000579
BOLT GB5785-M20x1.5x120EpZn-8.8
15
29050000121
WASHER
16
29050000101
SHOCK MOUNT
17
4015000176
WASHER
18
4015000030
WASHER
19
4013000160
NUT GB889.2-M20x1.5 EpZn-8
Содержащиеся в справочниках-каталогах запасные части и детали не предлагаются к продаже, а носят исключительно информационный характер
Дополнительная информация
×
Название:
Номер:
Примечание: