Вернуться на главную
Поиск
Каталоги запчастей к технике
Спецтехника
SDLG
LG952H
CLEANER QF60M33G-1 (371328)
Каталог запасных частей к технике: SDLG LG952H. CLEANER QF60M33G-1 (371328)
zoom-in
zoom-out
enlarge
shrink
circle-right
circle-left
file-text2
info
cart
Тип техники
Не выбрано
Легковые автомобили
Грузовые автомобили и прицепы
Автобусы
Сельхозтехника
Спецтехника
Двигатели
Мототехника
Марка
Не выбрано
Ammann
BOMAG
CARMIX
CASE IH
Changlin
ChengGong
Dimex
Doosan
DYNAPAC
Foton
HAMM
Hidromek
Hitachi
Hyundai
JCB
JLG
John Deere
Komatsu
LIEBHERR
LiuGong
Lonking (LongGong)
Luneng
MANITOU
Mitsuber
New Holland
PENGPU
RM-Terex
SANY
SDLG
SEM
Shantui
Shehwa HBXG
Soosan
TIGARBO
VOGELE
Volvo
WAY
WIRTGEN
XCMG
XGMA
Xiamen
YTO
Yuchai
Zoomlion
Автокран
АЗСМ
Алтайлесмаш
Амкодор
АОМЗ
Атек
АТЗ
Балканкар Рекорд
БелАЗ
Беловеж
Борекс
Брянский Арсенал
Булат
ВЭКС
ГАЗ
Геомаш
Гидромаш
Донекс
Дормаш
Дормашина
Дорэлектромаш
ДЭЗ
ЕлАЗ
ЗЗГТ
Ижнефтемаш
Канаш-электрокар
КЗКТ
ККЗ
Клевер
Клинцовский автокрановый завод
КМЗ
КМЗ 1 Мая
Ковровец
Коммаш
Кранэкс
КЭЗ
КЭМЗ
ЛЗА
МАЗ
МЗИК
МЗКМ
МЗКТ
Михневский РМЗ
МоАЗ
Мозырский МЗ
МТЗ
ОЗП
Онежец
ПАО "ТЗА"
ППС Детва
Промтрактор
ПТЗ
Раскат
СпецАгрегат
ТВЭКС
ТТМ
УВЗ
Угличмаш
УЗТМ
ХТЗ
ЧЗКМ
ЧСДМ
ЧТЗ
ЭКСКО
ЭКСМАШ
ЮрМаш
Модель
Не выбрано
B877 (2013)
B877 (2017)
G9138 (2020)
G9190 (2013)
L916 (2017)
L938F (2016)
L948 (2016)
L948F (2015)
L953N (2017)
L956F (2017)
L958F (2019)
LG6150E
LG6210E (2013)
LG918 (2008)
LG918 (2009)
LG933 (2008)
LG933 (2018)
LG933L (2011)
LG936 (2007)
LG936 (2007)
LG936L (2009)
LG936L (2013)
LG936L (2017)
LG938 (2006)
LG938 (2010)
LG938F (2015)
LG938L (2010)
LG944MSK (2015)
LG946L (2010)
LG952 (2007)
LG952 (2009)
LG952H (2009)
LG952H (2012)
LG952N (2016)
LG953 (2006)
LG953 (2008)
LG953 (2009)
LG953N (2015)
LG955N (2015)
LG956 (2005)
LG956F (2016)
LG956FH (2017)
LG956L (2009)
LG956L (2015)
LG956V (2015)
LG958 (2006)
LG958L (2009)
LG958L (2012)
LG958N (2013)
LG958N (2015)
LG968 (2007)
LG968 (2009)
LG969 (2007)
LG969 (2009)
LG969N (2015)
LGB680 (2007)
Схема
>
Не выбрано
ENGINE ASSEMBLY
TANK ASSEMBLY
RADIATOR ASSEMBLY
GOVERNOR CONTROL SYSTEM
TORQUE CONVERTER ASSEMBLY
TORQUE CONVERTER YJSW315-8A (370804)
CLEANER QF60M33G-1 (410708)
CLEANER QF60M33G-1 (371328)
TRANSMISSION ASSEMBLY
TRANSMISSION ASSEMBLE A307A
3RD SHAFT ASSY
4TH SHAFT ASSY (I)
4TH SHAFT ASSY (II)
OUTPUT SHAFT ASSEMBLY
TRANSMISSION SYSTEM
TRANSMISSION CONTROL LG03-BSF VALVE (350802)
TRANSMISSION CONTROL SHAFT LG953
FRONT AXLE ASSEMBLY
FRONT AXLE MAIN DRIVE ASSEMBLY
DRIVE SHAFT GROUP
REAR AXLE ASSEMBLY
REAR AXLE MAIN DRIVE ASSEMBLY
FINAL DRIVE ASSEMBLY (REAR AXLE)
DISK BRAKE (371328)
TIRE GB2980-23.5-25 (520101)
REAR DRIVING AXLE (350501)
DISC BRAKE (371104)
HYDRAULIC CONTROL ASSEMBLY
WORKING PUMP ASSEMBLY
LIFT ARM CYLINDER ASSEMBLY
TILT CYLINDER ASSEMBLY
HYDRAULIC TANK ASSEMBLY
DUMP CYLINDER (371401)
DUMP CYLINDER (371368)
LIFT ARM CYLINDER (371401)
LIFT ARM CYLINDER (371368)
CONTROL VAVLE DFS-32-17 (331005)
LIFT ARM CYLINDER (3713CH)
WORKING EQUIPMENT
LINKAGE STRUCTURE
BUCKET ASSEMBLY
STEERING PUMP ASSEMBLY
STEERING UNIT ASSEMBLY
STEERING CYLINDER ASSEMBLY
STEERING CYLINDER (371401)
STEERING CYLINDER (371368)
STEERING CYLINDER (3713CH)
SERVICE BRAKE ASSEMBLY
AIR RESERVOIR
BRAKE BOOSTER (340201)
PARKING BRAKE ASSEMBLY
BRAKE BOOSTER (330604)
FRONT FRAME
REAR FRAME
COUNTER WEIGHT
CAB
CAB
OPERATE BENCH
SEAT ASSEMBLY (321013)
SEAT ASSEMBLY (331002)
ENGINE HOOD ASSEMBLY
LEFT BENCH GROUP
RIGHT BENCH GROUP
SIGN AND LOGO
SIGN AND LOGO
BATTERY CASE
TOOL CASE
REAR STEERING LAMP HOOD
WARMER OF LG933
WARMING MACHING
ELECTRIC SYSTEM
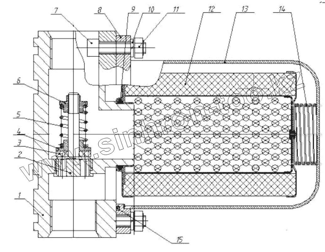
1
2
3
4
5
6
7
8
9
10
11
12
13
14
15
Позиция на иллюстрации
Заводской номер детали
Название детали
1
4110000507020
BED JS-LQQX-01
2
4110000507021
VALVE BODY JS-LQQ-05-05
3
4110000507023
GASKET JS-LQQ-05-04
4
4110000507024
SPRING-SUPPORTED JS-LQQ-05-03
5
4110000507025
SPRING JS-LQQ-05-02
6
4110000507026
GLAND NUT JS-LQQ-05-01
7
4014000235
SCREW GB2671.2-M8x40EpZn-8.8
8
4110000507027
PRESS PLATE JS-LQQX-04
9
4110000507028
O-RONG 44x3.1 JS-LQQ-06
10
4015000036
WASHER
11
4013000033
NUT
12
4110000508
FILTER CORE
13
4110000507029
ENCLOSER JS-LQQX-03
14
4110000507030
SPRING JS-LQQX-08
15
4110000507031
SEALING RING 106x3.1 JS-LQQX-07
Содержащиеся в справочниках-каталогах запасные части и детали не предлагаются к продаже, а носят исключительно информационный характер
Дополнительная информация
×
Название:
Номер:
Примечание: