Каталог запасных частей к технике: SDLG LG952. FRONT FRAME
1
2
3
4
5
6
7
8
9
10
11
12
12
13
14
15
16
17
18
19
19
19
19
19
20
20
20
20
21
22
23
24
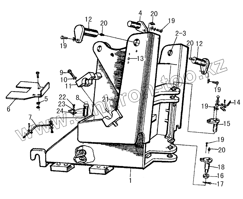
| Позиция на иллюстрации | Заводской номер детали | Название детали | |
|---|---|---|---|
| 1 | 2924000880 | FRONT FRAME | |
| 2 | 3110900490 | SPACER | |
| 3 | 3110900494 | SPACER | |
| 4 | 2110900132 | REAR PIN FOR TILT CYLINDER | |
| 5 | 4013000011 | NUT | |
| 6 | 2912001138 | CONNECTING PLATE | |
| 7 | 2110900133 | TUBE | |
| 8 | 2925000110 | FRONT OF STEERING CYLINDER | |
| 9 | 4011000069 | BOLT GB5782-M16x90EpZn-8.8 | |
| 10 | 4015000098 | WASHER GB93-16-65Mn | |
| 11 | 3110900491 | SUPPORTED BLOCK | |
| 12 | 2110900134 | PIN FOR LIFT ARM | |
| 13 | 2925000135 | RUBBER SLEEVE | |
| 14 | 2110900052 | TUBE | |
| 15 | 2925000108 | UP ARTICULATION PIN | |
| 16 | 2925000106 | SLOTTED NUT | |
| 17 | 4016000113 | SPLIT PIN | |
| 18 | 2925000102 | DOWN ARTICULATION PIN | |
| 19 | 4011000094 | BOLT | |
| 20 | 4030000065 | GREASE NIPPLE | |
| 21 | 3110900493 | DOWEL PIN | |
| 22 | 4011000197 | BOLT | |
| 23 | 4015000026 | WASHER | |
| 24 | 2925000111 | PLATE |
Содержащиеся в справочниках-каталогах запасные части и детали не предлагаются к продаже, а носят исключительно информационный характер