Вернуться на главную
Поиск
Каталоги запчастей к технике
Спецтехника
SDLG
LG946L
LIFT ARM CYLINDER (371401)
Каталог запасных частей к технике: SDLG LG946L. LIFT ARM CYLINDER (371401)
zoom-in
zoom-out
enlarge
shrink
circle-right
circle-left
file-text2
info
cart
Тип техники
Не выбрано
Легковые автомобили
Грузовые автомобили и прицепы
Автобусы
Сельхозтехника
Спецтехника
Двигатели
Мототехника
Марка
Не выбрано
Ammann
BOMAG
CARMIX
CASE IH
Changlin
ChengGong
Dimex
Doosan
DYNAPAC
Foton
HAMM
Hidromek
Hitachi
Hyundai
JCB
JLG
John Deere
Komatsu
LIEBHERR
LiuGong
Lonking (LongGong)
Luneng
MANITOU
Mitsuber
New Holland
PENGPU
RM-Terex
SANY
SDLG
SEM
Shantui
Shehwa HBXG
Soosan
TIGARBO
VOGELE
Volvo
WAY
WIRTGEN
XCMG
XGMA
Xiamen
YTO
Yuchai
Zoomlion
Автокран
АЗСМ
Алтайлесмаш
Амкодор
АОМЗ
Атек
АТЗ
Балканкар Рекорд
БелАЗ
Беловеж
Борекс
Брянский Арсенал
Булат
ВЭКС
ГАЗ
Геомаш
Гидромаш
Донекс
Дормаш
Дормашина
Дорэлектромаш
ДЭЗ
ЕлАЗ
ЗЗГТ
Ижнефтемаш
Канаш-электрокар
КЗКТ
ККЗ
Клевер
Клинцовский автокрановый завод
КМЗ
КМЗ 1 Мая
Ковровец
Коммаш
Кранэкс
КЭЗ
КЭМЗ
ЛЗА
МАЗ
МЗИК
МЗКМ
МЗКТ
Михневский РМЗ
МоАЗ
Мозырский МЗ
МТЗ
ОЗП
Онежец
ПАО "ТЗА"
ППС Детва
Промтрактор
ПТЗ
Раскат
СпецАгрегат
ТВЭКС
ТТМ
УВЗ
Угличмаш
УЗТМ
ХТЗ
ЧЗКМ
ЧСДМ
ЧТЗ
ЭКСКО
ЭКСМАШ
ЮрМаш
Модель
Не выбрано
B877 (2013)
B877 (2017)
G9138 (2020)
G9190 (2013)
L916 (2017)
L938F (2016)
L948 (2016)
L948F (2015)
L953N (2017)
L956F (2017)
L958F (2019)
LG6150E
LG6210E (2013)
LG918 (2008)
LG918 (2009)
LG933 (2008)
LG933 (2018)
LG933L (2011)
LG936 (2007)
LG936 (2007)
LG936L (2009)
LG936L (2013)
LG936L (2017)
LG938 (2006)
LG938 (2010)
LG938F (2015)
LG938L (2010)
LG944MSK (2015)
LG946L (2010)
LG952 (2007)
LG952 (2009)
LG952H (2009)
LG952H (2012)
LG952N (2016)
LG953 (2006)
LG953 (2008)
LG953 (2009)
LG953N (2015)
LG955N (2015)
LG956 (2005)
LG956F (2016)
LG956FH (2017)
LG956L (2009)
LG956L (2015)
LG956V (2015)
LG958 (2006)
LG958L (2009)
LG958L (2012)
LG958N (2013)
LG958N (2015)
LG968 (2007)
LG968 (2009)
LG969 (2007)
LG969 (2009)
LG969N (2015)
LGB680 (2007)
Схема
>
Не выбрано
DIESEL ENGINE ASSEMBLY
FUEL TANK ASSY
RADIATOR ASSEMBLY
TORQUE CONVERTER ASSEMBLY
YSW315-6G
CLEANER QF60M33G-1 (410708)
CLEANER QF60M33G-1 (371328)
TRANSMISSION ASSEMBLY
TRANSMISSION ASSEMBLY A307A
3RD SHAFT ASSY
4TH SHAFT ASSY (I)
4TH SHAFT ASSY (II)
OUTPUT SHAFT ASSEMBLY
TRANSMISSION CONTROL SYSTEM
TRANSMISSION CONTROL INSTITUTION LG936L
TRANSMISSION CONTROL LG03-SF VALVE (350802)
FRONT AXLE ASSEMBLY
FRONT AXLE MAIN DRIVE ASSEMBLY
DRIVE SHAFT ASSEMBLY
REAR AXLE ASSEMBLY
REAR AXLE MAIN DRIVE ASSEMBLY
FINAL DRIVE ASSEMBLY
DISK BRAKE (371328)
DISC BRAKE (371104)
HYDRAULIC CONTROL SYSTEM
WORKING PUMP ASSEMBLY
LIFTING CYLINDER ASSEMBLY
DUMP CYLINDER ASSEMBLY
HYDRAULIC TANK ASSEMBLY
TILT CYLINDER (371401)
LIFT ARM CYLINDER (371401)
MULTIPLE UNIT VALVE DFS-32-16 (331001)
WORKING EQUIPMENT
STEERING PUMP ASSEMBLY
STEERING GEAR
STEERING CYLINDER ASSEMBLY
STEERING CYLINDER (371401)
STEERING CYLINDER (371368)
SERVICE BRAKE SYSTEM
AIR RESERVOIR
BRAKE BOOSTER (340201)
PARKING BRAKE SYSTEM
BRAKE CONTROL VALVE (330604)
FRONT FRAME
LAMP FRAME AND FRONT FENDER
REAR FRAME AND ACCESSORIES
COUNTER WEIGHT
CAB ASSEMBLY
CAB GROUP
BENCH GROUP
SEAT ASSEMBLY (321013)
OPERATE BOX
SEAT ASSEMBLY (331002)
ENGINE HOOD ASSEMBLY
LEFT BENCH GROUP
RIGHT BENCH GROUP
REAR STEERING LAMP HOOD
SIGN AND LOGO
DOWN LADDER ASSEMBLY
WARMING MACHINE
WARMING MACHING
ELECTRIC SYSTEM
PANEL ASSEMBLY
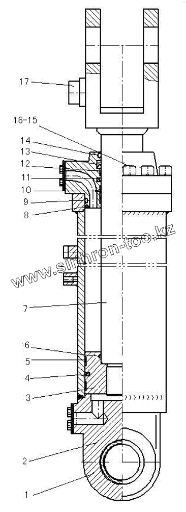
1
2
3
4
5
6
7
8
9
10
11
12
13
14
15
16
17
Позиция на иллюстрации
Заводской номер детали
Название детали
1
4120002522002
BUSH
2
4120002522003
CYLlNDER BODY
3
4120002522004
PlSTON
4
4120002522001
SEALlNG KlT
5
4120002522001
SEALlNG KlT
6
4120002522001
SEALlNG KlT
7
4120002522005
PlSTON ROD
8
4120002522006
CYLlNDER HEAD
9
4120002522001
SEALlNG KlT
10
4120002522001
SEALlNG KlT
11
4120002522001
SEALlNG KlT
12
4120002522001
SEALlNG KlT
13
4120002522001
SEALlNG KlT
14
4120002522001
SEALlNG KlT
15
4014000147
BOLT GB70.1-M12x45EpZn-10.9
16
4015000026
WASHER
17
4120002522007
SEAT
Содержащиеся в справочниках-каталогах запасные части и детали не предлагаются к продаже, а носят исключительно информационный характер
Дополнительная информация
×
Название:
Номер:
Примечание: