Каталог запасных частей к технике: SDLG LG938L. REAR FRAME ASSEMBLY
1
2
3
4
5
6
7
7
8
9
10
10
11
12
13
14
15
16
17
18
19
20
20
21
22
23
24
25
26
27
28
29
30
31
32
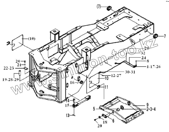
| Позиция на иллюстрации | Заводской номер детали | Название детали | |
|---|---|---|---|
| 1 | 29250000311 | PLATE | |
| 2 | 29270001051 | ADJUST SPACER | |
| 3 | 29270001061 | ADJUST SPACER | |
| 4 | 29270001071 | ADJUST SPACER | |
| 5 | 29270007831 | BUSH | |
| 6 | 29270008591 | JOINTING PIN | |
| 7 | 29270009101 | Rubber sleeve | |
| 8 | 4030000065 | GREASE NIPPLE | |
| 9 | 29270007841 | OSCILLATING FRAME | |
| 10 | 29270008551 | HOOD | |
| 11 | 29270007792 | RUBBER BUSH | |
| 12 | 4011000102 | BOLT | |
| 13 | 4016000040 | SPLINT PIN | |
| 14 | 4016000222 | PIN | |
| 15 | 29270008891 | MOUNT BAR | |
| 16 | 29270007551 | RUBBER SLEEVE | |
| 17 | 4015000035 | WASHER | |
| 18 | 4040000001 | WASHER | |
| 19 | 29270007971 | REAR PIN OF STEERING CYLINDER | |
| 20 | 4011000197 | BOLT | |
| 21 | 4015000026 | WASHER | |
| 22 | 29250001111 | PLATE | |
| 23 | 29250001121 | PLATE | |
| 24 | 29270007771 | FRONT OIL TUBE | |
| 25 | 29260008373 | REAR FRAME | |
| 26 | 4014000024 | SCREW | |
| 27 | 4015000256 | WASHER | |
| 28 | 4043000064 | SPACER | |
| 29 | 4043000325 | SPACER | |
| 30 | 29250000291 | BOLT | |
| 31 | 29250000301 | WASHER | |
| 32 | 29270007751 | REAR OIL TUBE |
Содержащиеся в справочниках-каталогах запасные части и детали не предлагаются к продаже, а носят исключительно информационный характер