Каталог запасных частей к технике: SDLG LG938L. CONTROL VALVE PARTS
1
2
3
4
5
6
7
8
9
10
11
12
13
14
15
16
17
18
19
20
21
22
23
24
25
26
27
28
29
30
31
32
33
34
35
36
37
38
39
40
41
42
43
44
45
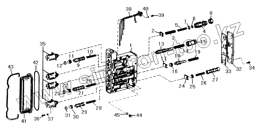
| Позиция на иллюстрации | Заводской номер детали | Название детали | |
|---|---|---|---|
| 1 | 4110000076312 | VALVE BODY 4642 306 152 | |
| 2 | 4110000076174 | LOCKING PLATE 4620 306 248 | |
| 3 | 4110000076292 | SPRING 0732 040 838 | |
| 4 | 4110000076172 | VALVE CORE 4620 306 245 | |
| 5 | 4110000076248 | SPRING 0732 040 837 | |
| 6 | 4110000076244 | SCREW-IN SLEEVE 0730 061 778 | |
| 7 | 4110000076122 | SHIM 0769 120 747 | |
| 8 | 4110000076285 | BUSHING 4620 306 247 | |
| 9 | 4110000076184 | VALVE CORE 4642 306 094 | |
| 10 | 4110000076253 | SPRING 0732 041 254 | |
| 11 | 4110000076175 | BACKING PIN 4620 306 252 | |
| 12 | 4110000076216 | O-RING 0634 303 118 | |
| 13 | 4110000076314 | VALVE CORE 4620 306 413 | |
| 14 | 4110000076255 | BACKING PIN 0732 041 390 | |
| 15 | 4110000076178 | FIXING PLATE 4620 306 414 | |
| 16 | 4110000076315 | VALVE CORE 4644 306 549 | |
| 17 | 4110000076194 | FIXING PLATE 4644 306 241 | |
| 18 | 4110000076176 | VALVE CORE 4620 306 255 | |
| 19 | 4110000076250 | SPRING 0732 041 154 | |
| 20 | 4110000076253 | SPRING 0732 041 254 | |
| 21 | 4110000076183 | VALVE CORE 4642 306 093 | |
| 22 | 4110000076175 | BACKING PIN 4620 306 252 | |
| 23 | 4110000076216 | O-RING 0634 303 118 | |
| 24 | 4110000076180 | LOCKING PLATE 4642 306 049 | |
| 25 | 4110000076299 | BACKING PIN 4644 306 549 | |
| 26 | 4110000076253 | SPRING 0732 041 254 | |
| 27 | 4110000076185 | VALVE CORE 4642 306 095 | |
| 28 | 4110000076253 | SPRING 0732 041 254 | |
| 29 | 4110000076186 | VALVE CORE 4642 306 096 | |
| 30 | 4110000076175 | BACKING PIN 4620 306 252 | |
| 31 | 4110000076216 | O-RING 0634 303 118 | |
| 32 | 4110000076318 | COVER 4620 306 415 | |
| 33 | 4110000076179 | GASKET 4620 306 479 | |
| 34 | 4110000367141 | HEX. BOLT 0636 015 244 | |
| 35 | 4110000076001 | SOLENOID VALVE 0501 315 338 | |
| 36 | 4110000367147 | SOCKET BOLT 0636 101 129 | |
| 37 | 4015000286 | SPRING WASHER GB859-5-65Mn | |
| 38 | 4110000076390 | CABLE SET 6029 241 303 | |
| 39 | 4014000191 | SLOTTED SCREW GB65-M4x12-4.8 | |
| 40 | 4110000367119 | SADDLE FLEXIBLE WASHER 0630 302 076 | |
| 41 | 4110000076303 | SOLENOID VALVE HOUSING 4620 306 259 | |
| 42 | 4110000076129 | O-RING 0634 303 951 | |
| 43 | 4110000076171 | CLAMP 4620 306 241 | |
| 44 | 4030000311 | PLUG | |
| 45 | 4110000076224 | COPPER WASHER 0634 801 152 |
Содержащиеся в справочниках-каталогах запасные части и детали не предлагаются к продаже, а носят исключительно информационный характер