Каталог запасных частей к технике: SDLG LG938. TRANSMISSION SYSTEM
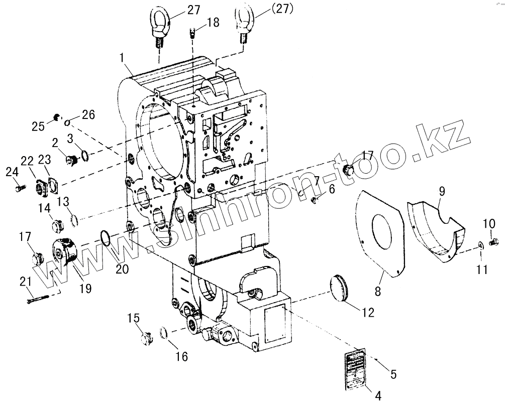
1
2
3
4
5
6
7
8
9
10
11
12
13
14
15
16
17
17
18
19
20
21
22
23
24
25
26
27
27
| Позиция на иллюстрации | Заводской номер детали | Название детали | |
|---|---|---|---|
| 1 | YD13301006 | GEARBOXHOUSING | |
| 2 | 0636305019 | PLUG | |
| 3 | 0634303233 | O-RING | |
| 4 | 403091A | TYPE PLATE | |
| 5 | GB/T827-1986 | GROOVE STUD | |
| 6 | 0636305007 | PLUG | |
| 7 | 0634306522 | O-RING | |
| 8 | COVERPLATE | COVER PLATE | |
| 9 | COVERPLATE | COVER PLATE | |
| 10 | GB/T5783-2000 | BOLT | |
| 11 | GB/T848-1985 | WASHER | |
| 12 | 4466351081 | SEALING COVER | |
| 13 | 0634304275 | O-RING | |
| 14 | 0636305023 | PLUG | |
| 15 | 0636305023 | PLUG | |
| 16 | 0634304275 | O-RING | |
| 17 | 0637510206 | PLUG | |
| 18 | 0750131027 | BREATHER CAP | |
| 19 | COVER | COVER | |
| 20 | 0634113529 | O-RING | |
| 21 | GB/T5782-2000 | BOLT | |
| 22 | YD13301007 | OIL-IN COVER | |
| 23 | YD13301008 | GASKET | |
| 24 | GB/T5783-2000 | BOLT | |
| 25 | 0636305011 | PLUG | |
| 26 | 0636306524 | O-RING | |
| 27 | GB/T825-1988 | SCREW |
Содержащиеся в справочниках-каталогах запасные части и детали не предлагаются к продаже, а носят исключительно информационный характер