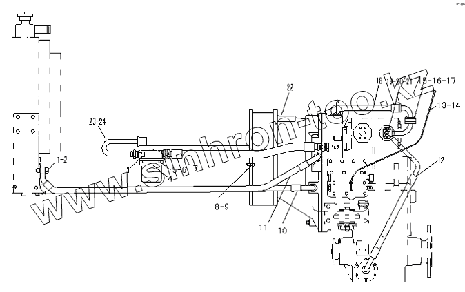
Каталог запасных частей к технике: SDLG LG936. TORQUE CONVERTER SYSTEM
1
2
3
4
5
6
7
8
9
10
11
12
13
14
15
16
17
18
19
20
21
22
23
24
| Позиция на иллюстрации | Заводской номер детали | Название детали | |
|---|---|---|---|
| 1 | 4015000203 | WASHER | |
| 2 | 3020900010 | CONNECTOR | |
| 3 | 29040007701 | OIL TUBE | |
| 4 | 4110000357 | OIL FILTER QF60M33G | |
| 5 | 4011000107 | BOLT | |
| 6 | 4015000036 | WASHER | |
| 7 | 29040007711 | OIL TUBE | |
| 8 | 4011000498 | BOLT GB5782-M12x45EpZn-8.8 | |
| 9 | 4015000026 | WASHER | |
| 10 | 29030008421 | OIL TUBE | |
| 11 | 29030008431 | OIL TUBE | |
| 12 | 29040007581 | OIL TUBE | |
| 13 | 2010900107 | SHIFT PRESS VITTA | |
| 14 | 3010900170 | CONNECTOR | |
| 15 | 4011000475 | BOLT | |
| 16 | 4030000024 | O-RING | |
| 17 | 3010900184 | COVER | |
| 18 | 29040007531 | PIPE | |
| 19 | 4011000527 | BOLT | |
| 20 | 4011000481 | BOLT | |
| 21 | 4030000025 | O-RING GB3452.1-25x3.55G | |
| 22 | 4110000160 | TORQUE CONVERTER | |
| 23 | 4120000125 | JOINT BODY | |
| 24 | 4030000229 | O-RING |
Содержащиеся в справочниках-каталогах запасные части и детали не предлагаются к продаже, а носят исключительно информационный характер