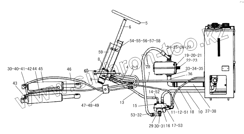
Каталог запасных частей к технике: SDLG LG936. STEERING SYSTEM
1
2
3
4
5
6
7
8
9
10
11
12
13
14
15
16
17
18
19
20
21
22
23
24
25
26
27
28
29
30
30
31
32
33
34
35
36
37
38
40
41
42
43
44
45
46
47
48
49
50
51
52
53
53
54
55
56
57
58
59
| Позиция на иллюстрации | Заводской номер детали | Название детали | |
|---|---|---|---|
| 1 | 4041000516 | PIPE | |
| 2 | 29200004021 | OIL OUTLET TUBE OF STEERING GEAR | |
| 3 | 4030000501 | O-RING | |
| 4 | 29200004031 | OUTLET TUBE FROM STEERING DEVICE | |
| 5 | 4120000360 | STEERING WHEEL | |
| 6 | 4120001855 | STEERIGN COLUMN LG20-ZXZ-09 | |
| 7 | 4041000564 | JOINT | |
| 8 | 4011000473 | BOLT | |
| 9 | 4120001317 | STEERING GEAR | |
| 10 | 4041000515 | PIPE LGB165012129 | |
| 11 | 29200007781 | FEEDBACK OIL PIPE OF PRIORITY VALVE | |
| 12 | 4041000131 | JOINT | |
| 13 | 29200008251 | OIL PIPE OF STEERING GEAR | |
| 14 | 4041000187 | JOINT | |
| 15 | 4011000302 | BOLT | |
| 16 | 4120000709 | PRIORITY VALVE | |
| 17 | 4041000188 | JOINT | |
| 18 | 4041000514 | PIPE | |
| 19 | 4012000003 | DOUBLE-SCREW BOLT | |
| 20 | 4015000168 | WASHER | |
| 21 | 4013000011 | NUT | |
| 22 | 4120000866 | TANDEM GEAR PUMP | |
| 23 | 29110000041 | SEALING WASHER | |
| 24 | 29190004121 | OUTLET PIPE OF STEERING PUMP | |
| 25 | 4011000475 | BOLT | |
| 26 | 4041000026 | FLANGE | |
| 27 | 4030000026 | O-RING | |
| 28 | 29190004131 | PIPE | |
| 29 | 29190004141 | INLET TUBE OF PRIOPTRY VALVE | |
| 30 | 4041000774 | PLUG | |
| 31 | 4041000767 | O-RING | |
| 32 | 4041000188 | JOINT | |
| 33 | 4030000028 | O-RING | |
| 34 | 4011000164 | BOLT | |
| 35 | 4041000056 | FLANGE | |
| 36 | 29190004051 | OIL INLET TUBE OF STEERING PUMP | |
| 37 | 4090000043 | OIL INLET PIPE | |
| 38 | 4017000007 | CLAMP | |
| 39 | 29210004081 | Pipe | |
| 40 | 4030000275 | O-RING | |
| 41 | 4011000481 | BOLT | |
| 42 | 4011000277 | BOLT | |
| 43 | 29210004091 | Pipe | |
| 44 | 4041000563 | PIPE | |
| 45 | 4120001004 | STEERING CYLINDER | |
| 46 | 29210007661 | OIL INLET PIPE OF STEERING CYLINDER | |
| 47 | 29210004061 | PERMAMENT SEAT | |
| 48 | 29210004071 | RUBBER BAR | |
| 49 | 4011000476 | BOLT | |
| 50 | 4041000783 | O-RING | |
| 51 | 4041000784 | O-RING | |
| 52 | 4041000771 | O-RING | |
| 53 | 4041000779 | O-RING | |
| 54 | 29310011251 | MOUNTING PLATE | |
| 55 | 4011000528 | BOLT GB16674-M10x100EpZn-8.8 | |
| 56 | 29310011301 | ADJUSTING SEAT | |
| 57 | 4013000007 | NUT | |
| 58 | 4015000162 | Washer | |
| 59 | 29310011191 | MOUNTING FRAME |
Содержащиеся в справочниках-каталогах запасные части и детали не предлагаются к продаже, а носят исключительно информационный характер