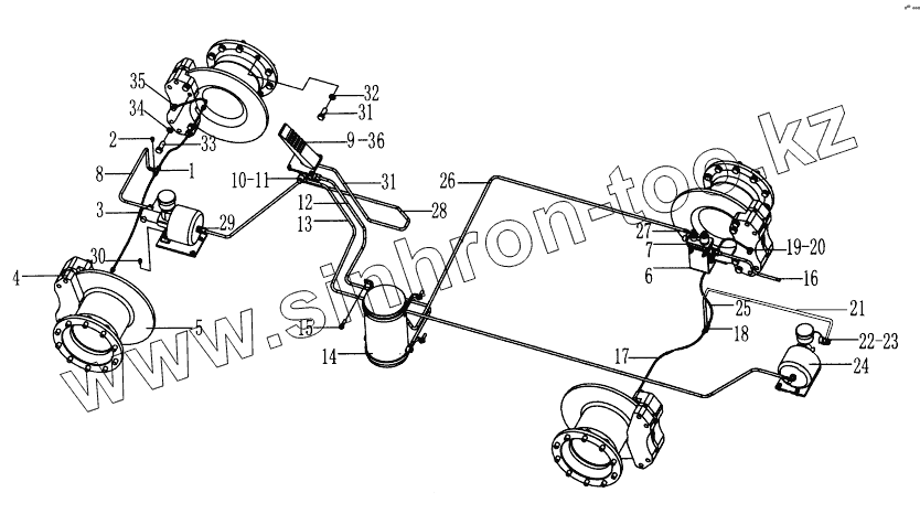
Каталог запасных частей к технике: SDLG LG936. SERVICE BRAKE SYSTEM
1
2
3
4
5
6
7
8
9
10
11
12
13
14
15
16
17
18
19
20
21
22
23
24
25
26
27
28
29
30
31
31
32
33
34
35
36
| Позиция на иллюстрации | Заводской номер детали | Название детали | |
|---|---|---|---|
| 1 | 3090900001 | TEE OF THE OIL LINE | |
| 2 | 4011000455 | BOLT | |
| 3 | 2922000406 | TUBE OF FRONT AXLE | |
| 4 | 4110000012 | DISC BRAKE | |
| 5 | 3090900004 | BRAKE DISK | |
| 6 | 2922000402 | BRACKET FOR AIR DYER | |
| 7 | 4120000084 | AIR DYER | |
| 8 | 4041000821 | PIPE | |
| 9 | 4120001795 | BRAKE CONTROL VALVE LY60F | |
| 10 | 2901000004 | BOLT | |
| 11 | 2901000006 | WASHER | |
| 12 | 2922000403 | TUBE FROM AIR RESERVOIR TO BRAKE VALVE | |
| 13 | 2922000118 | TUBE FROM BRAKE VALVE TO REAR BOOSTER | |
| 14 | 2922000053 | AIR RESERVOIR | |
| 15 | 4011000560 | BOLT | |
| 16 | 2880904003 | TUBE FROM AIR DRYER TO AIR COMPRESSOR | |
| 17 | 2922000407 | TUBE OF REAR AXLE | |
| 18 | 2922000013 | TEE OF THE OIL LINE | |
| 19 | 3090900020 | CONNECTOR | |
| 20 | 3090900021 | WASHER | |
| 21 | 2090900020 | TUBE TO BEAR AXLE | |
| 22 | 2922000016 | CONNECTOR | |
| 23 | 2922000017 | WASHER | |
| 24 | 4120000090 | BOOSTER | |
| 25 | 2922000408 | TUBE OF REAR AXLE | |
| 26 | 4041000560 | TUBE | |
| 27 | 2901000005 | WASHER | |
| 28 | 4041000561 | TUBE LGB151004205 | |
| 29 | 2901000007 | CONNECTOR | |
| 30 | 4011000447 | BOLT | |
| 31 | 4011000452 | BOLT | |
| 32 | 4015000029 | WASHER | |
| 33 | 2907000010 | BOLT | |
| 34 | 4015000030 | WASHER | |
| 35 | 2922000409 | CONNECTOR | |
| 36 | 4130000521 | SWITCH OF BRAKE LIGHT |
Содержащиеся в справочниках-каталогах запасные части и детали не предлагаются к продаже, а носят исключительно информационный характер