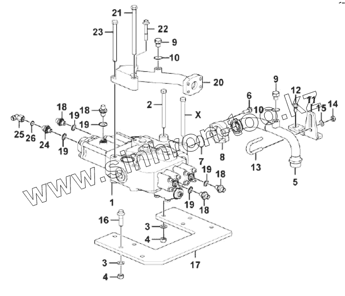
Каталог запасных частей к технике: SDLG LG933. DFSY-25-16 Control valve
1
2
3
3
4
4
5
6
7
8
9
9
10
10
11
12
13
14
15
16
17
18
18
18
18
19
19
19
19
19
20
21
22
23
24
25
26
| Позиция на иллюстрации | Заводской номер детали | Название детали | |
|---|---|---|---|
| 1 | 4120002277 | Valve | |
| 2 | 4011000055 | BOLT | |
| 3 | 4015000168 | WASHER | |
| 4 | 4013000011 | NUT | |
| 5 | 29120023381 | Pipe | |
| 6 | 4011000475 | BOLT | |
| 7 | 4030000029 | O-RING | |
| 8 | 4041000056 | FLANGE | |
| 9 | 4041000774 | PLUG | |
| 10 | 4041000767 | O-RING | |
| 11 | 29120023641 | Bracket | |
| 12 | 4011000447 | BOLT | |
| 13 | 4041000958 | U-BOLT | |
| 14 | 4013000007 | NUT | |
| 15 | 4015000162 | Washer | |
| 16 | 4011000477 | BOLT | |
| 17 | 29120023631 | Plate | |
| 18 | 29120015401 | FITTING | |
| 19 | 29120014931 | WASHER | |
| 20 | 29120005021 | RENTURN TUBE OF MULTIPLE UNIT VALVE | |
| 21 | 4011000057 | BOLT | |
| 22 | 4011000230 | BOLT GB16674-M10x65EpZn-8.8 | |
| 23 | 4011000056 | BOLT | |
| 24 | 29120007651 | JOINT | |
| 25 | 4041001023 | JOINT | |
| 26 | 4030000240 | O-RING |
Содержащиеся в справочниках-каталогах запасные части и детали не предлагаются к продаже, а носят исключительно информационный характер