Каталог запасных частей к технике: SDLG LG933. LG9330P6.1 Heavy snow removal device
1
2
3
4
5
5
5
6
6
6
7
7
8
8
9
10
11
12
13
14
14
15
16
17
18
19
20
21
22
23
24
24
25
26
27
27
27
28
29
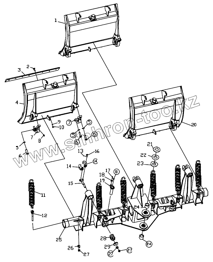
| Позиция на иллюстрации | Заводской номер детали | Название детали | |
|---|---|---|---|
| 29170023821 | 29170023821 | SNOW REMOVER ASSEMBLY | |
| 1 | 29170023321 | MIDDLE PUSH PLATE | |
| 2 | 4040000009 | BOLT LGB002-M16x40 | |
| 3 | 29170023311 | DURABLE PLATE | |
| 4 | 29170027421 | LEFT PUSH PLATE | |
| 5 | 4015000185 | WASHER GB97.1-27EpZn-300HV | |
| 6 | 4011000614 | BOLT GB5783-M27x80EpZn-8.8 | |
| 7 | 29170023301 | RIVET SEAT | |
| 8 | 4030000065 | GREASE NIPPLE | |
| 9 | 4015000181 | WASHER | |
| 10 | 4013000016 | NUT | |
| 11 | 29170022331 | SPRING | |
| 12 | 29170022321 | PIN | |
| 13 | 4016000038 | SPLIT PIN GB91-4x36EpZn-Q235A | |
| 14 | 29170022291 | SLIP CLAW | |
| 15 | 29170022261 | SHAFT | |
| 16 | 29170022271 | PIN | |
| 17 | 4011000560 | BOLT | |
| 18 | 4040000001 | WASHER | |
| 19 | 4043000008 | PIN LGB301-50x95x190-40Cr | |
| 20 | 29170023441 | RIGHT PUSH PLATE | |
| 21 | 4043000198 | WASHER | |
| 22 | 29170024851 | DURABLE PLATE | |
| 23 | 4043000197 | WASHER | |
| 24 | 4043000238 | BUSH LGB302-65x66A2 | |
| 25 | 29170022251 | FRONT BRACKET | |
| 26 | 29170022311 | NUT | |
| 27 | 4013000021 | NUT | |
| 28 | 29170022281 | SPRING | |
| 29 | 29170022301 | PLATEN | |
| 30 | 29170022351 | SHAFT | |
| 31 | 4043000253 | PIN LGB301-65x80x165-40Cr | |
| 32 | 29170022431 | SPRING | |
| 33 | 4043000252 | PIN LGB301-65x90x165-40Cr | |
| 34 | 29170022121 | ARTICULATE DEVICE | |
| 35 | 29170023121 | PIN | |
| 36 | 29170024051 | RIVET PLATE | |
| 38 | 29170023831 | LINK DEVICE | |
| 39 | 4043000135 | BUSH LGB302-75x110B2 | |
| 40 | 29170022161 | ADJUSTING SHIM | |
| 42 | 4015000098 | WASHER GB93-16-65Mn | |
| 43 | 4011000231 | BOLT GB5782-M16x70EpZn-8.8 | |
| 44 | 29170022181 | WASHER |
Содержащиеся в справочниках-каталогах запасные части и детали не предлагаются к продаже, а носят исключительно информационный характер