Каталог запасных частей к технике: SDLG LG918. LG9180J1 Under braking system
1
2
3
3
4
5
5
6
7
8
8
9
10
11
11
12
13
14
15
16
17
18
19
20
21
22
22
23
24
25
26
27
28
29
30
31
32
33
34
35
36
37
38
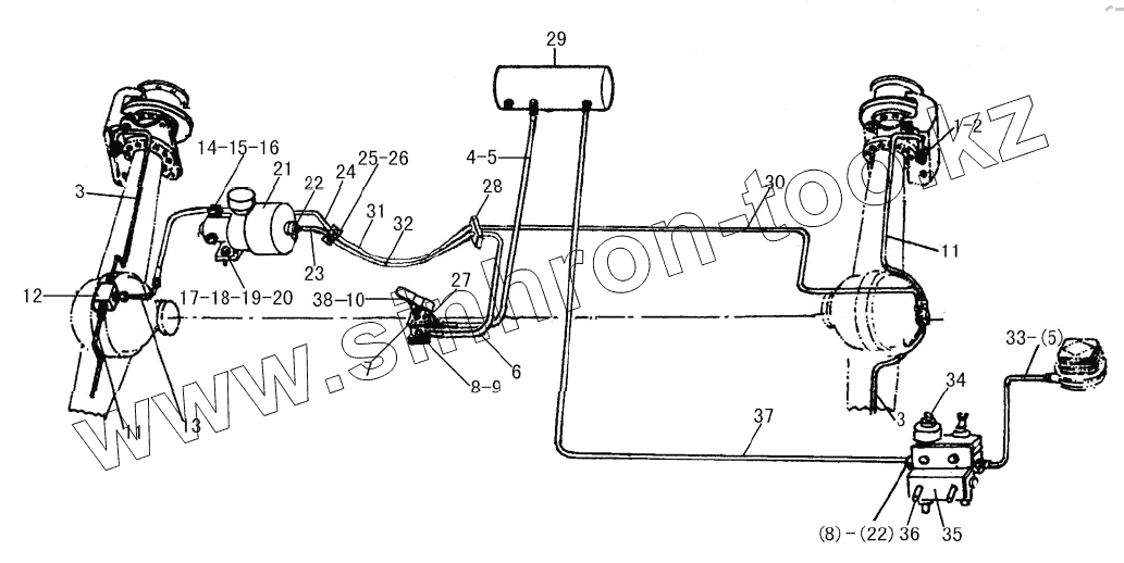
| Позиция на иллюстрации | Заводской номер детали | Название детали | |
|---|---|---|---|
| 1 | 29220000021 | WASHER | |
| 2 | 29220000031 | CONNECTER | |
| 3 | 29220006522 | OIL TUBE OF AXLE | |
| 4 | 29220006531 | TUBE TO AIR RESSERVIOR | |
| 5 | 29010000051 | WASHER | |
| 6 | 29220006751 | TUBE FROM BRAKE VALVE TO DUMMY PLATE | |
| 7 | 4011000455 | BOLT | |
| 8 | 29010000061 | WASHER | |
| 9 | 29010000041 | BOLT | |
| 10 | 4120001795 | BRAKE CONTROL VALVE LY60F | |
| 11 | 29220006542 | OIL TUBE OF AXLE | |
| 12 | 29220000131 | CONNECTOR | |
| 13 | 29220006551 | OIL TUBE TO FRONT AXLE | |
| 14 | 29220006561 | CONNECTOR | |
| 15 | 29220000161 | CONNECTER | |
| 16 | 29220000171 | WASHER | |
| 17 | 4011000475 | BOLT | |
| 18 | 4015000162 | Washer | |
| 19 | 4015000025 | Washer | |
| 20 | 4013000007 | NUT | |
| 21 | 4120000090 | BOOSTER | |
| 22 | 29010000071 | CONNECTOR | |
| 23 | 29220006571 | TUBE FROM BOOSTER TO FRONT DUMMY PLATE | |
| 24 | 29220006581 | OIL TUBE FROM BOOSTER TO FRONT DUMMY PLATE | |
| 25 | 29220006591 | TUBES OF FRONT DUMMY PLATE | |
| 26 | 4011000560 | BOLT | |
| 27 | 4030000055 | PLUG JB1000-M22x1.5-35 | |
| 28 | 29220006601 | TUBES OF REAR DUMMY PLATE | |
| 29 | 29220006611 | AIR RESERVOIR | |
| 30 | 29220006621 | OIL TUBE TO REAR AXLE | |
| 31 | 29220006631 | MIDST OIL TUBE FOR BARKE | |
| 32 | 29220006641 | MIDST TUBE FOR BRAKE | |
| 33 | 4120000750 | METAL TUBE | |
| 34 | 4120000084 | AIR DYER | |
| 35 | 29010006541 | HOLDER FOR AIR DRYER | |
| 36 | 4011000488 | BOLT | |
| 37 | 29010006551 | TUBE TO AIR RESSERVIOR | |
| 38 | 4130000521 | SWITCH OF BRAKE LIGHT |
Содержащиеся в справочниках-каталогах запасные части и детали не предлагаются к продаже, а носят исключительно информационный характер