Каталог запасных частей к технике: SDLG LG918. LG9180H1 Work device
1
2
3
4
5
5
6
6
6
6
6
6
7
7
7
7
7
7
8
9
9
9
10
10
10
11
11
12
12
12
13
14
15
15
15
15
15
15
16
16
17
17
17
18
18
18
19
20
21
23
24
25
26
27
28
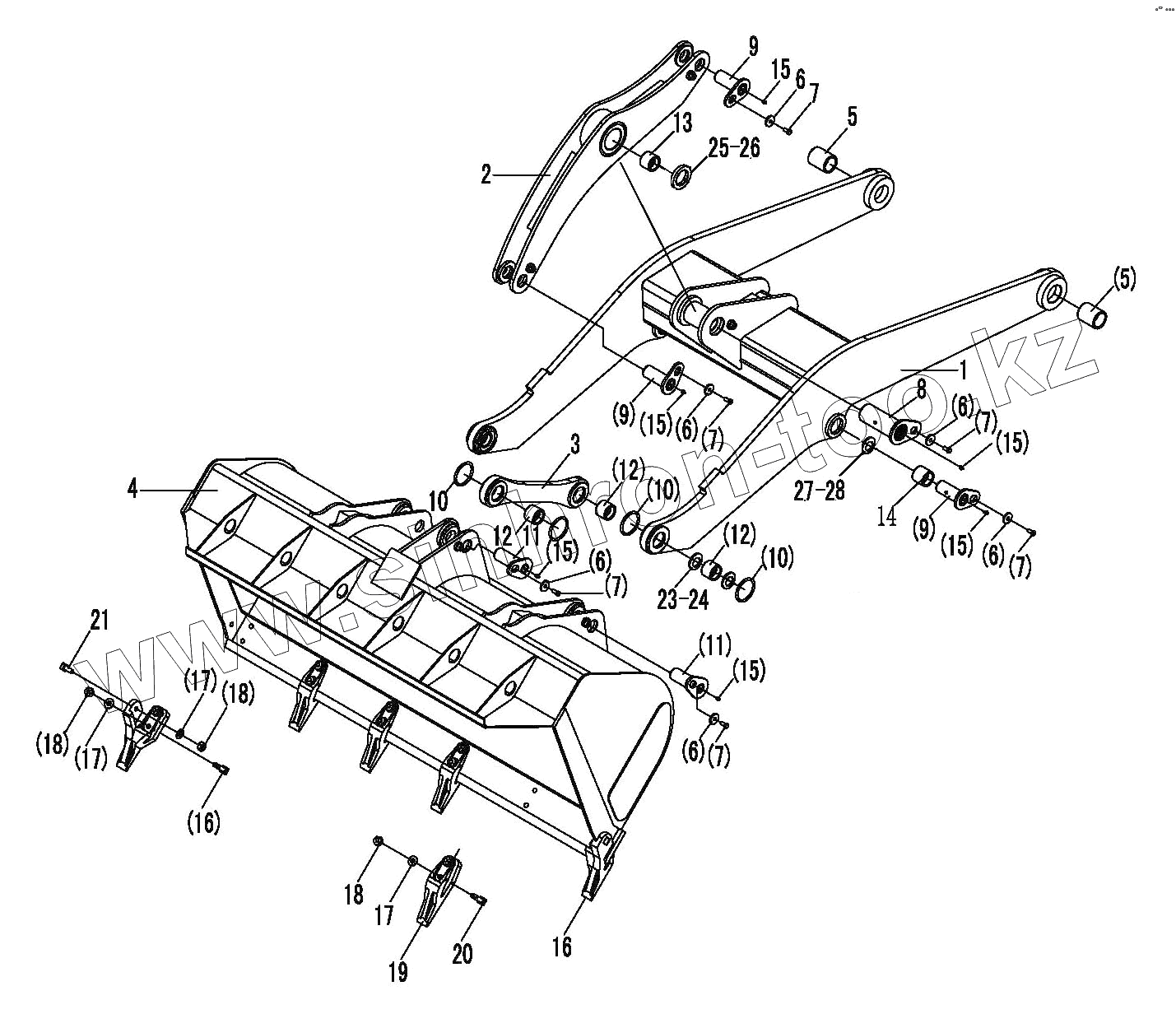
| Позиция на иллюстрации | Заводской номер детали | Название детали | |
|---|---|---|---|
| 1 | 29150008501 | LIFT ARM | |
| 2 | 29150006531 | ROCKER ARM | |
| 3 | 29150006541 | LINKAGE ROD | |
| 4 | 29170008612 | BUCKET | |
| 5 | 4043000156 | BUSHING LGB302-60X90B2 | |
| 6 | 4040000001 | WASHER | |
| 7 | 4011000197 | BOLT | |
| 8 | 4043000138 | PIN LGB301-75x109x200-40Cr | |
| 9 | 4043000137 | PIN LGB301-50X75X135-40Cr | |
| 10 | 4043000069 | O-RING LGB308-88X8 | |
| 11 | 4043000136 | PIN LGB301-50X83X150G-40Cr | |
| 12 | 4030000132 | BUSH LGB302-50x50B2 | |
| 13 | 4030000135 | BUSH LGB302-75x110B2 | |
| 14 | 4030000157 | BUSH LGB302-50x58B2 | |
| 15 | 4030000065 | GREASE NIPPLE | |
| 16 | 4043000179 | BUCKET TEETH LGB304-A2-1 | |
| 17 | 4015000001 | WASHER | |
| 18 | 4013000016 | NUT | |
| 19 | 4043000108 | BUCKET TEETH LGB304-A1-1 | |
| 20 | 4040000007 | Bolt | |
| 21 | 4040000009 | BOLT LGB002-M16x40 | |
| 22 | 4043000180 | BUCKET TEETH LGB304-A3-1 | |
| 23 | 4043000032 | SPACER GB303-50x90x1 | |
| 24 | 4043000330 | SPACER LGB303-50x90x2 | |
| 25 | 4043000331 | SPACER LGB303-75x130x1 | |
| 26 | 4043000332 | SPACER LGB303-75x130x2 | |
| 27 | 4043000067 | SPACER LGB303-50X100X1 | |
| 28 | 4043000333 | SPACER LGB303-50x100x2 |
Содержащиеся в справочниках-каталогах запасные части и детали не предлагаются к продаже, а носят исключительно информационный характер