Вернуться на главную
Поиск
Каталоги запчастей к технике
Спецтехника
SDLG
LG918
TRANSMISSION SYSTEM
Каталог запасных частей к технике: SDLG LG918. TRANSMISSION SYSTEM
zoom-in
zoom-out
enlarge
shrink
circle-right
circle-left
file-text2
info
cart
Тип техники
Не выбрано
Легковые автомобили
Грузовые автомобили и прицепы
Автобусы
Сельхозтехника
Спецтехника
Двигатели
Мототехника
Марка
Не выбрано
Ammann
BOMAG
CARMIX
CASE IH
Changlin
ChengGong
Dimex
Doosan
DYNAPAC
Foton
HAMM
Hidromek
Hitachi
Hyundai
JCB
JLG
John Deere
Komatsu
LIEBHERR
LiuGong
Lonking (LongGong)
Luneng
MANITOU
Mitsuber
New Holland
PENGPU
RM-Terex
SANY
SDLG
SEM
Shantui
Shehwa HBXG
Soosan
TIGARBO
VOGELE
Volvo
WAY
WIRTGEN
XCMG
XGMA
Xiamen
YTO
Yuchai
Zoomlion
Автокран
АЗСМ
Алтайлесмаш
Амкодор
АОМЗ
Атек
АТЗ
Балканкар Рекорд
БелАЗ
Беловеж
Борекс
Брянский Арсенал
Булат
ВЭКС
ГАЗ
Геомаш
Гидромаш
Донекс
Дормаш
Дормашина
Дорэлектромаш
ДЭЗ
ЕлАЗ
ЗЗГТ
Ижнефтемаш
Канаш-электрокар
КЗКТ
ККЗ
Клевер
Клинцовский автокрановый завод
КМЗ
КМЗ 1 Мая
Ковровец
Коммаш
Кранэкс
КЭЗ
КЭМЗ
ЛЗА
МАЗ
МЗИК
МЗКМ
МЗКТ
Михневский РМЗ
МоАЗ
Мозырский МЗ
МТЗ
ОЗП
Онежец
ПАО "ТЗА"
ППС Детва
Промтрактор
ПТЗ
Раскат
СпецАгрегат
ТВЭКС
ТТМ
УВЗ
Угличмаш
УЗТМ
ХТЗ
ЧЗКМ
ЧСДМ
ЧТЗ
ЭКСКО
ЭКСМАШ
ЮрМаш
Модель
Не выбрано
B877 (2013)
B877 (2017)
G9138 (2020)
G9190 (2013)
L916 (2017)
L938F (2016)
L948 (2016)
L948F (2015)
L953N (2017)
L956F (2017)
L958F (2019)
LG6150E
LG6210E (2013)
LG918 (2008)
LG918 (2009)
LG933 (2008)
LG933 (2018)
LG933L (2011)
LG936 (2007)
LG936 (2007)
LG936L (2009)
LG936L (2013)
LG936L (2017)
LG938 (2006)
LG938 (2010)
LG938F (2015)
LG938L (2010)
LG944MSK (2015)
LG946L (2010)
LG952 (2007)
LG952 (2009)
LG952H (2009)
LG952H (2012)
LG952N (2016)
LG953 (2006)
LG953 (2008)
LG953 (2009)
LG953N (2015)
LG955N (2015)
LG956 (2005)
LG956F (2016)
LG956FH (2017)
LG956L (2009)
LG956L (2015)
LG956V (2015)
LG958 (2006)
LG958L (2009)
LG958L (2012)
LG958N (2013)
LG958N (2015)
LG968 (2007)
LG968 (2009)
LG969 (2007)
LG969 (2009)
LG969N (2015)
LGB680 (2007)
Схема
>
Не выбрано
DIESEL ENGINE ASSEMBLY
FUEL TANK ASSEMBLY
RADIATOR ASSY
ENGINE SUSPENSION ASSEMBLY D7019-1001000/04
CYLINDER BLOCK ASSEMBLY D7019-1002000/10
GEAR HOUSING PARTS D30-1002030A/08
CYLINDER HEAD ASSEMBLY D30-1003000B/08
PISTION & CONNECTING ROD ASSEMBLY D30-1004000/04
CRANKSHAFT & FLYWHEEL ASSEMBLY
CAMSHAFT ASSEMBLY D30-1006000A/05
VALVE TAPPET ASSEMBLY D30-1007000A /06
AIR INTAKE PIPE PARTS & AIR INTAKE CONNECTING PIPE PARTS D7019-1008100/04&D7019-1008500/03
AIR EXHAUST PIPE PARTS D7100-1008200/04
OIL PUMP ASSEMBLY D7019-1009000/02
OIL STRAINER ASSEMBLY D0302-1010000/03
OIL PUMP ASSEMBLY D30-1011000A/07
OIL FILTER D9900-1012000/02
OIL COOLER ASSEMBLY D30-1013000A/10
OIL DIPSTICK PARTS A5701-1002600/02
FUEL SUPPLY SYSTEM PIPELINE ASSEMBLY D7019-1104000/12
FUEL FILTER ASSEMBLY
AIR FILTER ASSEMBLY D7019-1109000/06
FUEL INJECTION PUMP ASSEMBLY D7014-1111000/13
FUEL INJECTOR ASSEMBLY D30-1112000/03
FUEL INJECTION ACCESSORY ASSEMBLY
MUFFLER ASSEMBLY D7019-1201000/05
WATER PIPE & HOSE ASSEMBLY OF RADIATOR D0708-1303000/01
WATER DRAIN COCK ASSEMBLY 631-1305000/05
THERMOSTAT ASSEMBLY D0115-1306000/02
WATER PUMP ASSEMBLY D7200-1307000/06
FAN ASSEMBLY D7008-1308000/03
POWER OUTPUT ASSEMHLY D7019-1600000/01
PNEUMATIC AIR COMPRESSOR ASSEMBLY D7019-3509000/10
ALTERNATOR ASSEMBLY D7019-3701000/01
STARTER ASSEMBLY D7004-3708000/01
INSTRUMENT & SENSOR ASSEMBLY D7019-3800000/05
NAMEPLATE D8300-3904000/01
TORQUE CONVERTER SYSTEM
TORQUE CONVERTER YJ280-4DL (370804)
CLEANER QF60M33G-1 (410708)
TRANSMISSION SYSTEM
GO FORWARD LOW-END CLUTCH (370804)
BACKWARD HIGH-END CLUTCH (370804)
DUMMY SHAFT PARTS I (370804)
OUTPUT SHAFT PART (370804)
INPUT PART (370804)
CASE AND PIPELINE ACCESSORIES (370804)
TRANSMISSION CONTROL SYSTEM
AXLE SYSTEM
FRONT, REAR AXLE ASSEMBLY
FRONT MAIN DRIVE ASSEMBLY
REAR AXLE MAIN DRIVE ASSY
FINAL DRIVE ASSEMBLY
TIRE (520101)
DRIVE AXLE ASSEMBLY (FRONT AXLE)
DRIVE AXLE ASSEMBLY (REAR AXLE)
DISC BRAKE ASSEMBLY
HEEL-END REDUCTOR ASSEMBLY (FRONT AXLE)
HEEL-END REDUCTOR ASSEMBLY (REAR AXLE)
FINAL DRIVE ASSEMBLY (FRONT AXLE)
FINAL DRIVE ASSEMBLY (REAR AXLE)
HYDRAULIC CONTROL ASSEMBLY
LIFT ARM CYLINDER ASSEMBLY
TILT CYLINDER ASSEMBLY
HYDRAULIC TANK ASSEMBLY
TILT CYLINDER (371368)
LIFT ARM CYLINDER (371368)
WORKING EQUIPMENT
STEERING PUMP ASSEMBLY
STEERING UNIT ASSEMBLY
STEERING CYLINDER ASSEMBLY
STEERING CYLINDER (371368)
SERVICE BRAKE SYSTEM
AIR RESSERVIOR
BRAKE BOOSTER (340201)
PARKING BRAKE SYSTEM
FRONT FRAME
REAR FRAME ASSEMBLY
COUNTER WEIGHT
CAB ASSEMBLY
CAB
OPERATE BENCH
SEAT ASSEMBLY
OPERATE CASE
ENGINE HOOD ASSEMBLY
LEFT BENCH GROUP
RIGHT BENCH GROUP
EAR LAMP HOOD
SIGN AND LOGO
LEFT AND RIGHT BATTERY CASE
AIR CONDITIONER SYSTEM
ELECTRIC SYSTEM
PANEL ASSEMBLY
INSTRUMENT DESK
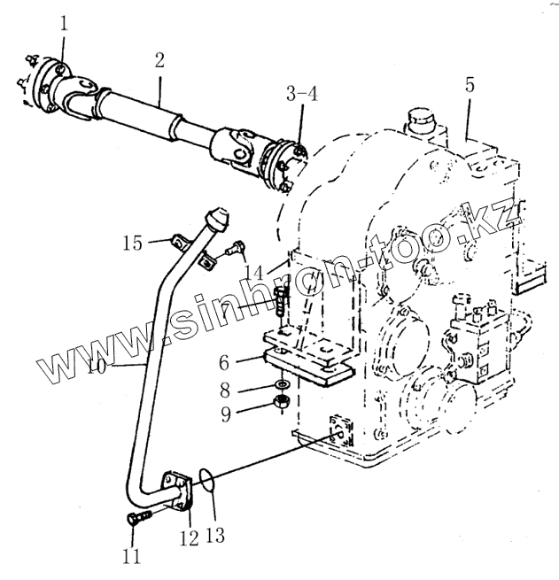
1
2
3
4
5
6
7
8
9
10
11
12
13
14
15
Позиция на иллюстрации
Заводской номер детали
Название детали
1
29050006521
BOLT
2
29050006531
MAIN DRIVE ASS'Y
3
29050006541
BOLT
4
4013000072
NUT
5
4110000218
TRANSMISSION ASS'Y BD05N1
6
29050006551
RUBBER SPACER
7
4011000499
BOLT GB5785-M16x1.5x70EpZn-8.8
8
4015000181
WASHER
9
4013000129
NUT GB6170-M16EpZn-8
10
29050006562
ELBOW PIPE
11
4011000481
BOLT
12
29050006571
COVER
13
4030000152
O-RING GB3452.1-25x2.65G
14
4011000461
BOLT
15
29050006581
CLAMP
Содержащиеся в справочниках-каталогах запасные части и детали не предлагаются к продаже, а носят исключительно информационный характер
Дополнительная информация
×
Название:
Номер:
Примечание: