Каталог запасных частей к технике: SDLG LG918. FINAL DRIVE ASSEMBLY
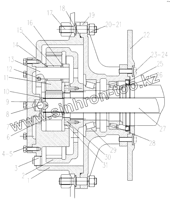
1
2
3
4
5
6
7
8
9
10
11
12
13
14
15
16
17
18
19
20
21
22
23
24
25
26
27
28
29
30
31
| Позиция на иллюстрации | Заводской номер детали | Название детали | |
|---|---|---|---|
| 1 | 29070010371 | PLANET PINION CAIIIER | |
| 2 | 29070010381 | INTERNAL GEAR RING | |
| 3 | 4120000080 | PLUG | |
| 4 | 4011000084 | BOLT | |
| 5 | 4015000025 | Washer | |
| 6 | 29070010391 | GEAR-SUN | |
| 7 | 29070010401 | RIM COVER GB308-17.462-GCr15 | |
| 8 | 4090000006 | STEEL BALL | |
| 9 | 29070009161 | LOCK BLOCK | |
| 10 | 4015000257 | CHECK RING GB894.1-38-65Mn | |
| 11 | 29070010411 | PLANET GEAR | |
| 12 | 4090000007 | STEEL BALL | |
| 13 | 29070010421 | PLANET PINION SHAFT | |
| 14 | 3050900042 | RING SNAP | |
| 15 | 4090000001 | ROLLER | |
| 16 | 29070010881 | SPECER | |
| 17 | 29070010441 | RIM BOLT | |
| 18 | 3050900045 | O-RING | |
| 19 | 29070010461 | HUB WHEEL | |
| 20 | 4013000136 | NUT | |
| 21 | 4015000029 | WASHER | |
| 22 | 29070010481 | BRAKE DISC | |
| 23 | 4011000568 | BOLT | |
| 24 | 29070010131 | WASHER | |
| 25 | 4030000559 | SEAL RING GB9877.1-FB110x140x12D | |
| 26 | 29070010491 | BEARING SLEEVE | |
| 27 | 29070010501 | DIFFERENTIAL AXLE | |
| 28 | 4021000135 | BEARING GB297-32017 | |
| 29 | 4021000036 | BEARING | |
| 30 | 4014000118 | SCREW | |
| 31 | 29070010511 | ROUND NUT |
Содержащиеся в справочниках-каталогах запасные части и детали не предлагаются к продаже, а носят исключительно информационный характер