Вернуться на главную
Поиск
Каталоги запчастей к технике
Спецтехника
SDLG
L958F
Control system
Каталог запасных частей к технике: SDLG L958F. Control system
zoom-in
zoom-out
enlarge
shrink
circle-right
circle-left
file-text2
info
cart
Тип техники
Не выбрано
Легковые автомобили
Грузовые автомобили и прицепы
Автобусы
Сельхозтехника
Спецтехника
Двигатели
Мототехника
Марка
Не выбрано
Ammann
BOMAG
CARMIX
CASE IH
Changlin
ChengGong
Dimex
Doosan
DYNAPAC
Foton
HAMM
Hidromek
Hitachi
Hyundai
JCB
JLG
John Deere
Komatsu
LIEBHERR
LiuGong
Lonking (LongGong)
Luneng
MANITOU
Mitsuber
New Holland
PENGPU
RM-Terex
SANY
SDLG
SEM
Shantui
Shehwa HBXG
Soosan
TIGARBO
VOGELE
Volvo
WAY
WIRTGEN
XCMG
XGMA
Xiamen
YTO
Yuchai
Zoomlion
Автокран
АЗСМ
Алтайлесмаш
Амкодор
АОМЗ
Атек
АТЗ
Балканкар Рекорд
БелАЗ
Беловеж
Борекс
Брянский Арсенал
Булат
ВЭКС
ГАЗ
Геомаш
Гидромаш
Донекс
Дормаш
Дормашина
Дорэлектромаш
ДЭЗ
ЕлАЗ
ЗЗГТ
Ижнефтемаш
Канаш-электрокар
КЗКТ
ККЗ
Клевер
Клинцовский автокрановый завод
КМЗ
КМЗ 1 Мая
Ковровец
Коммаш
Кранэкс
КЭЗ
КЭМЗ
ЛЗА
МАЗ
МЗИК
МЗКМ
МЗКТ
Михневский РМЗ
МоАЗ
Мозырский МЗ
МТЗ
ОЗП
Онежец
ПАО "ТЗА"
ППС Детва
Промтрактор
ПТЗ
Раскат
СпецАгрегат
ТВЭКС
ТТМ
УВЗ
Угличмаш
УЗТМ
ХТЗ
ЧЗКМ
ЧСДМ
ЧТЗ
ЭКСКО
ЭКСМАШ
ЮрМаш
Модель
Не выбрано
B877 (2013)
B877 (2017)
G9138 (2020)
G9190 (2013)
L916 (2017)
L938F (2016)
L948 (2016)
L948F (2015)
L953N (2017)
L956F (2017)
L958F (2019)
LG6150E
LG6210E (2013)
LG918 (2008)
LG918 (2009)
LG933 (2008)
LG933 (2018)
LG933L (2011)
LG936 (2007)
LG936 (2007)
LG936L (2009)
LG936L (2013)
LG936L (2017)
LG938 (2006)
LG938 (2010)
LG938F (2015)
LG938L (2010)
LG944MSK (2015)
LG946L (2010)
LG952 (2007)
LG952 (2009)
LG952H (2009)
LG952H (2012)
LG952N (2016)
LG953 (2006)
LG953 (2008)
LG953 (2009)
LG953N (2015)
LG955N (2015)
LG956 (2005)
LG956F (2016)
LG956FH (2017)
LG956L (2009)
LG956L (2015)
LG956V (2015)
LG958 (2006)
LG958L (2009)
LG958L (2012)
LG958N (2013)
LG958N (2015)
LG968 (2007)
LG968 (2009)
LG969 (2007)
LG969 (2009)
LG969N (2015)
LGB680 (2007)
Схема
>
Не выбрано
Engine asembly
Air inlet and exhaust system
Air cleaner
Assembly compound
Assembly compound
Fuel supply system
Engine mounting
Oil drain
Fuel tank assembly
Cooling system
Expansion tank
Accessories
Fan motor hydraulic system
Pipe
Hose assembly
Hose assembly
Transmission
Transmission VRT200
Power take-off
Turbine
Torque converter
Lubricating system
Lubricating oil valve
Safety valve
Gear
Stator housing
Transmission
KFR Clutch
Drive shaft
K34 Clutch
Gear set
K12 Clutch
Transfer gearbox
1/2 Shaft and clutch assembly
Drive shaft
3/4 Shaft and clutch assembly
Output shaft
Power take-off
Gear selector valve
Control system
Pressure reducing valve
Shift mechanism system
Front axle
Front axle assembly
Hub reduction
Final drive
(371104) Brake caliper
Propeller shaft
Rear axle
Rear axle
Rear axle
Hub reduction
Final drive
(371104) Brake caliper
Hydraulic fluid tank system
Hydraulic fluid tank
Working hydraulic pump assembly
Hydraulic control system
KM300-III-19A Control valve assembly
KM300-III-19A Control valve
Hydraulic control
Hydraulic control
PCL403-35-B Control lever assembly
PCL403-35-B (370142) Control lever assembly
Lifting cylinder system
Lift arm cylinder (3731CH)
Tilt cylinder system
Tilt cylinder (3731CH)
Member system
Accessories
Steering pump system
Check valve
Steering gear system
Steering column
BZZ8-940 Diverter
VLH-240 Priority valve
Steering cylinder system
Steering cylinder assembly HSGL-80x50x480-870C(3713CH)
Steering cylinder assembly HSGL-80x50x480-870C(3713CH)
Travel brake
Stopping device
JF958 Front frame
Front frame system
JR958 Rear frame
Accessories
Counterweight 1400
Cab
Cab
Cab
Cab
Door
Protecting cover
Trim panel
Platform
Seat accessory
Driver seat LG06A(350201)
Cab accessory
Fresh air inlet syetem
Control housing
Bracket
Bonnet
Bonnet
Platform
Ladder
Platform
Ladder
Decal set
Air condition aggregate
L958F Air conditioning unit
Evaporator (330112)
Condenser (330112)
Cab electric system
Cab electric system
Fuse and relay unit
Power electric system
Front frame electric system
Rear frame electric assembly
Engine electric system
Engine hood electric system
BG320 Bucket assembly
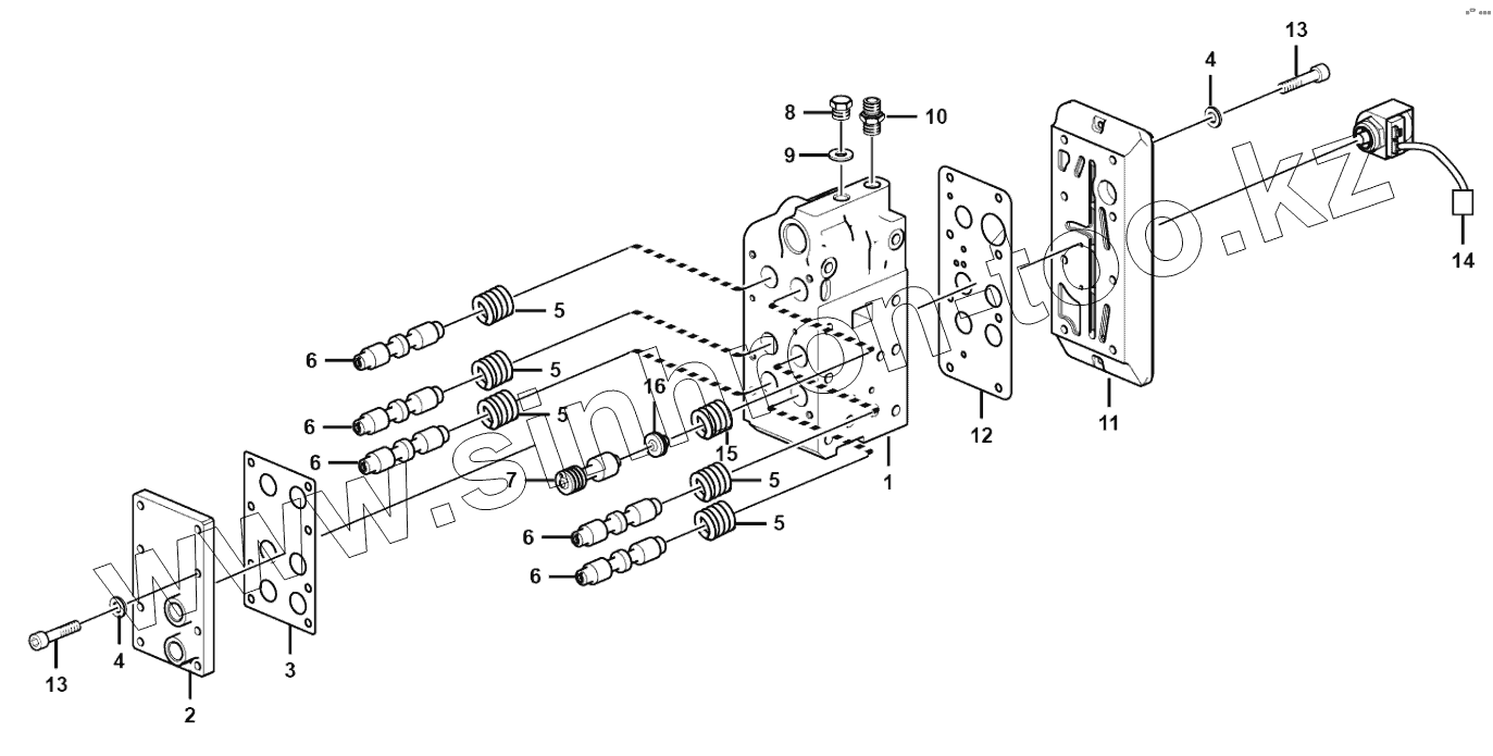
1
2
3
4
4
5
5
5
5
5
6
6
6
6
6
7
8
9
10
11
12
13
13
14
15
16
Позиция на иллюстрации
Заводской номер детали
Название детали
1
29050015111
Valve housing
2
29050015251
Cover
3
29050015132
Gasket
4
4015000213
Washer
5
29050015141
Spring
6
29050015151
Valve slide
7
29050015161
Valve slide
8
29050015171
Plug
9
29120014931
WASHER
10
4030000367
Joint
11
29050015181
Valve plate
12
29050015192
Gasket
13
4014000278
Screw
14
29050025362
Solenoid
15
29050015211
Spring
16
29050015231
Spring guide
Содержащиеся в справочниках-каталогах запасные части и детали не предлагаются к продаже, а носят исключительно информационный характер
Дополнительная информация
×
Название:
Номер:
Примечание: