Каталог запасных частей к технике: SDLG B877. Cylinder
1
2
3
3
4
5
5
6
6
7
7
8
8
9
9
10
10
11
12
12
12
13
13
14
14
15
15
15
16
17
18
19
19
20
21
22
23
23
24
25
26
27
27
27
27
28
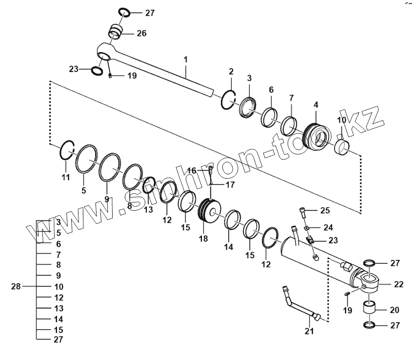
| Позиция на иллюстрации | Заводской номер детали | Название детали | |
|---|---|---|---|
| 1 | 4120005017013 | Piston rod | |
| 2 | 4120006316007 | Sealing ring | |
| 3 | 4120005225002 | Sealing ring | |
| 4 | 4120005803004 | Cover | |
| 5 | 4120005225003 | O-ring | |
| 6 | 4120005225004 | Sealing ring | |
| 7 | 4120005225005 | Sealing ring | |
| 8 | 4120003878019 | O-ring | |
| 9 | 4120007051013 | O-ring | |
| 10 | 4120005803005 | Bushing | |
| 11 | 4120006316005 | Retaining ring | |
| 12 | 4120005016014 | Sealing ring | |
| 13 | 4120005225007 | O-ring | |
| 14 | 4120005016015 | Sealing ring | |
| 15 | 4120005016016 | Sealing ring | |
| 16 | 4120005026020 | Screw | |
| 17 | 4120005331006 | Ball | |
| 18 | 4120005016017 | Piston | |
| 19 | 4120005801013 | Grease cup | |
| 20 | 4120005019009 | Bushing | |
| 21 | 4120005016018 | Pipe | |
| 22 | 4120005017014 | Cylinder tube | |
| 23 | 4120005494014 | Clamp | |
| 24 | 4120005803010 | Block | |
| 25 | 4120005803011 | Screw | |
| 26 | 4120005017015 | Bushing | |
| 27 | 4120005797011 | Sealing ring | |
| 28 | 4120005017016 | Sealing kit |
Содержащиеся в справочниках-каталогах запасные части и детали не предлагаются к продаже, а носят исключительно информационный характер