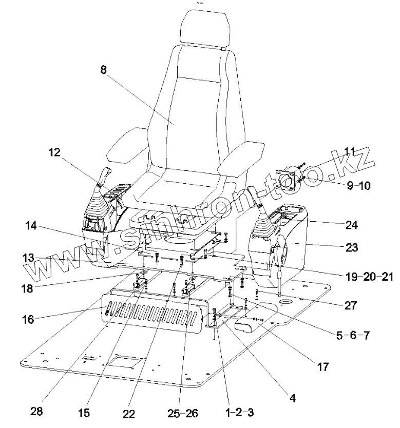
Каталог запасных частей к технике: SANY SY210C8. 10458174 Seat and control console AS
1
2
3
4
5
6
7
8
9
10
11
12
13
14
15
16
17
18
19
20
21
22
23
24
25
26
27
28
| Позиция на иллюстрации | Заводской номер детали | Название детали | |
|---|---|---|---|
| 1 | A210111000090 | Bolt | |
| 2 | A210404000005 | Washer | |
| 3 | A210401000017 | Washer | |
| 4 | 10428097 | Bracket, lower base, seat | |
| 5 | A210111000018 | Bolt | |
| 6 | A210405000011 | Washer | |
| 7 | A210401000001 | Washer | |
| 8 | B229900000265 | Seat, cab, mechanical suspension | |
| 9 | A210204000130 | Screw | |
| 10 | A210405000006 | Washer | |
| 11 | 10241175 | Flange, coupling, air duct | |
| 12 | A229900007791 | Armrest GP, right | |
| 13 | 10115283 | Plate, supporting | |
| 14 | 10115295 | Bracket, upper base, seat | |
| 15 | A210210000010 | SCREW | |
| 16 | 10140450 | Cover, seat bracket, front | |
| 17 | 10344193 | Hood, outer | |
| 18 | 10130346 | Adjuster, guide rail, seat | |
| 19 | A210307000012 | Nut | |
| 20 | A210405000007 | Washer | |
| 21 | A210204000164 | Screw | |
| 22 | A210111000089 | Bolt | |
| 23 | A229900007792 | Armrest AS, left | |
| 24 | B249900001447 | Panel, control | |
| 25 | 60033205 | Guide rail, seat, left | |
| 26 | B229900000494 | Pull rod, seat | |
| 27 | A210204000172 | Screw | |
| 28 | 60033517 | Guide rail, seat, right |
Содержащиеся в справочниках-каталогах запасные части и детали не предлагаются к продаже, а носят исключительно информационный характер