Вернуться на главную
Поиск
Каталоги запчастей к технике
Спецтехника
SANY
RSC45C
10397319 Radiating & Braking system RSC45M.2.3
Каталог запасных частей к технике: SANY RSC45C. 10397319 Radiating & Braking system RSC45M.2.3
zoom-in
zoom-out
enlarge
shrink
circle-right
circle-left
file-text2
info
cart
Тип техники
Не выбрано
Легковые автомобили
Грузовые автомобили и прицепы
Автобусы
Сельхозтехника
Спецтехника
Двигатели
Мототехника
Марка
Не выбрано
Ammann
BOMAG
CARMIX
CASE IH
Changlin
ChengGong
Dimex
Doosan
DYNAPAC
Foton
HAMM
Hidromek
Hitachi
Hyundai
JCB
JLG
John Deere
Komatsu
LIEBHERR
LiuGong
Lonking (LongGong)
Luneng
MANITOU
Mitsuber
New Holland
PENGPU
RM-Terex
SANY
SDLG
SEM
Shantui
Shehwa HBXG
Soosan
TIGARBO
VOGELE
Volvo
WAY
WIRTGEN
XCMG
XGMA
Xiamen
YTO
Yuchai
Zoomlion
Автокран
АЗСМ
Алтайлесмаш
Амкодор
АОМЗ
Атек
АТЗ
Балканкар Рекорд
БелАЗ
Беловеж
Борекс
Брянский Арсенал
Булат
ВЭКС
ГАЗ
Геомаш
Гидромаш
Донекс
Дормаш
Дормашина
Дорэлектромаш
ДЭЗ
ЕлАЗ
ЗЗГТ
Ижнефтемаш
Канаш-электрокар
КЗКТ
ККЗ
Клевер
Клинцовский автокрановый завод
КМЗ
КМЗ 1 Мая
Ковровец
Коммаш
Кранэкс
КЭЗ
КЭМЗ
ЛЗА
МАЗ
МЗИК
МЗКМ
МЗКТ
Михневский РМЗ
МоАЗ
Мозырский МЗ
МТЗ
ОЗП
Онежец
ПАО "ТЗА"
ППС Детва
Промтрактор
ПТЗ
Раскат
СпецАгрегат
ТВЭКС
ТТМ
УВЗ
Угличмаш
УЗТМ
ХТЗ
ЧЗКМ
ЧСДМ
ЧТЗ
ЭКСКО
ЭКСМАШ
ЮрМаш
Модель
Не выбрано
QY50CS93
RSC45C
RSC45C
SDCY90K6C
SSR120AC-8
STC250H
STC250S5
STG190C-8
SY135C8
SY210C8
SY215C9
SY335C8
SY5250GJB6C
SY5320THB 470C-8S
SY55C9
SY65C
SY75C
SY75C9I2H
SYM5190THBDZ 30
YZ18C
YZ20C
Схема
>
Не выбрано
10451014 RSC45C Reach stecker body
10451014 RSC45C Reach stecker body
10440611 Power system RSC45.1
10440611 Power system RSC45.1
10440611 Power system RSC45.1
10440611 Power system RSC45.1
10440611 Power system RSC45.1
10440611 Power system RSC45.1
10450696 Hydraulic system RSC45M.2
10032938 Boom clamp layout
10434188 Boom layout RSC45M.2.2
A810299000205 Extension cylinder valve body RSC45.2.2.10
A810299000205 Extension cylinder valve body RSC45.2.2.10
A810201060300 Anti-sway hydraulic system SDJ450.3.1
A810201062339 Anti-sway valve group SDJ450.3.1.2
A810201062339 Anti-sway valve group SDJ450.3.1.2
A810201062373 Right valve block of lifting cylinder RSC45.2.2.9
A810201062372 Left valve block of lifting cylinder RSC45.2.2.8
10450139 Steering system RSC45M.2.4
10450139 Steering system RSC45M.2.4
A810201062404 Flow amplifier assembly RSC45.2.4.5
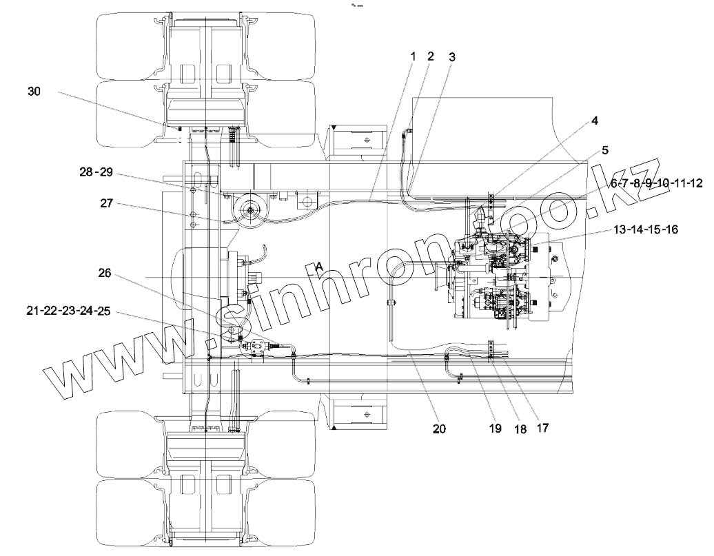
10397319 Radiating & Braking system RSC45M.2.3
10397319 Radiating & Braking system RSC45M.2.3
10397319 Radiating & Braking system RSC45M.2.3
10397319 Radiating& Braking system RSC45M.2.3
10266030 Assembly of large accumulator RSC45.2.3.32
A819700001629 Cooling switching valve group RSC45.2.3.16
A810201062430 Brake control valve group RSC45.2.3.15
10397015 Radiating device assembly RSC45M.2.3.33
10432886 Layout of movement RSC45M.2.5
10432886 Layout of movement RSC45M.2.5
A819700001387 Valve group for moving RSC45.2.5.7
10427001 Control system RSC45M.2.6
A810299000204 Guide valve group for oil supply RSC45.2.1.30
10450647 Frame pipeline layout RSC45M.2.1
10450647 Frame pipeline layout RSC45M.2.1
10450647 Frame pipeline layout RSC45M.2.1
10450647 Frame pipeline layout RSC45M.2.1
10450647 Frame pipeline layout RSC45M.2.1
10450647 Frame pipeline layout RSC45M.2.1
A810299000203 Back pressure valve group RSC45.2.1.29
A819700001390 Valve of spreader RSC45.2.1.31
10409053 Main valve layout RSC45M.2.1.1
A810399000723 Oil draining valve RSC45.2.1.39
A819700001385 One-way valve seat body RSC45.2.1.28
10441205 Frame assembly RSC45M.3
10468244 Moveable counterweight system RSC45M.3.7
10468244 Moveable counterweight system RSC45M.3.7
10941541 Platform assembly of rail RSC45C.3.6
10201511 Rearview mirror (L) SDCY90K7.2.13
10182064 Rearview mirror (R) SDCY90K7.2.11
11227769 Cab assembly SRSC45F.4
11227769 Cab assembly SRSC45F.4
10422631 Control console assembly RSC45M.5
10254333 Improved pedal RSC45.5.2A
10254333 Improved pedal RSC45.5.2A
10259957 Electrical system RSC45M.10
10259957 Electrical system RSC45M.10
A810201055623 Display panel assembly of front operation RSC45.6.3
A810201052817 Terminal box assembly RSC45.6.1
A810201055624 Right operation panel assembly RSC45.6.4
A810201052818 Control box assembly RSC45.6.5
10117173 Nameplate assembly RSC45M.7
10117173 Nameplate assembly RSC45M.7
10117173 Nameplate assembly RSC45M.7
10117173 Nameplate assembly RSC45M.7
10505432 Control function nameplate RSC45M.7.1
10424819 Steering shaft RSC45.8
10424819 Steering shaft RSC45.8
10424819 Steering shaft RSC45.8
10424819 Steering shaft RSC45.8
10421960 Steering cylinder RSC45.8.3
10697674 Lubrication system RSC45C.9
10971941 Frame lubrication system RSC45C.9.1
10971942 Boom lubrication system RSC45C.9.2
10971943 Steering axle lubrication system RSC45C.9.3
A810312000280 Spreader assembly SDJ450
A810201050344 Electrical system of spreader SDJ450.4
A810201052736 Control box assembly of spreader
A810201060288 Hydraulic systemSDJ450.3
A810201060302 Hydraulic system of cross beam
A810201060302 Hydraulic system of cross beam
A810201062341 Telescopic valve block
A810201062342 Side-shift valve group
A810201060301 Turntable hydraulic system
11055733 Revolving valve group A
A810421000786 Cross beam assembly SDJ450.2
A810421000786 Cross beam assembly SDJ450.2
A810421000786 Cross beam assembly SDJ450.2
10208424 Expansion Oil Cylinder
A810421000815 Lock pole mechanism
10221660 Turning Lock Cylinder
A810508000146 Nameplate SDJ450.6
10518408 Electrical nameplate of spreader
A810421000785 Turntable assembly SDJ450.1
A810314000009 Slide block assembly
10419481 Boom assembly RSC45.10
10419481 Boom assembly RSC45.10
10419481 Boom assembly RSC45.10
10201648 Lifting cylinder RSC45.10.12B
10424848 Expansion Oil Cylinder Assy
10202942 Damping Oil Cylinder
A810103070033 Traveling system RSC45.12
10945117 Working oil tank assembly RSC45C.13
10945119 Fuel tank assembly RSC45C.14
10945119 Fuel tank assembly RSC45C.14
10945119 Fuel tank assembly RSC45C.14
10679877 Movement mechanism of cab RSC45C.15
10084878 Air conditioning system RSC45M.9
A221600000088 Air conditioning assembly KGT4601
10557614 Fire fighting system RSC45C.20
1
2
3
4
5
6
7
8
9
10
11
12
13
14
15
16
17
18
19
20
21
22
23
24
25
26
27
28
29
30
Позиция на иллюстрации
Заводской номер детали
Название детали
1
B230103003338
Hose 2SN10-DKOL-7500Q/SY1102
2
B230103008137
Hose 2SN10-DKOL-DKOL90-7000Q/SY1102
3
B230103005168
Hose
4
60030416
Hose 1SN25-DKOL45-SFL90-1000-V180Q/SY1102
5
10263816
Right trailing chain seat hose board RSC45.2.3.30
6
A820199003370
Oil suction flange RSC45.2.3-17
7
A210204000162
Screw
8
A820199003371
Transitional block RSC45.2.3-18
9
A210609000185
O-ring, fluororubber, 20x2.65 GB3452.1-92
10
B210780000244
FLANGE - HALF
11
A210609000045
O-ring 30x3.55GB3452.1
12
A210204000354
Screw
13
A820203002556
Flange RSC45.2.3-16
14
B230101000482
O-ring 18.72x2.62AS568-116
15
A210204000162
Screw
16
B210780000316
Pipe joint GE18LM18x1.5EDOMDA3C
17
B230103003394
Hose 2SN8-DKOL-DKOL90-7000Q/SY1102
18
10263822
Left trailing chain seat hose board RSC45.2.3.31
19
23001224
Hose 2SN16-DKOL-DKOL90-5500Q/SY1102
20
B230103005525
Hose 2SN16-DKOL-DKOL90-6200Q/SY1102
21
A222100000281
Oil return filter QU-A100x10P
22
A210111000090
Bolt
23
A210401000017
Washer
24
A820501004250
Joint body RSC45.2.3-6
25
A210434000018
Washer
26
B230103002039
Hose
27
B230103005168
Hose
28
10266030
Assembly of large accumulator RSC45.2.3.32
29
B210780000016
Connector, hose, EL12LOMDA3C
30
B210770000084
Connector, pressure measuring
Содержащиеся в справочниках-каталогах запасные части и детали не предлагаются к продаже, а носят исключительно информационный характер
Дополнительная информация
×
Название:
Номер:
Примечание: