Каталог запасных частей к технике: SANY RSC45C. 10397319 Radiating & Braking system RSC45M.2.3
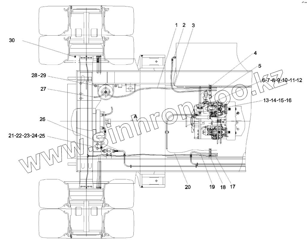
1
2
3
4
5
6
7
8
9
10
11
12
13
14
15
16
17
18
19
20
21
22
23
24
25
26
27
28
29
30
| Позиция на иллюстрации | Заводской номер детали | Название детали | |
|---|---|---|---|
| 1 | B230103003338 | Hose 2SN10-DKOL-7500Q/SY1102 | |
| 2 | B230103008137 | Hose 2SN10-DKOL-DKOL90-7000Q/SY1102 | |
| 3 | B230103005168 | Hose | |
| 4 | 60030416 | Hose 1SN25-DKOL45-SFL90-1000-V180Q/SY1102 | |
| 5 | 10263816 | Right trailing chain seat hose board RSC45.2.3.30 | |
| 6 | A820199003370 | Oil suction flange RSC45.2.3-17 | |
| 7 | A210204000162 | Screw | |
| 8 | A820199003371 | Transitional block RSC45.2.3-18 | |
| 9 | A210609000185 | O-ring, fluororubber, 20x2.65 GB3452.1-92 | |
| 10 | B210780000244 | FLANGE - HALF | |
| 11 | A210609000045 | O-ring 30x3.55GB3452.1 | |
| 12 | A210204000354 | Screw | |
| 13 | A820203002556 | Flange RSC45.2.3-16 | |
| 14 | B230101000482 | O-ring 18.72x2.62AS568-116 | |
| 15 | A210204000162 | Screw | |
| 16 | B210780000316 | Pipe joint GE18LM18x1.5EDOMDA3C | |
| 17 | B230103003394 | Hose 2SN8-DKOL-DKOL90-7000Q/SY1102 | |
| 18 | 10263822 | Left trailing chain seat hose board RSC45.2.3.31 | |
| 19 | 23001224 | Hose 2SN16-DKOL-DKOL90-5500Q/SY1102 | |
| 20 | B230103005525 | Hose 2SN16-DKOL-DKOL90-6200Q/SY1102 | |
| 21 | A222100000281 | Oil return filter QU-A100x10P | |
| 22 | A210111000090 | Bolt | |
| 23 | A210401000017 | Washer | |
| 24 | A820501004250 | Joint body RSC45.2.3-6 | |
| 25 | A210434000018 | Washer | |
| 26 | B230103002039 | Hose | |
| 27 | B230103005168 | Hose | |
| 28 | 10266030 | Assembly of large accumulator RSC45.2.3.32 | |
| 29 | B210780000016 | Connector, hose, EL12LOMDA3C | |
| 30 | B210770000084 | Connector, pressure measuring |
Содержащиеся в справочниках-каталогах запасные части и детали не предлагаются к продаже, а носят исключительно информационный характер