Вернуться на главную
Поиск
Каталоги запчастей к технике
Спецтехника
RM-Terex
TLB-815
Рукоять
Каталог запасных частей к технике: RM-Terex TLB-815. Рукоять
zoom-in
zoom-out
enlarge
shrink
circle-right
circle-left
file-text2
info
cart
Тип техники
Не выбрано
Легковые автомобили
Грузовые автомобили и прицепы
Автобусы
Сельхозтехника
Спецтехника
Двигатели
Мототехника
Марка
Не выбрано
Ammann
BOMAG
CARMIX
CASE IH
Changlin
ChengGong
Dimex
Doosan
DYNAPAC
Foton
HAMM
Hidromek
Hitachi
Hyundai
JCB
JLG
John Deere
Komatsu
LIEBHERR
LiuGong
Lonking (LongGong)
Luneng
MANITOU
Mitsuber
New Holland
PENGPU
RM-Terex
SANY
SDLG
SEM
Shantui
Shehwa HBXG
Soosan
TIGARBO
VOGELE
Volvo
WAY
WIRTGEN
XCMG
XGMA
Xiamen
YTO
Yuchai
Zoomlion
Автокран
АЗСМ
Алтайлесмаш
Амкодор
АОМЗ
Атек
АТЗ
Балканкар Рекорд
БелАЗ
Беловеж
Борекс
Брянский Арсенал
Булат
ВЭКС
ГАЗ
Геомаш
Гидромаш
Донекс
Дормаш
Дормашина
Дорэлектромаш
ДЭЗ
ЕлАЗ
ЗЗГТ
Ижнефтемаш
Канаш-электрокар
КЗКТ
ККЗ
Клевер
Клинцовский автокрановый завод
КМЗ
КМЗ 1 Мая
Ковровец
Коммаш
Кранэкс
КЭЗ
КЭМЗ
ЛЗА
МАЗ
МЗИК
МЗКМ
МЗКТ
Михневский РМЗ
МоАЗ
Мозырский МЗ
МТЗ
ОЗП
Онежец
ПАО "ТЗА"
ППС Детва
Промтрактор
ПТЗ
Раскат
СпецАгрегат
ТВЭКС
ТТМ
УВЗ
Угличмаш
УЗТМ
ХТЗ
ЧЗКМ
ЧСДМ
ЧТЗ
ЭКСКО
ЭКСМАШ
ЮрМаш
Модель
Не выбрано
CD TFC45LX hc SIDER (2013)
RT35-1 (2018)
TC-29 (2014)
TC-48 (2013)
TC-50 (2013)
TC35 (2015)
TL-260 (2009)
TL-310 (2013)
TLB-815 (2010)
TLB-825 (2018)
TLB-840 (2010)
TLB-890 (часть 1) (2013)
TLB-890 (часть 2) (2013)
TLB-990 Tier 3 (2013)
TLB840SM, TLB840PM (2013)
Схема
>
Не выбрано
Кабина - корпус, стекла
Кабина - дверь
Кабина - заднее окно
Кабина - внешняя крыша
Кабина - внутренняя крыша
Кабина - установка кабины
Кабина - пластина пола
Кабина - Ящик для инструмента
Омыватель переднего стекла
Передний пульт
Передний пульт - Выключатель вперед, назад
Передний пульт - приборная панель
Передний пульт - Блок выключателей
Пульт боковой - Приборная панель, блок выключателей
Установка сиденья
Шасси, боковое смещение
Капот двигателя, белый
Аккумуляторный отсек
Задние крылья, 2 Ведущие колеса
Задние крылья - предохранение от грязи
Двигатель
Радиатор, масляный радиатор
Топливный бак
Система всасывания
Система выпуска
Топливная система
Трансмиссия
Установка трансмиссии
Щуп КПП
Установка заднего привода
Установка заднего привода
Установка переднего привода
Насос трансмисси
Сливной фильтр
Коробка, 2 привод колес
Коробка, 4 привод колес
Входной вал, 2 привод колес
Входной вал, 4 привод колес
Обратный и главный вал
Выходной вал КПП задний
Выходной вал КПП задний
Выходной вал КПП передний
Управление скоростью
Управление скоростью
Клапан электрогидравлический
Электрогидравлический привод 4
Рычаг управления
2 ведущих колеса
Корпус, 2 ведущих колеса
Механизм дифференциала, 2 ведущих колеса
Дифференциал, 2 ведущих колеса
Дифференциал, механизм блокировки, 2 ведущих колеса (не применим для заднего моста №1К0160 (374150))
Схема тормоза, 2 ведущих колеса
Тормоза, 2 ведущих колеса
Втулка колеса
Планетарный механизм
Суппорт тормоза
Суппорт тормоза
Задние колеса 2WD/4WD
Пульт управления
Гидрооборудование
2WD гидравлическая схема
2WD гидравлическая схема, цилиндр управления
2WD / 4WD ведущие колеса и колонка
2WD Установка
Корпус, 2 Привод колес
Втулка колеса, 2 Привод колес
Втулка колеса, 2 Привод колес
4WD Machine
4WD Machine
Корпус переднего моста, 4WD Machine
4 Привод колес
Передние колеса 2WD / 4WD Machine
Коническая передача 4WD Machine
Дифференциал 4WD Machine
Ось вала 4WD Machine
Втулка колеса передняя 4WD Machine
Планетарная передача 4WD Machine
Гидравлика - Насос
Гидравлика - Масляный фильтр
Гидроразводка
Бак гидравлический
Компоновка гидрооборудования
Гидрораспределитель 2-х золотниковый WALVOIL
Гидрораспределитель 3-х золотниковый WALVOIL
Гидрораспределитель 6-ти золотниковый WALVOIL
Гидрораспределитель с открытым центром WALVOIL, 2 золотника
Гидрораспределитель с открытым центром WALVOIL, 3 золотника
Гидрораспределитель с открытым центром WALVOIL, 6 золотников
Погрузочное оборудование - погрузчик, рукоять, механический
Погрузочное оборудование - соединения
Погрузочное оборудование - распорка безопасности
Погрузочное оборудование - управление
Погрузочное оборудование - управление 7.1
Погрузочное оборудование - управление
Погрузочное оборудование - управление
Погрузочное оборудование - трубопроводы 3-х золотникового распределителя
Погрузочное оборудование - цилиндр подъема
Гидрооборудование, цилиндр ковша
Гидрооборудование, цилиндр ковша 7 в 1
Механизм самовыравнивания
Механизм самовыравнивания
Погрузочный ковш, стандарт
Установка ковша
Стрела
Рукоять
Механизмы поворота, смещения экскаваторного оборудования
Гидрооборудование экскаваторное - компоненты поворота
Гидрооборудование экскаваторное
Шасси, cтабилизаторы
Гидрооборудование экскаваторное - cтабилизаторы
Гидрооборудование экскаваторное - зажим
Управление стабилизаторами
Управление экскаваторным оборудованием
Гидрооборудование экскаваторное - стрела
Гидрооборудование экскаваторное - ковш погрузочный
Гидрооборудование экскаваторное - ковш экскаваторный
Ковш экскаваторный, соединение
Ковш экскаваторный, стандартный
Трос стояночного тормоза
Трос блокировки стрелы
Трос дросселирования
Цилиндр управления
Цилиндр управления
Цилиндр подъема
Цилиндр наклона ковша
Поворотная ось экскаватора, цилиндр поворота диаметр 55
Поворотная ось экскаватора, цилиндр поворота диаметр 45
Цилиндр стабилизатора
Цилиндр стрелы
Цилиндр погрузочного ковша
Цилиндр ковша
7 in 1 Цилиндр ковша
Телескопическая рукоять - установка
Телескопическая рукоять - гидрооборудование
Телескопическая рукоять - рычаг управления
Зеркало заднего вида
Ковш экскаваторный
Зуб ковша в сборе
Электрооборудование шасси
Электрооборудование - Пульт боковой, блок предохранителей
Кабель батареи
Передние фары освещения
Заднее освещение M/c до No. 3081
Заднее освещение M/c с No. 3082
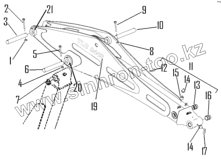
1
2
3
4
5
6
6
7
8
9
10
11
11
12
13
14
14
15
16
17
19
19
19
20
21
Позиция на иллюстрации
Заводской номер детали
Название детали
1
1440329X1
Гайка
2
3501289М1
Винт
3
1В0287
Ось
4
1440329X1
Гайка
5
3501289М1
Винт
6
1В0287
Ось
6
1В0441
Палец соединительный
7
3501027М1
Шайба
8
1440329X1
Гайка
9
3501289М1
Винт
10
3522694М2
Ось
11
1В0284
Рукоять в сборе. Серая
11
10X1778
Рукоять в сборе. Белая
12
Рукоять
Рукоять
13
1В0432
Втулка
14
339608X1
Масленка
15
3504012М1
Переходник пресс-масленки 59.5
16
1В0432
Втулка
17
3516180М2
Крышка
18
1TL0006M1
Наклейка
19
1TL0003M1
Наклейка
19
1L0060
Наклейка
19
1L0064
Наклейка
20
1В0232
Бобышка
21
1В0233
Бобышка
22
1L0061
Наклейка
23
1L0062
Наклейка
Содержащиеся в справочниках-каталогах запасные части и детали не предлагаются к продаже, а носят исключительно информационный характер
Дополнительная информация
×
Название:
Номер:
Примечание: