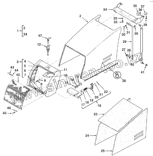
Каталог запасных частей к технике: RM-Terex TLB-815. Капот двигателя, белый
1
2
2
3
4
5
6
7
8
9
10
11
12
13
14
15
16
17
18
19
20
21
22
23
24
25
26
27
28
29
30
31
32
33
34
35
35
36
37
38
39
40
41
42
43
44
45
46
47
| Позиция на иллюстрации | Заводской номер детали | Название детали | |
|---|---|---|---|
| 1 | 6109918M91 | Капот в сборе, белый | |
| 2 | 6107887M91 | Капот в сборе | |
| 3 | 6101058M92 | Передняя часть капота | |
| 4 | NOSE | Передняя часть | |
| 5 | 6101246M1 | Гайка | |
| 6 | 6100785M1 | Вставка | |
| 7 | 6102674M2 | Фиксатор капота | |
| 8 | 339804X1 | Болт | |
| 9 | 390971X1 | Шайба | |
| 10 | 1440329X1 | Гайка | |
| 11 | 6108647M1 | Болт замка капота | |
| 12 | 6108646M91 | Замок капота | |
| 13 | 339124X1 | Болт | |
| 14 | 339374X1 | Шайба | |
| 15 | 390972X1 | Шайба | |
| 16 | 6100960M92 | Фиксатор в сборе, предохранитель капота | |
| 17 | #BRACKET | Кронштейн | |
| 18 | 6101529M1 | Распорная втулка | |
| 19 | 3521090M3 | Пружина кручения | |
| 20 | 6106050M91 | Фиксатор, предохранитель | |
| 21 | 390972X1 | Шайба | |
| 22 | 1440522X1 | Стопорное кольцо | |
| 23 | 6101175M2 | Панель шумоизоляции верхняя | |
| 24 | 6101176M1 | Панель шумоизоляции верхняя левая | |
| 25 | 6101177M1 | Панель шумоизоляции верхняя, правая | |
| 26 | 6101241M1 | Уплотнение капота | |
| 27 | 339124X1 | Болт | |
| 28 | 385361X1 | Шайба | |
| 29 | 6102023M1 | Упор | |
| 30 | 394367X1 | Гайка | |
| 31 | 385361X1 | Шайба | |
| 32 | 339124X1 | Болт | |
| 33 | 390972X1 | Шайба | |
| 34 | 6102084М91 | Опора газового цилиндра | |
| 35 | 6102086М1 | Петля упора | |
| 36 | 1441664X1 | Шайба | |
| 37 | 1462583М1 | Зажим пластины | |
| 38 | 339229X1 | Болт | |
| 39 | 394367X1 | Гайка | |
| 40 | 6111404М91 | Газовый упор | |
| 41 | 394367Х | Гайка | |
| 42 | 6101133М91 | Решетка | |
| 43 | 391884X1 | Болт | |
| 44 | 391038X1 | Шайба | |
| 45 | 339560X1 | Винт | |
| 46 | 391038X1 | Шайба | |
| 47 | 6107891М1 | Ключ, многоцелевой |
Содержащиеся в справочниках-каталогах запасные части и детали не предлагаются к продаже, а носят исключительно информационный характер