Вернуться на главную
Поиск
Каталоги запчастей к технике
Спецтехника
RM-Terex
TC-29
Engine-Cooling System
Каталог запасных частей к технике: RM-Terex TC-29. Engine-Cooling System
zoom-in
zoom-out
enlarge
shrink
circle-right
circle-left
file-text2
info
cart
Тип техники
Не выбрано
Легковые автомобили
Грузовые автомобили и прицепы
Автобусы
Сельхозтехника
Спецтехника
Двигатели
Мототехника
Марка
Не выбрано
Ammann
BOMAG
CARMIX
CASE IH
Changlin
ChengGong
Dimex
Doosan
DYNAPAC
Foton
HAMM
Hidromek
Hitachi
Hyundai
JCB
JLG
John Deere
Komatsu
LIEBHERR
LiuGong
Lonking (LongGong)
Luneng
MANITOU
Mitsuber
New Holland
PENGPU
RM-Terex
SANY
SDLG
SEM
Shantui
Shehwa HBXG
Soosan
TIGARBO
VOGELE
Volvo
WAY
WIRTGEN
XCMG
XGMA
Xiamen
YTO
Yuchai
Zoomlion
Автокран
АЗСМ
Алтайлесмаш
Амкодор
АОМЗ
Атек
АТЗ
Балканкар Рекорд
БелАЗ
Беловеж
Борекс
Брянский Арсенал
Булат
ВЭКС
ГАЗ
Геомаш
Гидромаш
Донекс
Дормаш
Дормашина
Дорэлектромаш
ДЭЗ
ЕлАЗ
ЗЗГТ
Ижнефтемаш
Канаш-электрокар
КЗКТ
ККЗ
Клевер
Клинцовский автокрановый завод
КМЗ
КМЗ 1 Мая
Ковровец
Коммаш
Кранэкс
КЭЗ
КЭМЗ
ЛЗА
МАЗ
МЗИК
МЗКМ
МЗКТ
Михневский РМЗ
МоАЗ
Мозырский МЗ
МТЗ
ОЗП
Онежец
ПАО "ТЗА"
ППС Детва
Промтрактор
ПТЗ
Раскат
СпецАгрегат
ТВЭКС
ТТМ
УВЗ
Угличмаш
УЗТМ
ХТЗ
ЧЗКМ
ЧСДМ
ЧТЗ
ЭКСКО
ЭКСМАШ
ЮрМаш
Модель
Не выбрано
CD TFC45LX hc SIDER (2013)
RT35-1 (2018)
TC-29 (2014)
TC-48 (2013)
TC-50 (2013)
TC35 (2015)
TL-260 (2009)
TL-310 (2013)
TLB-815 (2010)
TLB-825 (2018)
TLB-840 (2010)
TLB-890 (часть 1) (2013)
TLB-890 (часть 2) (2013)
TLB-990 Tier 3 (2013)
TLB840SM, TLB840PM (2013)
Схема
>
Не выбрано
Inspection Parts
Undercarriage, Dozer Blade
Slew Equipment
Undercarriage
Oil Tank
Diesel tank
Operator's Cab - Glasses, Mounting Parts
Operator's Cab - Equipment
Operator's Cab - Equipment, Electric Install.
Cover, Driver’s Seat
Cover, Engine Cover
Valve Control Mechanic
Cover Set - Uppercarriage
Cab’s Roof, Working Flood Light
Tools With Device For Handling By Crane
Operator's Seat Fsp010 - Fsp050
Operator's Seat Msg20
Operator's Seat - Msg85
Operator's Seat - Suspension Msg85
Operator's Seat With Spinal Support Msg 85 5305661733
Operator's Seat With Spinal Support Msg 85 - Suspension 5305661733
Undercarriage, Travel Drive
King Post
Working Equipment
Quick Mount Hitch
Bucket, Ditch Cleaning Bucket Triga Quickly Releasable 250, 300 Mm
Bucket, Ditch Cleaning Bucket Triga Quickly Releasable Lehnhoff Ms03
Slew Bucket - Quickly Releasable 1000, 1200 Mm
Grab Suspension With Hydraulic Installation Type Gl1
Bucket, Ditch Cleaning Bucket - Direct Mounted
Slew Bucket- Direct Mounted 1000 Mm
Hydraulic Hammer With Hydraulic Installation
Ouick Mount Hitch Ms03
Motoreinbau, Pumpenanbau
Luftfilter, Auspuff, Olkuhler
Gas, Heizung
Engine-Starter, Alternator, Glow Plug,Switch Assy
Engine-Cooling System
Engine-Exhaust, Inlet, Oil Pan, Flywheel
Engine-Filter, Rocker Cover, Reservoir
Engine-Crankcase, Timing Gear Case
Motor- Oelpumpe, Saugleitung, Einspritzduese
Engine-Fuel System
Engine-Governor, Injection Pump
Refilling Pump
Hydraulikinstallation - Umlauf
Hydraulikinstallation - Vorsteuerung
Hydraulic Installation - Drive
Hydraulic Installation - Slewing, Articulation
Hydraulikinstallation - Arbeitseinrichtung
Hydraulic Installation - Add. Outlet
Hydraulic Installation - Pressureless Return Line – Left
Hydraulic Installation - Change Over Iso/Sae
Hydraulic Installation - Load Control Valve Working Equipment
Hydraulic Installation – Travel Motions Alarm
Hydraulic Installation – Vorsteuer. Zusatzsteuerkreis - Proportional
Swimming Position Dozer
Valve Bank Sx12
Remote Control 0101-0859
Remote Control 0860-Xxxx
Rotary Transfer 5383670003
Displacement Pump
Slew Drive
Traveling Gear
Control Block Proportional
Hydraulic Cylinder – Bucket Z 70/35
Hydraulic Cylinder – Stick Z 70/40
Hydraulic Cylinder – Boom Z 80/40
Hydraulic Cylinder – Articulation Z 80/40
Hydraulic Cylinder - Dozer Blade Z 90/40
Electrical Installation - Instrument Panel
Uppercarriage, Engine
Working Flood Light, Yellow Beacon
Electrical Installation – Proportional Add, Control Loop
Electric Installation – 2nd Additional Circuit Proportional
Electrical Installation –Travel Motions Alarm
1
2
3
4
5
6
7
8
9
10
11
12
13
14
Позиция на иллюстрации
Заводской номер детали
Название детали
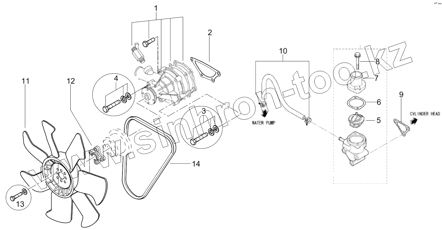
1
5999991185
Water Pump
2
5527665624
Seal
3
5527665625
Bolt
4
5527665411
Bolt
5
5527656842
Thermostat
6
5527656857
Gasket
7
5527665626
Cover
8
5527662595
Bolt With Washer
9
5527658988
Seal
10
5527665414
Hose
11
5527665417
Fan
12
5527662586
Console
13
5527662454
Bolt With Washer
14
5527662776
Fan Belt
Содержащиеся в справочниках-каталогах запасные части и детали не предлагаются к продаже, а носят исключительно информационный характер
Дополнительная информация
×
Название:
Номер:
Примечание: