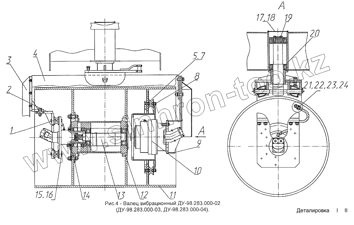
Каталог запасных частей к технике: Раскат ДУ-98. Валец вибрационный ДУ-98.283.000-04
1
2
3
4
5
7
8
9
10
11
12
13
14
15
15
16
16
17
18
19
20
21
22
23
24
| Позиция на иллюстрации | Заводской номер детали | Название детали | |
|---|---|---|---|
| 1 | Д-728-05-50 | Амортизатор | |
| 2 | ДУ-98.283.020 | Опора | |
| 3 | ДУ-98.283.050 | Кожух | |
| 4 | ДУ-98.283.040 | Вилка | |
| 5 | ДМ-20.03.001-10 | Болт | |
| 7 | ДМ-20.03.001-10 | Болт | |
| 8 | ДУ-63.103.347 | Шайба | |
| 9 | ДУ-84.187.136 | Футорка | |
| 10 | ДУ-63.114.002 | Штуцер | |
| 11 | ДУ-63.114.037 | Гайка | |
| 12 | ДУ-63.114.038 | Заглушка | |
| 13 | ДУ-63.126.015-05 | Гайка | |
| 14 | ДМ-31.05.000-08 | Планетарный редуктор | |
| 15 | ДМ-20.03.001-06 | Болт | |
| 15 | ДУ-98.283.010 | Опора | |
| 16 | ДУ-98.283.083 | Кольцо разрезное | |
| 16 | ДУ-63.103.348 | Шайба | |
| 17 | ДУ-63.103.048 | Крышка | |
| 18 | ДУ-63.103.049 | Прокладка | |
| 19 | ДМ-20.01.001-11 | Болт | |
| 20 | [Подшипник 7524АГ ГОСТ27365] | Подшипник 7524АГ ГОСТ27365 | |
| 21 | ДУ-63.114.002 | Штуцер | |
| 22 | ДУ-63.114.037 | Гайка | |
| 23 | ДУ-63.114.038 | Заглушка | |
| 24 | ДУ-63.126.015-05 | Гайка |
Содержащиеся в справочниках-каталогах запасные части и детали не предлагаются к продаже, а носят исключительно информационный характер