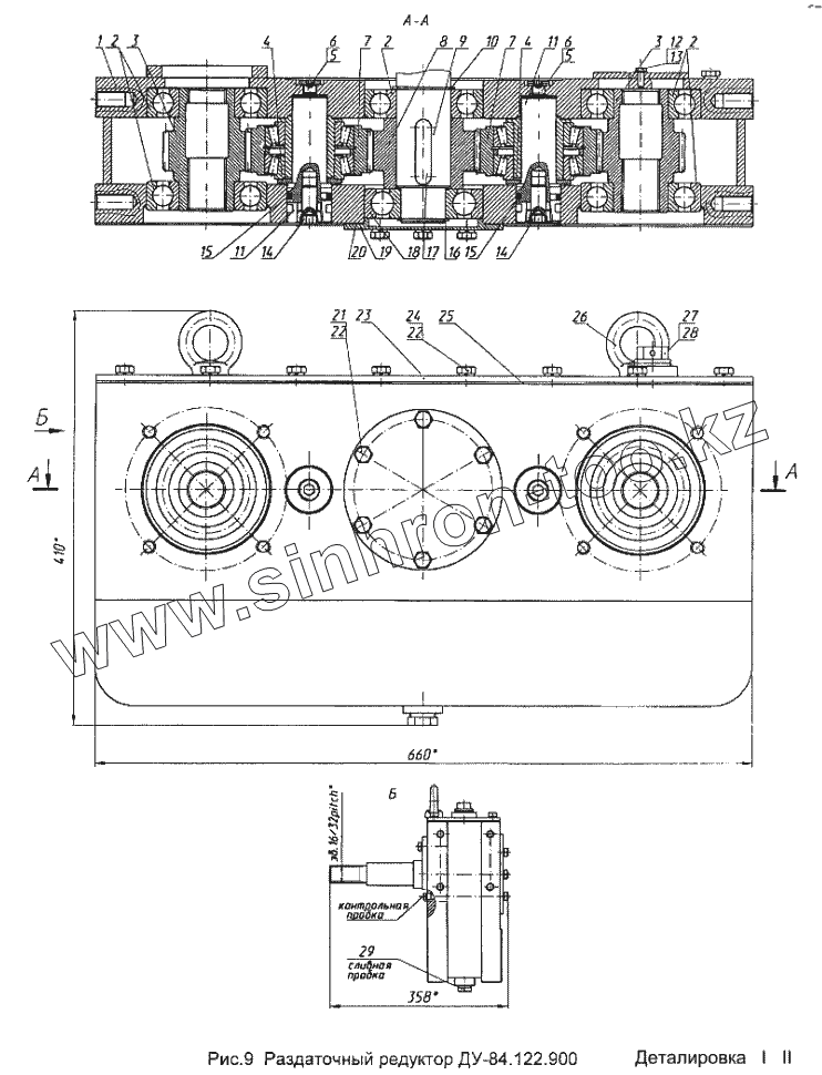
Каталог запасных частей к технике: Раскат ДУ-84. Раздаточный редуктор ДУ-84.122.900
1
2
2
2
3
3
4
4
5
5
6
6
7
7
8
9
10
11
11
12
13
14
14
15
15
16
17
18
19
20
21
22
22
23
24
25
26
27
28
29
| Позиция на иллюстрации | Заводской номер детали | Название детали | |
|---|---|---|---|
| 1 | ДУ-84.122.293 | Корпус | |
| 2 | [Подшипник 311 ГОСТ8338] | Подшипник 311 ГОСТ8338 | |
| 3 | ДУ-84.122.236 | Шестерня | |
| 4 | ДУ-84.122.239 | Кольцо | |
| 5 | Д-262М-0713-2 | Прокладка | |
| 6 | ДМ-56.12.011 | Пробка М14х1,5 | |
| 7 | ДУ-84.122.930 | Шестерня | |
| 8 | ДУ-84.122.237 | Шестерня | |
| 9 | ДУ-84.122.249 | Вал | |
| 10 | ДМ-05.01.001-07 | Кольцо В55 | |
| 11 | ДУ-84.122.234 | Ось | |
| 12 | ДМ-55.01.016 | Болт | |
| 13 | ДУ-63.128.017 | Прокладка | |
| 14 | ДМ-56.12.009 | Пробка К1/2" | |
| 15 | Д-262-0107-6 | Кольцо уплотнительное | |
| 16 | ДМ-05.01.001-05 | Кольцо В45 | |
| 17 | ДМ-03.00.001-13 | Шпонка 14х66 | |
| 18 | [Подшипник 409 ГОСТ8338-75] | Подшипник 409 ГОСТ8338-75 | |
| 19 | ДУ-63.125.037 | Крышка | |
| 20 | ДУ-63.125.012 | Прокладка | |
| 21 | [Болт М10-8gх20.58.019 ГОСТ7798] | Болт М10-8gх20.58.019 ГОСТ7798 | |
| 22 | [Шайба 10.65Г.0121 ГОСТ6402] | Шайба 10.65Г.0121 ГОСТ6402 | |
| 23 | ДУ-58А.01.21.520 | Крышка | |
| 24 | [Болт М10-8gх25.58.019 ГОСТ7798] | Болт М10-8gх25.58.019 ГОСТ7798 | |
| 25 | ДУ-63.125.014 | Прокладка | |
| 26 | ДМ-15.00.001-02 | Рым-болт М16 | |
| 27 | Д-262-1400-33 | Пробка | |
| 28 | Д-262-1400-34 | Прокладка | |
| 29 | ДМ-19.01.001 | Пробка К1/4" |
Содержащиеся в справочниках-каталогах запасные части и детали не предлагаются к продаже, а носят исключительно информационный характер